makita DGA700 Cordless Angle Grinder

SPECIFICATIONS
| Model: | DGA700 | DGA900 |
| Wheel diameter | 180mm | 230mm |
| Max. wheel thickness | 7.2mm | 6.5mm |
| Spindle thread | M14 or M16 or 5/8″ (country-specific) | |
| Rated speed (n) | 7,800min–1 | 6,000min–1 |
| Overall length | 499mm | |
| Rated voltage | D.C.36 V | |
| Battery cartridge | BL1815N, BL1820, BL1820B, BL1830, BL1830B, BL1840, BL1840B, BL1850, BL1850B, BL1860B | |
| Net weight | 5.0 – 6.0 kg | 5.2 – 8.0 kg |
- Due to our continuing program of research and development, the specifications herein are subject to change without notice.
- Specifications and battery cartridge may differ from country to country.
- The weight may differ depending on the attachment(s), including the battery cartridge. The lightest and heaviest combinations, according to EPTA-Procedure 01/2014, are shown in the table.
Intended use
The tool is intended for grinding, sanding and cutting of metal and stone materials without the use of water.
Noise
The typical A-weighted noise level determined according to EN60745:
Model DGA700
- Sound pressure level (LpA) : 88 dB(A)
- Sound power level (LWA) : 99 dB (A)
- Uncertainty (K) : 3 dB(A)
Model DGA900
- Sound pressure level (LpA) : 88 dB(A)
- Sound power level (LWA) : 99 dB (A)
- Uncertainty (K) : 3 dB(A)
WARNING: Wear ear protection.
Vibration
The vibration total value (tri-axial vector sum) determined according to EN60745:
Model DGA700
- Work mode: surface grinding with normal side grip
- Vibration emission (ah, AG) : 7.5 m/s2
- Uncertainty (K) : 1.5 m/s2
- Work mode: surface grinding with anti-vibration side grip
- Vibration emission (ah, AG) : 7.5 m/s2
- Uncertainty (K) : 1.5 m/s2
- Work mode: disc sanding with normal side grip
- Vibration emission (ah, DS) : 2.5 m/s2 or less
- Uncertainty (K) : 1.5 m/s2
- Work mode: disc sanding with anti-vibration side grip
- Vibration emission (ah, DS) : 2.5 m/s2 or less
- Uncertainty (K) : 1.5 m/s2
Model DGA900
- Work mode: surface grinding with normal side grip
- Vibration emission (ah, AG) : 7.0 m/s2
- Uncertainty (K) : 1.5 m/s2
- Work mode: surface grinding with anti vibration side grip
- Vibration emission (ah, AG) : 7.5 m/s2
- Uncertainty (K) : 1.5 m/s2
- Work mode: disc sanding with normal side grip
- Vibration emission (ah, DS) : 2.5 m/s2 or less
- Uncertainty (K) : 1.5 m/s2
- Work mode: disc sanding with anti vibration side grip
- Vibration emission (ah, DS) : 2.5 m/s2 or less
- Uncertainty (K) : 1.5 m/s2
NOTE:
- The declared vibration emission value has been measured in accordance with the standard test method and may be used for comparing one tool with another.
- The declared vibration emission value may also be used in a preliminary assessment of exposure.
WARNING:
- The vibration emission during actual use of the power tool can differ from the declared mission value depending on the ways in which the tool is used.
- Be sure to identify safety measures to protect the operator that are based on an estimation of exposure in the actual conditions of use (taking account of all parts of the operating cycle such as the times when the tool is switched off and when it is running idle in addition to the trigger time).
- The declared vibration emission value is used for main applications of the power tool.
However if the power tool is used for other applications, the vibration emission value may be different.
EC Declaration of Conformity
For European countries only
The EC declaration of conformity is included as Annex A to this instruction manual.
SAFETY WARNINGS
General power tool safety warnings
WARNING: Read all safety warnings, instructions, illustrations and specifications provided with this power tool. Failure to follow all instructions listed below may result in electric shock, fire and/or serious injury.
Save all warnings and instructions for future reference.
The term “power tool” in the warnings refers to your mains-operated (corded) power tool or battery-operated (cordless) power tool.
Cordless grinder safety warnings
Safety Warnings Common for Grinding, Sanding,
Wire Brushing, or Abrasive Cutting-Off Operations:
- This power tool is intended to function as a grinder, sander, wire brush or cut-off tool. Read all safety warnings, instructions, illustrations and specifications provided with this power tool.
Failure to follow all instructions listed below may result in electric shock, fire and/or serious injury. - Operations such as polishing are not recommended to be performed with this power tool. Operations for which the power tool was not designed may create a hazard and cause personal injury.
- Do not use accessories which are not specifically designed and recommended by the tool manufacturer. Just because the accessory can be attached to your power tool, it does not assure safe operation.
- The rated speed of the accessory must be at least equal to the maximum speed marked on the power tool. Accessories running faster than their rated speed can break and fly apart.
- The outside diameter and the thickness of your accessory must be within the capacity rating of your power tool. Incorrectly sized accessories cannot be adequately guarded or controlled.
- Threaded mounting of accessories must match the grinder spindle thread. For accessories mounted by flanges, the arbour hole of the accessory must fit the locating diameter of the flange. Accessories that do not match the mounting hardware of the power tool will run out of balance, vibrate excessively and may cause loss of control.
- Do not use a damaged accessory. Before each use inspects the accessory such as abrasive wheels for chips and cracks, backing pad for cracks, tear or excess wear, wire brush for loose or cracked wires. If power tool or accessory is dropped, inspect for damage or install an undamaged accessory. After inspecting and installing an accessory, position yourself and bystanders away from the plane of the rotating accessory and run the power tool at maximum no-load speed for one minute. Damaged accessories will normally break apart during this test time.
- Wear personal protective equipment.
Depending on application, use face shield, safety goggles or safety glasses. As appropriate, wear dust mask, hearing protectors, gloves and workshop apron capable of stopping small abrasive or workpiece fragments.
The eye protection must be capable of stopping flying debris generated by various operations.
The dust mask or respirator must be capable of filtrating particles generated by your operation.
Prolonged exposure to high intensity noise may cause hearing loss. - Keep bystanders a safe distance away from work area. Anyone entering the work area must wear personal protective equipment.
Fragments of workpiece or of a broken accessory may fly away and cause injury beyond immediate area of operation - Hold the power tool by insulated gripping surfaces only, when performing an operation where the cutting tool may contact hidden wiring. Contact with a “live” wire will also make exposed metal parts of the power tool “live” and could give the operator an electric shock.
- Never lay the power tool down until the accessory has come to a complete stop. The spinning accessory may grab the surface and pull thepower tool out of your control.
- Do not run the power tool while carrying it at your side. Accidental contact with the spinning accessory could snag your clothing, pulling the accessory into your body.
- Regularly clean the power tool’s air vents. The motor’s fan will draw the dust inside the housing and excessive accumulation of powdered metal may cause electrical hazards.
- Do not operate the power tool near flammable materials. Sparks could ignite these materials.
- Do not use accessories that require liquid coolants. Using water or other liquid coolants may result in electrocution or shock.
Kickback and Related Warnings
Kickback is a sudden reaction to a pinched or snagged rotating wheel, backing pad, brush or any other accessory.
Pinching or snagging causes rapid stalling of the rotating accessory which in turn causes the uncontrolled power tool to be forced in the direction opposite of the accessory’s rotation at the point of the binding.
For example, if an abrasive wheel is snagged or pinched by the workpiece, the edge of the wheel that is entering into the pinch point can dig into the surface of the material causing the wheel to climb out or kick out.
The wheel may either jump toward or away from the operator, depending on direction of the wheel’s movement at the point of pinching. Abrasive wheels may also break under these conditions.
Kickback is the result of power tool misuse and/or incorrect operating procedures or conditions and can be avoided by taking proper precautions as given below.
- Maintain a firm grip on the power tool and position your body and arm to allow you to resist kickback forces. Always use auxiliary handle, if provided, for maximum control over kickback or torque reaction during start-up.
The operator can control torque reactions or kickback forces, if proper precautions are taken. - Never place your hand near the rotating accessory.
Accessory may kickback over your hand. - Do not position your body in the area where power tool will move if kickback occurs. Kickback will propel the tool in direction opposite to the wheel’s movement at the point of snagging.
- Use special care when working corners, sharp edges etc. Avoid bouncing and snagging the accessory. Corners, sharp edges or bouncing have a tendency to snag the rotating accessory and cause loss of control or kickback.
- Do not attach a saw chain woodcarving blade or toothed saw blade. Such blades create frequent kickback and loss of control.
Safety Warnings Specific for Grinding and Abrasive
Cutting-Off Operations:
- Use only wheel types that are recommended for your power tool and the specific guard designed for the selected wheel. Wheels for which the power tool was not designed cannot be adequately guarded and are unsafe.
- The grinding surface of centre depressed wheels must be mounted below the plane of the guard lip. An improperly mounted wheel that projects through the plane of the guard lip cannot be adequately protected.
- The guard must be securely attached to the power tool and positioned for maximum safety, so the least amount of wheel is exposed towards the operator. The guard helps to protect the operator from broken wheel fragments, accidental contact with wheel and sparks that could ignite clothing.
- Wheels must be used only for recommended applications. For example: do not grind with the side of cut-off wheel. Abrasive cut-off wheels are intended for peripheral grinding, side forces applied to these wheels may cause them to shatter.
- Always use undamaged wheel flanges that are of correct size and shape for your selected wheel. Proper wheel flanges support the wheel thus reducing the possibility of wheel breakage.
Flanges for cut-off wheels may be different from grinding wheel flanges. - Do not use worn down wheels from larger power tools. Wheel intended for larger power tool is not suitable for the higher speed of a smaller tool and may burst.
Additional Safety Warnings Specific for Abrasive
Cutting-Off Operations:
- Do not “jam“ the cut-off wheel or apply excessive pressure. Do not attempt to make an excessive depth of cut. Overstressing the wheel increases the loading and susceptibility to twisting or binding of the wheel in the cut and the possibility of kickback or wheel breakage.
- Do not position your body in line with and behind the rotating wheel. When the wheel, at the point of operation, is moving away from your body, the possible kickback may propel the spinning wheel and the power tool directly at you.
- When wheel is binding or when interrupting a cut for any reason, switch off the power tool and hold the power tool motionless until the wheel comes to a complete stop. Never attempt to remove the cut-off wheel from the cut while the wheel is in motion otherwise kickback may occur. Investigate and take corrective action to eliminate the cause of wheel binding.
- Do not restart the cutting operation in the workpiece. Let the wheel reach full speed and carefully re-enter the cut. The wheel may bind, walk up or kickback if the power tool is restarted in the workpiece.
- Support panels or any oversized workpiece to minimize the risk of wheel pinching and kickback.
Large workpieces tend to sag under their own weight. Supports must be placed under the workpiece near the line of cut and near the edge of the workpiece on both sides of the wheel. - Use extra caution when making a “pocket cut” into existing walls or other blind areas. The protruding wheel may cut gas or water pipes, electrical wiring or objects that can cause kickback.
Safety Warnings Specific for Sanding Operations:
- Do not use excessively oversized sanding disc paper. Follow manufacturers recommendations, when selecting sanding paper. Larger sanding paper extending beyond the sanding pad presents a laceration hazard and may cause snagging, tearing of the disc or kickback.
Safety Warnings Specific for Wire Brushing
Operations
- Be aware that wire bristles are thrown by the brush even during ordinary operation. Do not overstress the wires by applying excessive load to the brush. The wire bristles can easily penetrate light clothing and/or skin.
- If the use of a guard is recommended for wire brushing, do not allow any interference of the wire wheel or brush with the guard. Wire wheel or brush may expand in diameter due to work load and centrifugal forces.
Additional Safety Warnings:
- When using depressed centre grinding wheels, be sure to use only fiberglass-reinforced wheels.
- NEVER USE Stone Cup type wheels with this grinder. This grinder is not designed for these types of wheels and the use of such a product may result in serious personal injury.
- Be careful not to damage the spindle, the flange (especially the installing surface) or the lock nut. Damage to these parts could result in wheel breakage.
- Make sure the wheel is not contacting the workpiece before the switch is turned on.
- Before using the tool on an actual workpiece, let it run for a while. Watch for vibration or wobbling that could indicate poor installation or a poorly balanced wheel.
- Use the specified surface of the wheel to perform the grinding.
- Do not leave the tool running. Operate the tool only when hand-held.
- Do not touch the workpiece immediately after operation; it may be extremely hot and could burn your skin.
- Observe the instructions of the manufacturer for correct mounting and use of wheels.
Handle and store wheels with care. - Do not use separate reducing bushings or adaptors to adapt large hole abrasive wheels.
- Use only flanges specified for this tool.
- For tools intended to be fitted with threaded hole wheel, ensure that the thread in the wheel is long enough to accept the spindle length.
- Check that the workpiece is properly supported.
- Pay attention that the wheel continues to rotate after the tool is switched off.
- If working place is extremely hot and humid, or badly polluted by conductive dust, use a short-circuit breaker (30 mA) to assure operator safety.
- Do not use the tool on any materials containing asbestos.
- When use cut-off wheel, always work with the dust collecting wheel guard required by domestic regulation.
- Cutting discs must not be subjected to any lateral pressure.
- Do not use cloth work gloves during operation.
Fibers from cloth gloves may enter the tool, which causes tool breakage.
WARNING: DO NOT let comfort or familiarity with product (gained from repeated use) replace strict adherence to safety rules for the subject product. MISUSE or failure to follow the safety rules stated in this instruction manual may cause serious personal injury.
Important safety instructions for battery cartridge
- Before using battery cartridge, read all instructions and cautionary markings on (1) battery charger, (2) battery, and (3) product using battery.
- Do not disassemble battery cartridge.
- If operating time has become excessively shorter, stop operating immediately. It may result in a risk of overheating, possible burns and even an explosion.
- If electrolyte gets into your eyes, rinse them out with clear water and seek medical attention right away. It may result in loss of your eyesight.
- Do not short the battery cartridge:
- Do not touch the terminals with any conductive material.
- Avoid storing battery cartridge in a container with other metal objects such as nails, coins, etc.
- Do not expose battery cartridge to water or rain.
A battery short can cause a large current flow, overheating, possible burns and even a breakdown.
- Do not store the tool and battery cartridge in locations where the temperature may reach or exceed 50 °C (122 °F).
- Do not incinerate the battery cartridge even if it is severely damaged or is completely worn out. The battery cartridge can explode in a fire.
- Be careful not to drop or strike battery.
- Do not use a damaged battery.
- The contained lithium-ion batteries are subject to the Dangerous Goods Legislation requirements.
For commercial transports e.g. by third parties, forwarding agents, special requirement on packaging and labeling must be observed.
For preparation of the item being shipped, consulting an expert for hazardous material is required.
Please also observe possibly more detailed national regulations.
Tape or mask off open contacts and pack up the battery in such a manner that it cannot move around in the packaging. - Follow your local regulations relating to disposal of battery.
CAUTION: Only use genuine Makita batteries.
Use of non-genuine Makita batteries, or batteries that have been altered, may result in the battery bursting causing fires, personal injury and damage. It will also void the Makita warranty for the Makita tool and charger.
Tips for maintaining maximum battery life
- Charge the battery cartridge before completely discharged. Always stop tool operation and charge the battery cartridge when you notice less tool power.
- Never recharge a fully charged battery cartridge.
Overcharging shortens the battery service life. - Charge the battery cartridge with room temperature at 10 °C – 40 °C (50 °F – 104 °F). Let a hot battery cartridge cool down before charging it.
- Charge the battery cartridge if you do not use it for a long period (more than six months).
FUNCTIONAL DESCRIPTION
CAUTION: Always be sure that the tool is switched off and the battery cartridge is removed before adjusting or checking function on the tool.
Installing or removing battery cartridge
CAUTION:
- Always switch off the tool before installing or removing of the battery cartridge.
- Hold the tool and the battery cartridge firmly when installing or removing battery cartridge.
Failure to hold the tool and the battery cartridge firmly may cause them to slip off your hands and result in damage to the tool and battery cartridge and a personal injury.
Fig.1:
- Red indicator
- Button
- Battery cartridge

To remove the battery cartridge, slide it from the tool while sliding the button on the front of the cartridge.
To install the battery cartridge, align the tongue on the battery cartridge with the groove in the housing and slip it into place. Insert it all the way until it locks in place with a little click. If you can see the red indicator on the upper side of the button, it is not locked completely.
CAUTION:
- Always install the battery cartridge fully until the red indicator cannot be seen. If not, it may accidentally fall out of the tool, causing injury to you or someone around you.
- Do not install the battery cartridge forcibly. If the cartridge does not slide in easily, it is not being inserted correctly.
Indicating the remaining battery capacity
Only for battery cartridges with the indicator
Fig.2:
- Indicator lamps
- Check button
Press the check button on the battery cartridge to indicate the remaining battery capacity. The indicator lamps light up for a few seconds.

NOTE: Depending on the conditions of use and the ambient temperature, the indication may differ slightly from the actual capacity.
Tool / battery protection system
The tool is equipped with a tool/battery protection system.
This system automatically cuts off power to the motor to extend tool and battery life. The tool will automatically stop during operation if the tool or battery is placed under one of the following conditions:
Fig.3:
- Battery indicator

Overload protection
When the tool is operated in a manner that causes it to draw an abnormally high current, the tool automatically stops without any indication. In this situation, turn the tool off and stop the application that caused the tool to become overloaded. Then turn the tool on to restart.
Overheat protection
When the tool or batteries is overheated, the tool stops automatically and the battery indicators blink about 60 seconds. In this situation, let the tool and batteries cool before turning the tool on again.

Overdischarge protection
When either battery’s capacity becomes too low, the tool stops automatically and the battery indicator on its side lights up. In this case, remove the battery from the tool and charge the battery

Shaft lock
Press the shaft lock to prevent spindle rotation when installing or removing accessories.
Fig.4:
- Shaft lock
NOTICE: Never actuate the shaft lock when the spindle is moving. The tool may be damaged.

Switch action
CAUTION:
- Before installing the battery cartridge into the tool, always check to see that the switch lever actuates properly and returns to the “OFF” position when released.
- Do not pull the switch lever hard without pulling the lock-off lever. This can cause switch breakage.
- For your safety, this tool is equipped with lock-off lever which prevents the tool from unintended starting. NEVER use the tool if it runs when you simply pull the switch trigger without pulling the lock-off lever. Return the tool to our authorized service center for proper repairs
BEFORE further usage.
CAUTION: NEVER tape down or defeat purpose and function of lock-off lever.
To prevent the switch lever from being accidentally pulled, a lock-off lever is provided.
To start the tool, fold the lock-off lever and then pull the switch lever.
To stop the tool, release the switch lever.
Fig.5:
- Lock-off lever
- Switch lever

Automatic speed change function
Fig.6:
- Mode indicator


This tool has “high speed mode” and “high torque mode”. It automatically changes operation mode depending on the work load. When mode indicator lights up during operation, the tool is in high torque mode.
Accidental re-start preventive function
Even if installing the battery cartridge while pulling the switch lever, the tool does not start.
To start the tool, first release the switch lever. Then pull the lock-off lever, and pull the switch lever.
Electronic torque control function
The tool electronically detects situations where the wheel or accessory may be at risk to be bound. In the situation, the tool is automatically shut off to prevent further rotation of the spindle (it does not prevent kickback).
To restart the tool, switch off the tool first, remove the cause of sudden drop in the rotation speed, and then turn the tool on.
Soft start feature
Soft start feature reduces starting reaction.
Electric brake
Electric brake is activated after the tool is switched off.
The brake does not work when the power supply is shut down, such as the battery is removed accidentally, with the switch still on.
ASSEMBLY
CAUTION: Always be sure that the tool is switched off and the battery cartridge is removed before adjusting or checking function on the tool.
Installing side grip (handle)
CAUTION: Always be sure that the side grip is installed securely before operation.
Screw the side grip securely on the position of the tool as shown in the figure.
Fig.7

Installing or removing wheel guard
(For depressed center wheel, flap disc, flex wheel, wire wheel brush / abrasive cut-off wheel, diamond wheel)
WARNING:
- When using a depressed center wheel, flap disc, flex wheel or wire wheel brush, the wheel guard must be fitted on the tool so that the closed side of the guard always points toward the operator.
- When using an abrasive cut-off/ diamond wheel, be sure to use only the special wheel guard designed for use with cut-off wheels.
(In some European countries, when using a diamond wheel, the ordinary guard can be used. Follow the regulations in your country.)
For tool with locking screw type wheel guard
Mount the wheel guard with the protrusions on the wheel guard band aligned with the notches on the bearing box. Then rotate the wheel guard to such an angle that it can protect the operator according to work. Be sure to tighten the screw securely.
To remove wheel guard, follow the installation procedure in reverse.
Fig.8:
- Wheel guard
- Bearing box
- Screw

For tool with clamp lever type wheel guard
Loosen the nut, and then pull the lever in the direction of the arrow.
Fig.9:
- Nut
- Lever

Mount the wheel guard with the protrusions on the wheel guard band aligned with the notches on the bearing box. Then rotate the wheel guard to such an angle that it can protect the operator according to work.
Fig.10:
- Wheel guard
- Bearing box

Fig.11:
- Wheel guard

Close the lever in direction of the arrow. Then tighten the wheel guard with fastening the nut. Be sure to tighten the nut securely. The setting angle of the wheel guard can be adjusted by opening the lever.
Fig.12:
- Lever
- Nut

To remove wheel guard, follow the installation procedure in reverse.
Installing or removing depressed center wheel or flap disc
Optional accessory
WARNING: When using a depressed center wheel or flap disc, the wheel guard must be fitted on the tool so that the closed side of the guard always points toward the operator.
CAUTION: Make sure that the mounting part of the inner flange fits into the inner diameter of the depressed center wheel / flap disc perfectly.
Mounting the inner flange on the wrong side may result in the dangerous vibration.
Mount the inner flange onto the spindle.
Make sure to fit the dented part of the inner flange onto the straight part at the bottom of the spindle.
Fit the wheel/ disc on the inner flange and screw the lock nut with its protrusion facing downward (facing towards the wheel).
Fig.13:
- Lock nut
- Depressed center wheel
- Inner flange
- Mounting part

To tighten the lock nut, press the shaft lock firmly so that the spindle cannot revolve, then use the lock nut wrench and securely tighten clockwise.
Fig.14:
- Lock nut wrench
- Shaft lock
To remove the wheel, follow the installation procedure in reverse.

Installing or removing flex wheel
Optional accessory
WARNING: Always use supplied guard when flex wheel is on tool. Wheel can shatter during use and guard helps to reduce chances of personal injury.
Fig.15:
- Lock nut
- Flex wheel
- Back up pad
- Inner flange

Follow instructions for depressed center wheel but also use back up pad over wheel. See order of assembly on accessories page in this manual.
Installing or removing abrasive disc
Optional accessory
Fig.16:
- Sanding lock nut
- Abrasive disc
- Rubber pad

- Mount the rubber pad onto the spindle.
- Fit the disc on the rubber pad and screw the sanding lock nut onto the spindle.
- Hold the spindle with the shaft lock, and securely tighten the sanding lock nut clockwise with the lock nut wrench.
To remove the disc, follow the installation procedure in reverse.
NOTE: Use sander accessories specified in this manual. These must be purchased separately.
OPERATION
WARNING:
- It should never be necessary to force the tool. The weight of the tool applies adequate pressure. Forcing and excessive pressure could cause dangerous wheel breakage.
- ALWAYS replace wheel if tool is dropped while grinding.
- NEVER bang or hit grinding disc or wheel onto work.
- Avoid bouncing and snagging the wheel, especially when working corners, sharp edges etc. This can cause loss of control and kickback.
- NEVER use tool with wood cutting blades and other saw blades. Such blades when used on a grinder frequently kick and cause loss of control leading to personal injury.
CAUTION:
- Never switch on the tool when it is in contact with the workpiece, it may cause an injury to operator.
- Always wear safety goggles or a face shield during operation.
- After operation, always switch off the tool and wait until the wheel has come to a complete stop before putting the tool down.
- ALWAYS hold the tool firmly with one hand on housing and the other on the side grip (handle).
Grinding and sanding operation
Fig.17

Turn the tool on and then apply the wheel or disc to the workpiece.
In general, keep the edge of the wheel or disc at an angle of about 15° to the workpiece surface.
During the break-in period with a new wheel, do not work the grinder in forward direction or it may cut into the workpiece. Once the edge of the wheel has been rounded off by use, the wheel may be worked in both forward and backward direction.
Operation with abrasive cut-off /diamond wheel
Optional accessory
WARNING:
- When using an abrasive cut-off/diamond wheel, be sure to use only the special wheel guard designed for use with cut-off wheels.
(In some European countries, when using a diamond wheel, the ordinary guard can be used. Follow the regulations in your country.) - NEVER use cut-off wheel for side grinding.
- Do not “jam” the wheel or apply excessive pressure. Do not attempt to make an excessive depth of cut. Overstressing the wheel increases the loading and susceptibility to twisting or binding of the wheel in the cut and the possibility of kickback, wheel breakage and overheating of the motor may occur.
- Do not start the cutting operation in the workpiece. Let the wheel reach full speed and carefully enter into the cut moving the tool forward over the workpiece surface. The wheel may bind, walk up or kickback if the power tool is started in the workpiece.
- During cutting operations, never change the angle of the wheel. Placing side pressure on the cut-off wheel (as in grinding) will cause the wheel to crack and break, causing serious personal injury.
- A diamond wheel shall be operated perpendicular to the material being cut.
Mount the inner flange onto the spindle.
Fit the wheel/disc on the inner flange and screw the lock nut onto the spindle.
Fig.18:
- Lock nut
- Abrasive cut-off wheel / diamond wheel
- Inner flange
- Wheel guard for abrasive cut-off wheel/diamond wheel

For Australia and New Zealand
Fig.19:
- Lock nut
- Outer flange 78
- Abrasive cut-off wheel/diamond wheel
- Inner flange 78
- Wheel guard for abrasive cutoff wheel / diamond wheel

Operation with wire cup brush
Optional accessory
CAUTION: Check operation of brush by running tool with no load, insuring that no one is in front of or in line with brush.
CAUTION: Do not use brush that is damaged, or which is out of balance. Use of damaged brush could increase potential for injury from contact with broken brush wires.
Fig.20:
- Wire cup brush

Remove the battery cartridge and place the tool upside down allowing easy access to spindle.
Remove any accessories on spindle. Thread wire cup brush onto spindle and tighten with supplied wrench.
NOTICE: Avoid applying too much pressure which causes over bending of wires when using brush. It may lead to premature breakage.
Operation with wire wheel brush
Optional accessory
CAUTION:
- Check operation of wire wheel brush by running tool with no load, insuring that no one is in front of or in line with the wire wheel brush.
- Do not use wire wheel brush that is damaged, or which is out of balance. Use of damaged wire wheel brush could increase potential for injury from contact with broken wires.
- ALWAYS use guard with wire wheel brushes, assuring diameter of wheel fits inside guard. Wheel can shatter during use and guard helps to reduce chances of personal injury.
Fig.21:
- Wire wheel brush

Remove the battery cartridge and place the tool upside down allowing easy access to spindle.
Remove any accessories on spindle. Thread wire wheel brush onto spindle and tighten with the wrenches.
NOTICE: Avoid applying too much pressure which causes over bending of wires when using wire wheel brush. It may lead to premature breakage.
MAINTENANCE
CAUTION: Always be sure that the tool is switched off and the battery cartridge is removed before attempting to perform inspection or maintenance.
NOTICE: Never use gasoline, benzine, thinner, alcohol or the like. Discoloration, deformation or cracks may result.
Battery guard
WARNING: Do not remove the battery guard. Do not use the tool with the battery guard removed or damaged. Direct impact to the battery cartridge may cause battery malfunction and result in injury and/or fire. If the battery guard is deformed or damaged, contact your authorized service center for repairs.
Fig.22:
- Battery guard
- Battery guard holder

Air vent cleaning
The tool and its air vents have to be kept clean.
Regularly clean the tool’s air vents or whenever the vents start to become obstructed.
Fig.23:
- Exhaust vent
- Inhalation vent

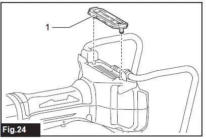
Remove the dust cover from inhalation vent and clean it for smooth air circulation.
Fig.24:
- Dust cover

NOTICE: Clean out the dust cover when it is clogged with dust or foreign matters. Continuing operation with a clogged dust cover may damage the tool.
To maintain product SAFETY and RELIABILITY, repairs, any other maintenance or adjustment should be performed by Makita Authorized or Factory Service Centers, always using Makita replacement parts.
OPTIONAL ACCESSORIES
CAUTION: These accessories or attachments are recommended for use with your Makita tool specified in this manual. The use of any other accessories or attachments might present a risk of injury to persons.
Only use accessory or attachment for its stated purpose.
If you need any assistance for more details regarding these accessories, ask your local Makita Service Center.
- Makita genuine battery and charger
Fig.25

| 1 | Side grip |
| 2 | Wheel guard for depressed center wheel / flap disc / wire wheel brush |
| 3 | Inner flange *1 |
| 4 | Depressed center wheel / Flap disc |
| 5 | Lock nut / Ezynut *1 |
| 6 | Wheel guard for abrasive cut off wheel / diamond wheel *2 |
| 7 | Inner flange 78 (Australia and New Zealand only) *3 |
| 8 | Abrasive cut-off wheel / Diamond wheel |
| 9 | Outer flange 78 (Australia and New Zealand only) *3 |
| 10 | Rubber pad |
| 11 | Abrasive disc |
| 12 | Sanding lock nut |
| 13 | Wire wheel brush |
| 14 | Wire cup brush |
| – | Lock nut wrench |
| – | Dust cover attachment |
NOTE:
- Only for tools with M14 spindle thread.
- In some European countries, when using a diamond wheel, the ordinary guard can be used instead of the special guard covering the both side of the wheel. Follow the regulations in your country.
- Use Inner flange 78 and Outer flange 78 together. (Australia and New Zealand only)
- Some items in the list may be included in the tool package as standard accessories. They may differ from country to country.
Makita Corporation
3-11-8, Sumiyoshi-cho,
Anjo, Aichi 446-8502 Japan





















