Assembly and Operating Instructions
AUSTRALIA / NEW ZEALAND
RANGEHOOD
BRC214SA
CONGRATULATIONS
Thank you for purchasing a BeefEater cooker hood.
You’ve chosen a product that brings with it decades of professional experience and innovation. Ingenious and stylish, it has been designed with you in mind. So whenever you use it, you can be safe in the knowledge that you’ll get great results every time.
Welcome to BeefEater.
BEFORE USING YOUR APPLIANCE
Before you use the cooker hood, we recommend that you read through the relevant sections of this manual, which provides the description of your appliance and its functions.
To avoid the risks that are always present when you use an appliance, it is important that the appliance is installed correctly and that you read the safety instructions carefully to avoid misuse and hazards.
We recommend that you keep this instruction booklet for future reference and pass it on to any future owners.
After unpacking the appliance please check it is not damaged. If in doubt, do not use the appliance but contact your local customer care center.
CONDITIONS OF USE
This appliance is intended to be used in household and similar applications such as:
- Staff kitchen areas in shops, offices, and other working environments
- Farmhouses
- By clients in hotels, motels, and other residential type environments
- Bed and breakfast type environments.
IMPORTANT!
Check for any damages or marks.
If you find the cooker hood is damaged or marked, you must report it within 7 days if you wish to claim for damage/marks under the manufacturer’s warranty.
This does not affect your statutory rights.
Record model and serial number here:
Model:————————
Serial No:———————–
SYMBOLS
WARNING!
This symbol indicates information concerning your
personal safety.
CAUTION!
This symbol indicates information on how to avoid
damaging the appliance.
IMPORTANT!
This symbol indicates tips and information about the use of the appliance.
ENVIRONMENT!
This symbol indicates tips and information about
the economical and ecological use of the appliance.
INFORMATION ON DISPOSAL FOR USERS
ENVIRONMENT!
Most of the packing materials are recyclable. Please dispose of those materials marked with the recycle symbol
through your local recycling depot or by placing them in appropriate collection containers.
If you wish to discard this product, please contact your local authorities and ask for the correct method of disposal.
IMPORTANT SAFETY INSTRUCTIONS
IMPORTANT INFORMATION THAT MAY
IMPACT YOUR MANUFACTURER’S WARRANTY
Adherence to the directions for use in this manual is extremely important for health and safety. Failure to strictly adhere to the requirements in this manual may result in personal injury, property damage and affect your ability to make a claim under the Beefeater
manufacturer’s warranty provided with your product. Products must be used, installed, and operated in accordance with this manual. You may not be able to claim on the Beefeater manufacturer’s warranty in the event that your product fault is due to failure to adhere to this manual.
This manual explains the proper use of your new BeefEater canopy cooker hood. Please read this manual carefully before using the product. This manual should be kept in a safe place for handy reference.
This cooker hood is a domestic appliance that has been manufactured and tested to comply with Australian and New Zealand Standard AS/NZS 60335.2.31
WARNING!
Follow these instructions carefully to avoid an electric shock or fire.
- This appliance can be used by children aged from 8 years and above and persons with reduced physical, sensory or mental capabilities or lack of experience and knowledge if they have been given supervision or instruction concerning the use of the appliance in a safe way and understand the hazards involved.
Children shall not play with the appliance. - Cleaning and user maintenance shall not be made by children without supervision.
- Ensure the canopy rangehood is switched off before carrying out maintenance, to avoid any possibility of electric shock.
- Do not flambé under the rangehood. (Fig. 2)
- This canopy rangehood is recommended for barbecues when installed according to AS/NZS5601.
- This canopy rangehood can be installed for outdoor use if in a sheltered location that protects the appliance from the weather.
- The rangehood air must not be discharged into a flue that is used for exhausting fumes from appliances burning gas or other fuels. (Fig. 1)
- Exhaust air must not be discharged into a wall cavity unless the cavity is designed for the purpose.
- There must be adequate ventilation of the room when the canopy rangehood is used at the same time as appliances burning gas or other fuels.
- Always cover lit gas burners with pots or pans when the canopy range hood is in use.
- Always switch off gas burners before you remove pots or pans.
- Do not leave lit gas burners exposed due to the risk of fire. (Fig. 2)
- There is a fire risk if cleaning is not carried out in accordance with the instructions.
WARNING!
Accessible parts may become hot when used with cooking appliances.
ELECTRICAL CONNECTION
Check that the mains voltage matches with the voltage on the data plate inside the canopy cooker hood. Check that the installation complies with the standards of local building, gas, and electrical authorities. Before connecting to the mains supply ensure that the mains voltage corresponds to the voltage on the rating plate inside the cooker hood.
If the supply cord is damaged, it must be replaced by the manufacturer or its service agent, or a similarly qualified person in order to avoid a hazard.
SAFETY WARNINGS – FOR THE INSTALLER
When installing the cooker hood, make sure you adhere to the minimum and maximum distances from the cooker hood base to the hob or barbecue surface (as per the table in the “Installation” section).
EXHAUST FLUE INSTALLATION
The following rules must be strictly followed to obtain optimal air extraction.
- Keep exhaust flue short and straight
- Do not reduce the size or restrict exhaust flue
- Keep bends in the exhaust flue to a minimum
- When using flexible flue always install a duct with helix pulled taut to minimize pressure loss
- Failure to observe these basic instructions will drastically reduce the performance and increase the noise levels of the cooker hood.
NOTE: Some installations may require the exhaust cover to be cut to length. If required, cut with sharp tin snips or a fine-tooth hack saw blade, taking care not to distort or dent the exhaust cover.

PRODUCT DESCRIPTION

Components list
| PART | ||
| 1 | Ceiling mount bracket | 1 |
| 2 | Upper flue cover | 1 1427mm1 |
| 3 | Lower flue cover | 1 1500mm1 |
| 4 | Wall bracket | 1 |
| 5 | Air outlet with non-return valve | 2 |
| 6 | Main body and fan housing assembly | 2 fans |
| 7 | Grease filters | 6 |
| 8 | Remote controller | 1 |
Technical Specification
- Power supply: 220~240 volts 50Hz
Connects to 10A powerpoint - Motors: 2 x 240 watts
- Lights: 4 x 3 watt, 12 volts LED
Additional items required for installation
- Worm drive clamps, duct tape, or cable ties
- Ducting accessories
COOKER HOOD INSTALLATION
Dimensions

| MODEL | WIDTH | HEIGHT | DEPTH | WEIGHT |
| BRC214SA | 1200mm | 780~1077mm | 730mm | 50.2kg |
COOKER HOOD INSTALLATION
- Using a spirit level mark a vertical center line on the wall where the cooker hood is to be positioned, and a horizontal line at the hood base position.
NOTE: See the table below for the minimum and maximum height of the underside of the cooker hood.COOKER TYPE INSTALL
CLASSMIN HEIGHT*
(mm)MAX HEIGHT*
(mlElectric hob Indoor 600 1200 Gas hob Indoor 650 1200 Gas BBQ** Indoor 1350 1350 Gas BM** Quasi indoor 1200 1350 Gas BBQ** Outdoor 1200 1350
* If the instructions of the cooker specify a greater distance than the minimum height stated, then that shall be the minimum height for the installation
** Installation height as specified in AS/NZS5601.1 and/or the local authority Regulations - Mark the location for flue cover wall mounting brackets and cooker hood mounting points and anti-tilt fixing points above the hood base using the hood base as the reference points.

WARNING!
Failure to install the screws or fixing the device in accordance with these instructions may result in electrical hazards. - Install flue cover wall mounting brackets with suitable fixings. Install suitable screws for cooker hood mounting points (to support a total weight of 55kg) to the wall as marked.

- Remove protective plastic film, if present, from the hood body and hang it on the wall bracket. Install the two anti-tilt fasteners.

WARNING!
Heavy product (51kg) – use a mechanical lifter or at least two persons. - Use cable ties or suitable duct tape to secure flexible pipe to the duct outlet.

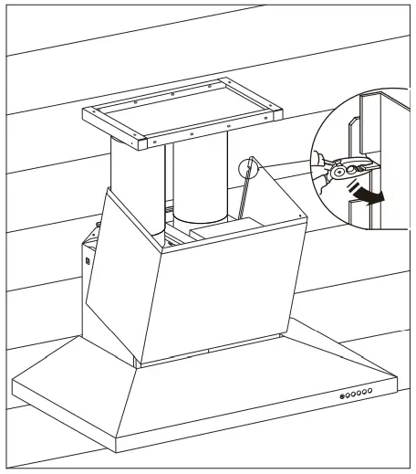
- The cooker hood can control the gas supply by controlling the solenoid valve. Unscrew those 4 screws to open the cover of the connection box.

- Connect the wire as the following picture shows, then close the box cover and fix it with screws.
Circuit connection for gas solenoid valve:
CAUTION!
The connection for the solenoid must be carried out by a qualified person in order to avoid a hazard.
Ensure the installation complies with the regulations of the local authorities.
Note: Supply power for the solenoid must equal the rated requirements of the specific solenoid used for the application.
Example:
14V-DC solenoid requires (14V-OC power supply input) 240V-AC solenoid requires (240V-AC power supply Input) Refer to the wiring diagram for solenoid wring information on page14 - Insert the power cord to a power outlet.

- Ensure the locking tab of the lower flue cover is bent before installing covers.

- Slide telescopic flue cover to upper position and fix with screws provided.

USING THE COOKER HOOD
Control operation

- Lamp on/off
- Delay end
- Speed 1
- Speed 2
- Speed 3
- Speed 4 (maximum)
You can also use the remote controller to control the cooker hood. The control method is the same. Before using the remote controller, please install the battery.
Speeds
Speed 1: Suitable for light frying and light barbecuing.
Speed 2: Suitable for frying, wok cooking, and barbecuing.
Speed 3: Suitable for intensive frying, intensive wok cooking, and barbecuing.
Speed 4: Suitable for very smoky cooking and/or to clear smoke from an area that has a build-up of smoke.
Turning on/off the lamp
Press button
to turn on the lamp, press
once again to turn off the lamp.
Turning on/off the fan
Press any fan level button to turn on the relative fan level.
Press once again to turn off the fan. Or press another fan level button to change the fan level.
Delay end
When the cooker hood is working at any fan level, press the button
to activate the delay end function and the button
will begin to flash. After 5 min, The cooker hood will be off automatically. Press this button once again will deactivate the delay end function.
NOTE: The delay end function is only for the fan motor.
You need to turn off the lamp manually.
Filter check
When the motor on time reaches 50 hours, the lamp control button will flash when the cooker hood is on. press and hold the lamp control button for 2 sec to stop the flashing and reset the time counter.
WARNING!
The cooker hood is not intended for continuous use over barbecues with lit burners, without cooking in progress.

Unscrew the locking screw.

Pull the battery bracket backward.

Insert the battery (battery type: Cr2032), then fix the battery bracket with the screw.
NOTE: The remote controller has an operational range of 3 meters.
WARNING!
This appliance contains a remote control that uses a button battery. Button batteries can be potentially fatal if swallowed, please keep out of reach of children.
MAINTENANCE AND CLEANING
WARNING!
Before maintenance or cleaning is carried out, the cooker hood should be disconnected from the main power supply.
Ensure the cooker hood is switched off at the wall socket and the plug removed.
WARNING!
External surfaces are susceptible to scratches and abrasions, so please follow the cleaning instructions to ensure the best possible result is achieved without damage.
Stainless steel surface
These instructions must be followed to avoid fire risk.
Clean stainless steel surfaces using non-abrasive cleaning products that are specifically for use on stainless steel. To ensure best results also use even pressure and follow the grain of the stainless steel. The use of a soft cloth reduces the risk of scratching. If the cloth is wet ensure that a dry soft cloth is used to wipe down the surface again and then apply a stainless steel protector spray to reduce the risk of any surface rust appearing.
Cleaning grease filters
The filters can be cleaned by hand or dishwasher. After cleaning ensure the filters are completely dry before refitting. Grease filters must be removed every four weeks(maximum) for cleaning to reduce the risk of fire.
- By hand – Soak in warm water and some washing-up liquid. For stubborn grease stains use a soft nylon brush to help remove those stains.
- In a dishwasher – Ensure that placement of the filters is made so as to not impede the function of the dishwasher spray arm. Washing the filters in a dishwasher may cause discoloration over time although it will not affect their performance. Filters should be washed separately to crockery and other kitchen utensils.
Removing filters
- Lift the filter.

- Pull down the filter lock level and then pull the filter assembly down and out of the hood.
Unscrew all 4 screws on lateral sides, then open the inner filter for cleaning.

Do not use the cooker hood without filters installed.
Do not clean the canopy cooker hood with water using a hose or high-pressure cleaner.
Use both hands for removing and re-fitting the filters to avoid accidentally dropping the filters and causing damage to your cooktop or kitchen surfaces.
Replacing the LED lamps
If the LED lamps need replacing, they must be replaced by lamps, as stated in the technical specification:
| Lamp | ![]() |
| Power (W) | 3 |
| Socket | – |
| Voltage | 12VDC |
| Dimension (mm) | 70 x 20 |
| ILOCOS Code | DSR-3-S-70 |
To purchase replacement lamps, contact an authorized Electrolux service center.
MAINTENANCE / TROUBLESHOOTING
To remove the lamp, ensure the power to the hood has been disconnected. Then use a screwdriver to push the LED lamp assembly out of the hood body.

Unplug the old lamp and then connect the new lamp.
Push the lamp assembly into its location, without trapping the wiring.
Troubleshooting
| PROBLEM | REMEDY |
| The cooker hood will not start | Check that the cooker hood is connected to an electrical supply. Check that a fan speed has been selected. |
| The cooker hood is not working | Check that fan speed is high enough. Check that the grease filters are clean. Check that the kitchen is adequately vented to allow entry of fresh air. Check that ducting and outlets are not blocked. |
| The cooker hood has switched off during operation | The safety device may be tripped – turn off the cooking appliance and wait for the device to reset. If the hood is installed below the heights indicated in the installation instructions, the motor will cut out frequently which will damage the cooker hood. |
| If you have completed all of the above checks and are still experiencing the difficulty, please contact your local Electrolux Service Centre. | |
TYPICAL INSTALLATIONS SHOWING ACCESSORY APPLICATIONS


ACCESSORIES (200mm)

| REF | PART NUMBER | DESCRIPTION |
| 1 | AR200FJ | 200mm Flue joiner |
| 2 | AR200E | 200mm 90 Elbow |
| 3 | AR200WV | 200mm Wall vent |
| 4 | AR200WC | 200mm Worm drive clamp |
| 5 | AR200FD | 200mm Semi-rigid flexible flue (0.7m min & 3.0m max length) |
| 6 | AR200F | 200mm Flue (length 1200mm) |
| 7 | AR200RC | 200mm Roof cowl |
| 8 | AR630FS | Upper flue cover extension (1200mm) |
NOTE: Accessories are to be purchased separately.
CIRCUIT DIAGRAM

Warranty
FOR SALES IN AUSTRALIA AND NEW ZEALAND
APPLIANCE: BEEFEATER RANGEHOODS
This document sets out the terms and conditions of the product warranties for BeefEater Appliances. It is an important document.
Please keep it with your proof of purchase documents in a safe place for future reference should there be a manufacturing defect in your Appliance. This warranty is in addition to other rights you may have under the Australian Consumer Law.
- In this warranty:
(a) ‘ACL’ or ‘Australian Consumer Law’ means Schedule 2 to the Competition and Consumer Act 2010;
(b) ‘Appliance’ means any Electrolux product purchased by you and accompanied by this document;
(c) ‘ASC’ means Electrolux’s authorized serviced centers;
(d) ‘BeefEater’ is the brand controlled by Electrolux Home Products Pty Ltd of 163 O’Riordan Street, Mascot NSW 2020, ABN 51 004 762 341 in respect of Appliances purchased in Australia and Electrolux (NZ) Limited (collectively “Electrolux”) of 3-5 Niall Burgess Road, MountWellington, in respect of Appliances purchased in New Zealand;
(e) ‘Warranty Period’ means the period specified in clause 3 of this warranty;
(f) ‘you’ means the purchaser of the Appliance not having purchased the Appliance for re-sale, and ‘your’ has a corresponding meaning. - Application: This warranty only applies to new Appliances, purchased and used in Australia or New Zealand and is in addition to (and does not exclude, restrict, or modify in any way) other rights and remedies under a law to which the Appliances or services relate, including any nonexcludable statutory guarantees in Australia and New Zealand.
- Warranty Period: Subject to these terms and conditions, this warranty continues for in Australia for a period of 24 months and in New Zealand for a period of 24 months, following the date of original purchase of the Appliance.
- Repair or replace warranty: During the Warranty Period, Electrolux or its ASC will, at no extra charge if your Appliance is readily accessible for service, without special equipment and subject to these terms and conditions, repair or replace any parts which it considers to be defective.
Electrolux may, in its absolute discretion, choose whether the remedy offered for a valid warranty claim is repair or replacement. Electrolux or its ASC may use refurbished parts to repair your Appliance. You agree that any replaced Appliances or parts become the property of Electrolux. - Travel and transportation costs: Subject to clause 7, Electrolux will bear the reasonable cost of transportation, travel, and delivery of the Appliance to and from Electrolux or its ASC. Travel and transportation will be arranged by Electrolux as part of any valid arranty claim.
- Proof of purchase is required before you can make a claim under this warranty.
- Exclusions: You may not make a claim under this warranty unless the defect claimed is due to faulty or defective parts or workmanship. This warranty does not cover:
(a) light globes, batteries, filters, or similar perishable parts;
(b) parts and Appliances not supplied by Electrolux;
(c) cosmetic damage which does not affect the operation of the Appliance;
(d) damage to the Appliance caused by:
(i) negligence or accident;
(ii) misuse or abuse, including failure to properly maintain or service;
(iii) improper, negligent or faulty servicing or repair works done by anyone other than an Electrolux authorized repairer or ASC;
(iv) normal wear and tear;
(v) power surges, electrical storm damage, or incorrect power supply;
(vi) incomplete or improper installation;
(vii) incorrect, improper or inappropriate operation;
(viii) insect or vermin infestation;
(ix) failure to comply with any additional instructions supplied with the Appliance;
In addition, Electrolux is not liable under this warranty if:
(a) the Appliance has been, or Electrolux reasonably believes that The appliance has been, used for purposes other than those for which the Appliance was intended, including where the Appliance has been used for any non-domestic purpose;
(b) the Appliance is modified without authority from Electrolux in writing;
(c) the Appliance’s serial number or warranty seal has been removed or defaced - How to claim under this warranty: To enquire about claiming under this warranty, please follow these steps:
(a) carefully check the operating instructions, user manual, and the terms of this warranty;
(b) have the model and serial number of the Appliance available;
(c) have the proof of purchase (e.g. an invoice) available;
(d) telephone the numbers are shown below. - Australia: For Appliances and services provided by Electrolux in Australia: Electrolux goods come with guarantees that cannot be
excluded under the Australian Consumer Law. You are entitled to a replacement or refund for a major failure and for compensation for any other reasonably foreseeable loss or damage. You are also entitled to have the Appliance repaired or replaced if the Appliance fails to be of acceptable quality and the failure does not amount to a major failure.
‘Acceptable quality’ and ‘major failure’ have the same meaning as referred to in the ACL. - New Zealand: For Appliances and services provided by Electrolux in New Zealand, the Appliances come with a guarantee by Electrolux pursuant to the provisions of the Consumer Guarantees Act, the Sale of Goods Act, and the Fair Trading Act. Where the Appliance was purchased in New Zealand for commercial purposes the Consumer Guarantee Act does not apply.
- Confidentiality: You accept that if you make a warranty claim, Electrolux and its agents including ASC may exchange information in relation to you to enable Electrolux to meet its obligations under this warranty.
Important Notice
Before calling for service, please ensure that the steps listed in clause 8 above have been followed.
| AUSTRALIA | FOR SERVICE or to fund the address of your nearest authorized service center in Australia PLEASE CALL 1300 307 939 For the cost of a local call | FOR SPARE PARTS or to find the address of your nearest spare parts center h Australia PLEASE CALL 13 13 50 For the oast ol a local call |
| NEW ZEALAND | FOR SERVICE or to fund the address of your nearest authorized service center in New Zealand PLEASE CALL 0800 10 66 10 | FOR SPARE PARTS or to find the address of your nearest spare parts center in New Zealand PLEASE CALL 0800 10 66 20 |
For more information on all BeefEater products, or for dimension and installation information, call your retailer, phone, or email our
customer care team or visit our website:
AUSTRALIA
phone: 1300 307 939
fax: 1800 356 669
email: [email protected]
web: beefeaterbbq.com
NEW ZEALAND
phone: 0800 436 245
fax: 0800 225 088
email: [email protected]
web: beefeaterbbq.com
BeefEater. We are part of the Electrolux Family.
To add a touch of professional inspiration to your home, visit electrolux.com.au
© 2020 Electrolux Home Products Pty Ltd
ABN 51 004 762 341
BMAN_Rangehood_RC_BRC214SA_Nov20
* If the instructions of the cooker specify a greater distance than the minimum height stated, then that shall be the minimum height for the installation




Circuit connection for gas solenoid valve:




Unscrew all 4 screws on lateral sides, then open the inner filter for cleaning.
















