YAMAHA CS-500 Video Conference System

Introduction
Thank you for purchasing the Yamaha CS-500. This product is a video conferencing device equipped with a camera and microphones. It can be set up for use in huddle spaces and meeting rooms. Combine it with a TV, speakers and video conferencing software (computer) for comfortable teleconferencing.
Available Manuals
The manuals for this product can be downloaded in the PDF format from the following website.
- Yamaha website (Downloads)
https://download.yamaha.com/ - CS-500 Quick Guide (this manual, included)
This provides mainly basic information for using this product, such as part names, installation procedures, and setup operations, as well as details on where to obtain other related information.
About this Manual
This manual uses the following signal words for important information.
| WARNING | This content indicates “risk of serious injury or death.” |
| CAUTION | This content indicates “risk of injury.” |
| NOTICE | Indicates content that you must observe in order to prevent the product from malfunctioning, being damaged, or operating incorrectly, and to avoid data loss. |
| IMPORTANT | Indicates content that you must know in order to operate and use the product correctly. |
| NOTE | Indicates information that is related to operation and use. Read this for your reference. |
- The illustrations as shown in this manual are for instructional purposes only.
- The company names and product names in this manual are the trademarks or registered trademarks of their respective companies.
- Yamaha continuously makes improvements and updates to the software included in this product. You can download the latest software from the Yamaha website.
- The contents of this manual apply to the latest specifications as of the publishing date. To obtain the latest manual, access the Yamaha website then download the manual file.
Included items
- CS-500 (device)
- Read this first
- Safety Guide
- Quick Guide
- USB 2.0 cable (Type-C to Type-A, 5 m)
- HDMI cable (2 m)
- Lens cap
- Remote control
- Coin battery (CR2032) × 2
- AC adaptor with power cord (CW2002100)
Separately sold items
- Wall mounting bracket (mounting accessory) BRK-WL1
This is required for installing the device onto a wall. It is also used in combination with monitor mounting bracket BRK-TV1 when installing the device onto a TV. - Monitor mounting bracket (mounting accessory) BRK-TV1
This is used in combination with wall mounting bracket BRK-WL1 when installing the device onto the VESA mount of a TV. - USB cables: CBL-L10AC (10 meters), CBL-L25AC (25 meters)
These are fiber optic USB cables. They are used when the device and computer are far apart. These support USB 3.2 Gen2 (Super Speed Plus) and can communicate at high speeds up to 10 Gbps.
NOTE
The VESA standards are international and define the spacing between screw holes used when attaching video equipment, such as TVs, to wall mounts and TV stands.
Available utility software
Utility software can be used to set up the device according to its use and environment. The software can be downloaded from the following website.
- Yamaha website (Downloads)
https://download.yamaha.com/ - Yamaha CS Manager
This is software that allows you to configure and operate the device from your computer. For details, refer to the CS-500 User Guide.
Updating the device firmware
This product is designed to allow the firmware of the device to be updated in order to improve operability, add functions and fix problems. We recommend updating the firmware to the latest version.
Information on updating the firmware is available on the Yamaha website. For details on the updating procedure and device settings, refer to the CS-500 User Guide.
Controls and Connectors
Front Panel

- Microphone
The audio captured by these microphones is delivered to the remote party of a remote connection. - Camera
The video captured by this camera is delivered to the remote party of a remote connection. - Status indicator
Indicates the status of the device. The lower the item in the following list, the higher the priority for indication.
| Indicator state | Device status | |
| White (lit) | Standby | |
| Light blue (lit) | Camera operating | |
| Green (lit) | During a call | |
| Red (lit) | Microphone muted | |
| White (flashing) | 0.361 time/sec | Starting |
| Unlit | Turned off; power-saving standby | |
| White (flashing) | 0.3 time/sec | Monitoring off |
| Orange (flashing) | 1 time/sec | Factory reset; activation of HDMI function/ DisplayLink function/Bluetooth/USB audio |
| Blue (flashing) | 1 time/sec | Pairing with the remote control or smart device |
| Blue (lit) | 3 seconds | Completion notification of remote control pairing |
| Green (flashing) | 2 times/sec | Receiving a call |
| Red (flashing) | 2.5 times/sec | Hardware error |
Rear Panel

- [DC-IN] jack
This jack is for connecting the AC adaptor. After connecting the AC adaptor to the [DC-IN] jack on the rear panel, insert the power plug into an electrical outlet. Connecting the AC adaptor automatically turns on the device. - [FUNCTION] button
Can be used to pair the device with the remote control or to return the device to its factory default settings. - [3.5 mm audio output] jack
This jack is for connecting this device to speakers, headphones, etc. - [USB] port (Type-C)
This port is for connecting the device to a computer.
This enables displaying the computer screen on the TV and configuring the device. Use the included USB 2.0 cable (Type-C to Type-A) for this connection. For details on connecting this device, refer to “Connecting devices” in this manual. - [HDMI] port
This port is for connecting the device to a TV. This allows the TV to display the screen of the computer connected to the [USB] port and the device’s on-screen display menu.
Remote Control

- Menu button
Can be used to display the on-screen display menu (page 21) on the TV or pair the device with the remote control (page 18). - Power button
Used to turn on/off the CS-500. - Camera zoom button
Used to enlarge/reduce (zoom in/out) the video being captured. - Pan/tilt button
Used to adjust the camera angle horizontally/vertically. It can also be used for smart framing operations or moving the cursor in the on-screen display menu displayed on the TV. - Camera preset 1 & 2 buttons
Two sets of PTZ (pan, tilt and zoom) settings can be saved and recalled. Long-press (for 2 seconds) this button to save the settings adjusted with buttons 3 and 4. To recall, simply press the button. - Smart framing button
Used to turn on/off the smart framing function. - Speaker volume buttons
Used to turn up/down the volume of the speakers. - Microphone mute button
Used to turn on/off the microphone.
i Camera preset
This device can save two sets of camera settings, i.e., PTZ (pan/tilt/zoom) values.
To save/change the values, use the remote control, on-screen display menu (page 21) or Yamaha CS Manager (refer to the User Guide).
ii Smart framing function
With this function, the camera follows the subject according to the mode. Select the appropriate mode depending on the use.
[Group]: Frames all persons in the group
[Speaker Tracking]: Frames the person who is speaking
[Individual]: Frames a specific person
To change the smart framing mode, use the remote control, on-screen display menu (page 21) or Yamaha CS Manager (refer to the User Guide).
[Remote control operation]
- Use button 6 to turn on smart framing.
- Use the tilt (up/down) button 4 to change the smart framing mode.
- With the [Individual] mode, use the pan (left/right) button 4 to select the person to be focused on.
- With the [Group] mode, the camera zoom button 3 is deactivated.
Setup and Connections
Installing the Device
- When installing on a TV
This device can be placed directly on top of a TV.- Flip open the stand on the bottom of the device, and then hook it on the top of the TV.

- Adjust the camera orientation (up or down) by changing the camera’s angle to the stand.
CAUTION- When installing on a TV, make sure that the device is no more than 2 meters from the ground. When installing the device at a location more than 2 meters from the ground, be sure to use a bracket to secure it to the TV.
- If the device falls, injuries or damage may result.
- Flip open the stand on the bottom of the device, and then hook it on the top of the TV.
- When mounting to a TV
This device can be mounted to a TV by using the wall mounting bracket and monitor mounting bracket (VESA) (both sold separately).
When mounting the device to a TV, prepare the following.
Wall mounting bracket BRK-WL1 (sold separately)
Monitor mounting bracket (VESA) BRK-TV1 (sold separately)
WARNING- Be sure to have the mounting bracket installed by the dealer where you purchased the product or a professional contractor.
- After installation, make sure that the CS-500 is firmly secured. Also, regularly check that there is no possibility of the device falling or tipping over. We cannot be held responsible for accidents caused by incorrect installation.
- After installation, do not lean against the CS-500 or apply a strong force to it from above. If the device falls, injuries or damage may result.
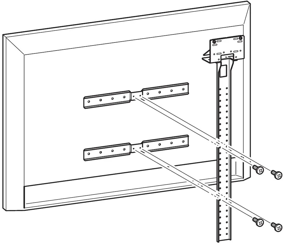
This is an example of an installation that uses the screw holes in the TV and a TV stand.
- Attach the monitor mounting bracket (vertical), monitor mounting bracket (for mounting onto wall mounting bracket) and the wall mounting bracket using the screws included with them.

- Attach the two monitor mounting brackets (horizontal) to the TV by using the included screws.

- Attach the brackets assembled in step 1 to the brackets installed in step 2.
IMPORTANT: Choose the appropriate mounting position for the TV. - Attach to a TV stand.
IMPORTANT: Depending on the configuration of the TV stand, also tightly secure the spacers included with monitor mounting bracket BRK-TV1 (sold separately). - Place the device on the wall mounting bracket from step 4, and then, from the underside, secure with the included screw.

- Adjust the camera orientation (up or down) by changing the camera’s angle to the stand.
- When mounting on a wall
This device can be mounted to a wall by using the wall mounting bracket (sold separately). When mounting the device to a wall, prepare the following.
Wall mounting bracket BRK-WL1 (sold separately)
WARNING
- Be sure to have the mounting bracket installed by the dealer where you purchased the product or a professional contractor.
- After installation, make sure that the CS-500 is firmly secured. Also, regularly check that there is no possibility of the device falling or tipping over. We cannot be held responsible for accidents caused by incorrect installation.
- After installation, do not lean against the CS-500 or apply a strong force to it from above. If the device falls, injuries or damage may result.
- Attach the wall mounting bracket to the wall.
IMPORTANT- Screws for attaching the wall mounting bracket to the wall are not included. Prepare screws that are strong enough.
- For details on screws and the installation, be sure to contact the dealer where you purchased the product or a professional contractor.
- Secure the device to the bracket from step 1.
Place the device on the bracket from step 1. From the underside, secure the device to the wall mounting bracket by using the included screw.
- Adjust the camera orientation (up or down) by changing the camera’s angle to the stand.
Connecting Devices
- Sample setups
This device can be connected as shown in the example below. For video conferences, a computer connected to the Internet can be used simply by connecting it to the device with a USB cable.
Use this connection method to output audio from the TV speakers.
- Connect one end of the included HDMI cable to the [HDMI] port on the device, and connect the other end to the TV.
- Connect the Type-C plug of the included USB cable to the [USB] port on the device, and connect the Type-A plug to the computer.
NOTE
- Be sure to first follow the procedure in “Activating HDMI function/DisplayLink function/Bluetooth/USB audio”.
- In order to display the computer screen on a TV, it may be necessary to install the DisplayLink® driver.
Outputting audio from analog audio speakers/headphones
This device is equipped with a 3.5 mm audio output jack. Connect either headphones or speakers with a built-in amplifier to output the audio of the other party in a video conference.
- When used as webcam
In order to be used only as a webcam for a video conference system, this device can be connected as shown in the example below.
- Connect the Type-C plug of the included USB cable to the [USB] port on the device, and connect the Type-A plug to the computer.
- Connect one end of the included HDMI cable to the computer, and connect the other end to the TV.
- Connect the speakerphone to the computer.
NOTE
When used only as a webcam, the following device features are not used.
- On-screen display menu
- USB audio
- DisplayLink
- Bluetooth
- Wi-Fi
Connecting the Power Supply
Connect one end of the included AC adaptor to the [DC-IN] jack on the device, and connect the other end to an electrical outlet.

Connecting the AC adaptor automatically turns on the device.
After the power supply has been connected, the device can be turned on/off with the remote control.
Inserting/Replacing the Remote Control Batteries
Before inserting the included batteries (CR2032 × 2) into the remote control, remove the bottom panel and battery cover. To replace the batteries, remove the old ones and install new ones (sold separately).

IMPORTANT
- When replacing the batteries, be sure to use the specified type (CR-2032).
- Dispose of used batteries according to the local regulations.
Pairing the Device and Remote Control
In order to operate the device with the remote control, follow the procedure below to pair them.
- Long-press the [FUNCTION] button (on the rear panel of the device) for at least 2 seconds.
The status indicator on the front panel of the device flashes in blue. - Long-press the menu button on the remote control for at least 2 seconds.
Pairing is finished after the status indicator on the front panel of the device lights up in blue for 3 seconds.
NOTE
Long-pressing the [FUNCTION] button on the rear panel of the device will unpair the paired remote control. To pair the remote control again, follow the pairing procedure above.
Related links
- Remote control
- Activating HDMI function/DisplayLink function/Bluetooth/USB audio
- Configuring the device from a TV screen (on-screen display menu)
Making Necessary Initial Settings
- Activating HDMI function/DisplayLink function/Bluetooth/USB audio
In order to use this device, activate the functions as described below. Be sure to follow the procedure below before using this device.
NOTE
- Before performing the following operation, pair the device and remote control.
- When this device is used as a webcam, (page 16), this operation is not necessary.
- Long-press the menu button and camera preset 2 button on the remote control for at least 3 seconds.
Configuration is finished after the status indicator on the front panel of the device flashes in orange five times at a 0.5-second interval.
- Installing the DisplayLink® driver onto your computer
In order to display the computer screen on a TV, it may be necessary to install the DisplayLink driver (DisplayLink Manager on a Mac). If the computer screen is not displayed on the TV, even after checking the following, install the DisplayLink driver.- The device and TV are connected with an HDMI cable.
- The TV input is correctly set.
- The display settings of the computer are set to “duplicate” or “extend” the display.
- The operation described in “Activating HDMI function/DisplayLink function/Bluetooth/USB audio” has been performed.
- DisplayLink has been activated in Yamaha CS Manager (refer to the User Guide).
Download the latest DisplayLink driver from the following website.
(The following website is not operated by Yamaha Corporation.)
DisplayLink driver download page
https://displaylink.com/downloads
- Selecting the device on the computer
The audio device in your video conferencing software and on your computer must be set to CS-500.- In the sound settings of your computer, select “Yamaha CS-500” as both the default playback device and recording device.
- In the video conferencing software, select CS-500 as both the video device and audio device.
NOTE
When used only as a webcam, specify settings as described below.
- In the sound settings of your computer, select the speakerphone as both the default playback device and recording device.
- In the video conferencing software, select CS-500 as the video device, and select the speakerphone as the audio device.
The on-screen display menu is a feature that displays the device’s settings menu on a TV screen. It can be operated with the remote control.
NOTE
- This function cannot be used when this device is used as a webcam.
- In order to use this function, first follow the procedure in “Pairing the device and remote control”.
- In order to use this function, first follow the procedure in “Activating HDMI function/DisplayLink function/Bluetooth/USB audio”.
- Press the menu button on the remote control.
The on-screen display menu appears on the TV. - Navigate with the pan/tilt button on the remote control.
Use the pan/tilt button (arrow button) to move the cursor up/down/left/right.
Returning to factory default settings (factory reset)
This device can be returned to its factory default (initial settings) using either of the following methods.
- Initializing using the device
- Initializing using Yamaha CS Manager
Initializing using the device
- Start the device by connecting the power cable while holding down the [FUNCTION] button on the rear panel of the device.

- After connecting the power cable, keep the [FUNCTION] button pressed for at least 5 seconds.
The status indicator on the front panel of the device flashes in orange five times at a 0.5-second interval.
Initialization is finished when the status indicator lights up in white.
Initializing using Yamaha CS Manager
Initialize using the utility software “Yamaha CS Manager”.
For details, refer to the CS-500 User Guide.
Main specifications
| Dimensions | 260 mm (W) × 75 mm (D) × 50 mm (H) | |
| Weight | 0.6 kg | |
| Power supply | 20 V DC/2.1 A, CW2002100 (100 V–240 V, 50 Hz/60 Hz) ![]() | |
| Maximum power consumption | 15.0 W | |
| Temperature | Operating | 0 °C – 40 °C |
| Storage | –20 °C – 60 °C | |
| Humidity | Operating | 20% – 85% (non-condensing) |
| Storage | 20% – 85% (non-condensing) | |
| Included items | CS-500 (device), Read this first, Safety Guide, Quick Guide, USB 2.0 cable (Type-C to Type-A, 5 m), HDMI cable (2 m), lens cap, remote control, coin battery (CR2032) × 2, AC adaptor with power cord (CW2002100) | |
| Separately sold items | Wall mounting bracket (mounting accessory) BRK-WL1 Monitor mounting bracket (mounting accessory) BRK-TV1 Fiber optic USB cables CBL-L10AC & CBL-L25AC | |
Yamaha Global Site
U.S.A. and Canada
https://uc.yamaha.com/
Other Countries
https://www.yamaha.com/
Yamaha Downloads
U.S.A. and Canada
https://uc.yamaha.com/support/
Other Countries
https://download.yamaha.com/
© 2022 Yamaha Corporation
Published 08/2022




IMPORTANT: Choose the appropriate mounting position for the TV.
IMPORTANT: Depending on the configuration of the TV stand, also tightly secure the spacers included with monitor mounting bracket BRK-TV1 (sold separately).
IMPORTANT


The status indicator on the front panel of the device flashes in blue.
Pairing is finished after the status indicator on the front panel of the device lights up in blue for 3 seconds.
Configuration is finished after the status indicator on the front panel of the device flashes in orange five times at a 0.5-second interval.
The on-screen display menu appears on the TV.





![Yamaha Video Sound Collaboration System For Huddle Rooms [cs-700] User Manual Yamaha Video Sound Collaboration System For Huddle Rooms [cs-700] User Manual](https://static-data1.manualsee.com/1/img/166/57375/2021/02/Yamaha-Video-Sound-Collaboration-System-for-Huddle-Rooms-CS-700-User-Manual.jpg)














