4MODERNHOME MX5001-P3WD Collision 3 Light Wood Colored Small Chandelier
Product Information
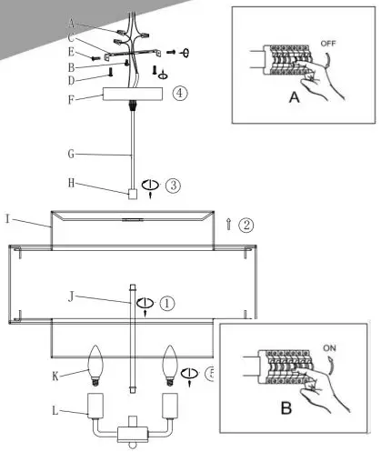
The product is a lamp installation kit that includes wire caps, a green screw, a mounting bracket, junction box screws, canopy screws, a canopy, hanging wire, lockwire iron, lampshade, connecting round pipe, and lamp body. The kit does not include a lamp bulb.
Product Usage Instructions
- Turn off the power before installing the lamp.
- Remove the mounting bracket from the top box and place it on the junction box. Then tighten it with the junction box screw.
- Connect the lamp power cord to the main power cord of the junction box (white to white, black to black).
- Wrap the naked copper ground wire in the junction box around the green screw. Lock the green screw in the tooth hole. Connect the naked copper wire of the lamp and the naked copper wire of the junction box with the terminal.
- Secure the canopy to the mounting plate using the mounting screws.
- Turn on the power in your circuit breaker.
MX5001-P3WD
OPERATIONS MANUAL
Assembly & Installation Instructions
Dear Customer: Thank you for your business! If you have any question or problem, please send us an email to [email protected] or call us at 469-312-6428. We will do everything possible to make you completely satisfied with your purchase. Product reviews help future customers to make their purchase decision. You are encouraged to share your experience by leaving a short product review on the platform where you bought this product. Thank you! Zgear Team
Warning:
If any special control devices are used with this fixture, follow the instructions carefully to assure full compliance with N.E.C. requirements If there are any questions, contact a qualified electric contractor.
Warning:
California Residents Proposition 65 This product contains lead, a chemical known to the state of California to cause cancer and birth defects or other reproductive harm. Do not place the product in your mouth. Wash your hands after handling this product.
Caution:
It is highly recommended to get an electrician to install this light. Please make sure to turn the electricity off at the main circuit breaker before beginning installation. All glass is fragile. Use care when handling glass component(s) and/or lamp(s)

- Please turn off the power before installing the lamp (see fig A).
- Remove the mounting bracket from the top box, then place the mounting bracket on the junction box. Then tighter with the junction box screw.
- Connect the lamp power cord to the main power cord of the junction box (white to white, black to black)
- Wrap the naked copper ground wire in the junction box around the green screw. Lock the green screw in the tooth hole. Connect the naked copper wire of the lamp and the naked copper wire of the junction box with the terminal.
- Secure the canopy to the mounting plate using the mounting screws
- Turn on the power in your circuit breaker (see fig B).
WIRE CONNECTION DIAGRAM
Wires meeting safety standards are required to connect the electrical circuit
CAUTION:
Risk of fire
Please read all instructions carefully. Before you proceed to install, vmake sure that the power supply is turned off and remains off until installation is completed.
PARTS INCLUDED
Code : Part description : QTY
A: Wire caps | 3 |
B: Green screw | 1 |
C: Mounting bracket | 1 |
D: Junction box screw | 2 |
| E: Canopy screw | 2 |
F: Canopy | 1 |
| G: Hanging wire | 1 |
H: Lockwire iron | 1 |
| I: Lampshade | 1 |
J: Connecting round pipe | 1 |
| K: Lamp Bulb | 0 |
L: Lamp body | 1 |



















