
Return Instructions
90-day in-home trial
If you or your cat are not satisfied with Litter-Robot, simply return it fora refund of the purchase price. You only have to pay for return shipping.
- Get an RMA number
We cannot accept your return without an RMA (Return Merchandise Authorization) number. Contact us to obtain an RMA number and let us know if you would like to use Canpar home pickup. WhiskerReturns.com - Clean Litter-Robot
1. Remove all litter from the globe.
2. Remove all waste from the waste drawer.
3. Wipe down the globe and waste drawer to remove dust, debris, etc.
Robots received uncleaned will incur a CA$100 cleaning fee. - Pack Litter-Robot Following the steps below, safely packs Litter-Robot and the power supply in the original 83.82 cm x 60.96 cm x 60.96 cm box (for Litter-Robot 3) and 59.69 cm x 59.69 cm x 78.74 cm box (for Litter-Robot 4).
Note: If you do not have the original packaging, comparable boxes can be purchased at shipping and home supply stores.
How to pack Litter-Robot 3
a. Place Litter-Robot 3 into the box so it faces the corner and aligns with the cardboard insert on the bottom.

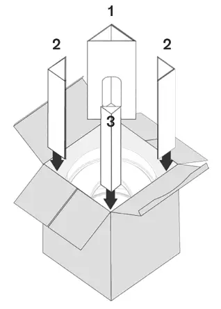
b. Slide corner braces into place: rear corner brace with cutout (1), side corner braces (2), small front corner brace (3).
C. Safely pack the power supply inside the rear corner brace (1). Write your name and RMA number prominently on the outside of the box and on an interior box flap prior to sealing the box with tape.
How to pack Litter-Robot 4
a. Place the front insert (1) at the low edge of the bottom insert (2).
b. Place Litter-Robot 4 into the box so the face rests in the front insert.
C. Slide the corner (1) and top inserts (2) into place with the power supply in the top pocket (3). Write your name and RMA number prominently on the outside of the box and on an interior box flap prior to sealing the box with tape.
Ship Litter-Robot
Ship the package to the below address using the carrier of your choice, or use Canpar home pickup.
Whisker Attn: Returns RMA # 522 S.
Western Ave Juneau, WI 53039
Canpar Pickup
We can provide a label for Canpar home pickup for a CA$100 deduction from the refund amount. Simply set the package outside your home during the designated timeframe and Canpar will pick up your return.
Contact Customer Experience whiskersupport.com
LR3-8120-Of

















