Kimex 032-1073 Extension Pipes Instruction Manual

Extension Pipes (180CM)
Colonne pour support TV (180cm)
COMPONENT CHECKLIST

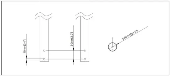
PRODUCT DIMENSIONS

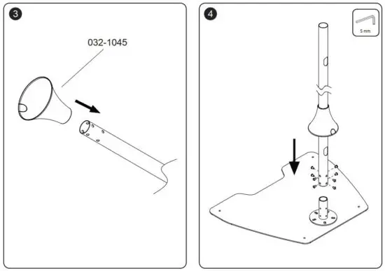
INSTALLATION INSTRUCTION



Extension Pipes (180CM)
Colonne pour support TV (180cm)




Download manual
Here you can download full pdf version of manual, it may contain additional safety instructions, warranty information, FCC rules, etc.