Simply Retrofits 120-277V 5000K LED Area/Parking Light

Introduction
- This LED Flood light uses the latest in solid state lighting technology for long life, low maintenance, and high efficiency
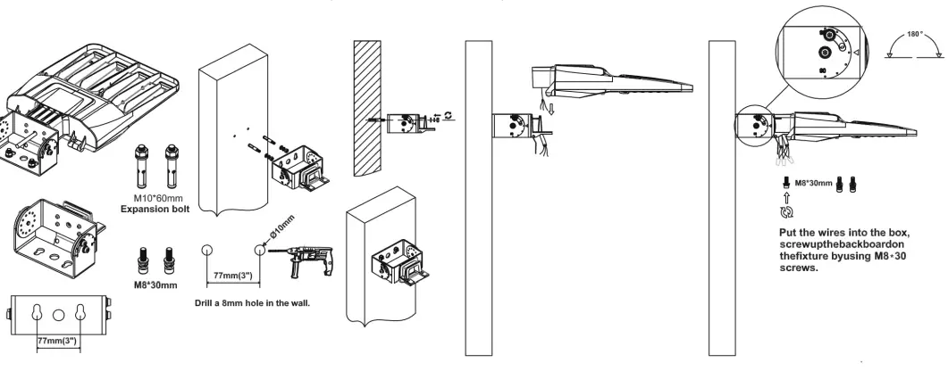
- There are Multiple installation methods, suitable for various occasion.
Warning
- To avoid the risk of fire, explosion, or electric shock, this product should be installed, inspected, and maintained by a qualified electrician only, in accordance with all applicable electrical codes.
To avoid electric shock:
- Be certain electrical power is OFF before and during installation and maintenance.
- Luminaire must be connected to a wiring system with an equipment-grounding conductor.
To avoid explosion:
- Make sure the supply voltage is the same as the rated luminaire voltage
- Do not install where the marked operating temperatures exceed the ignition temperature of the hazardous atmosphere.
- Do not operate in ambient temperatures above those indicated on the luminaire nameplate.
- Keep lens tightly closed when in operation.
- For supply connections use wire rated for at least 90 C
After installation, please
- check whether the lighting fixture is firmly fixed.
- check whether wires are connected correctly.
- At last, turn on the power, and check if the lighting fixture works well. If not, please turn off the power and contact with local dealer.
SF
TR





















