super bright leds PLLD-T Series LED Parking Lot/Area Light User Manual![]()
Contents hide
Safety and Notes
- Product should be installed and serviced by a certified electrician in accordance with applicable national, state, and local building and electrical codes.
- To reduce the risk of electric shock, ensure that the main power source and circuit breakers are switched off before performing any installation or wiring procedures. Do not install while inclement weather, such as rain storms, may increase the chances of electrical hazard.
- Avoid looking directly into lamp when illuminated.
- Ensure all mounts are securely attached and will support the weight of the fixture. Failure to properly support fixture may result in damage or injury, for which the manufacturer does not assume responsibility.
Specifications
Environmental Specifications | |
| Operating Temperature | -40°–113° F(-40°–45° C) |
IP Rating | IP65 |
Wiring Diagram


Mounting Options
- Adjustable Square/Round Pole Mount (PLLD-T1APM)

- Fixed Square/Round Pole Mount (PLLD-T1FPM)

- Adjustable Slip-fitter/Pole Mount (PLLD-T1SF)

- Wall/Trunnion Mount (PLLD-T1WM)

Pole/Post Mount (PLLD-T1APM and PLLD-T1FPM) Installation
- Mark and drill holes for mounting.
- Run light wiring through mount.
- Securely mount flange to light.
- Run supply wiring into mount and attach mount to pole/post.
- Ensuring supply power is off, use lower access door to connect wiring, then close lower access door.
- On adjustable models, loosen adjustment bolt to adjust angle. Rotate light to desired angle and tighten adjustment screw.
Fixed Pole/Post Mount (PLLD-T1FPM)


Adjustable Pole/Post Mount (PLLD-T1APM)



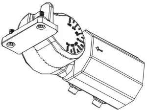
Slip-Fitter Mount (PLLD-T1SF) Installation
- .Disassemble mount and run wiring through it.
- Reassemble mount.
- Attach mount to light.
- With supply power off, connect wiring.
- Slide mount over pole/post and secure in place.
Note: The maximum pole/post diameter is 2.5 in. - Rotate light to desired angle and tighten adjustment screw.


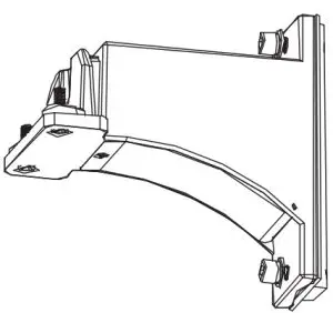
Trunnion Wall/Surface Mount (PLLD-T1WM) Installation
- Use trunnion mount as a template to make mounting holes on wall/surface and install hardware.
- Run wiring through the flange then attach the light to the bracket.
- Mount bracket to surface.
- With supply power off, connect wiring.
- Once installation is complete, the position locking bolts can be removed and the center trunnion bolts can be loosened to adjust the mounting angle of the light. Reinstall the position locking bolts and re-tighten center bolt when the desired angle is achieved.




- Rev Date: V2.0 03/12/2021
- 4400 Earth City Expy, St. Louis, MO 63045
- 866-590-3533



































