
V-series wheelchairs
INSTALLATION MANUAL

Preface
To support you on the installation and repairs of this wheelchair, this manual is offered. Please read it carefully. If you still have questions after reading this manual, do not hesitate to contact Vermeiren.
The information in this manual applies to all wheelchairs in the following list:
- V300
- V300 30°
- V300 30° Comfort
- V300 HEM2
- V300 XL
- V300ACT / V300XR
- V300D
- V300DC
- V300DL
- V300F
- V300GO
- V500
- V500 30°
- V500XL
Pictures of the product are used to clarify the instructions. Details of the shown product may deviate from your product.
On our website http://www.vermeiren.com/, you will always find the most recent version of the following information. Please consult this website regularly for possible updates.
Visually impaired people can download the electronic version of this manual and have it read out by means of a text-to-speech software application.
| Instruction manual For user and specialist dealer | |
| Installation instructions (Instructions for detail adjustments) For specialist dealer | |
| Torque table (maximum torques for bolts and nuts) For specialist dealer | |
| Service manual for wheelchairs For specialist dealer | |
| Drawings of (spare) parts For specialist dealer |
Scope of delivery
- The following items are part of the delivery.
- Frame including wheels, backrest frame, seat (default seat height 500 mm, default seat angle 5°)
- 2 Armrests (not for V300XR)
- Seat cushion (only for V300 DL)
- Anti-tipping (only for V300 DL)
- 1 pair of footrests/1 complete footrest
- Tools
- Manual
- Accessories
Please note that the basic configuration may differ in different European countries. Contact your specialist dealer.
Tools
To repair and adjust the wheelchair, the following tools are needed:
- Wrench set no. 7 to no. 22
- Allen keyset no. 3 to no. 8
- Screwdriver Phillips head
- Screwdrivers no. 4 to no. 6
Adjustments
CAUTION
Risk of injuries or damage
- Read the instruction manual for the specific wheelchair.
- Be aware of the technical details and limits of intended use; see the instruction manual.
- The wheelchair needs to be adjusted by a specialist dealer according to the instructions in this manual.
- Any modification to the product will lapse the warranty and will cease the responsibility of Vermeiren.
- Only use parts and tools described in this manual.
- Prevent bystanders from accessing the working area.
- While adjusting and operating the wheelchair, make sure no objects or body parts get caught between moving parts.
- Only use the settings described in this manual.
- Make sure that the adjustment on the left and right sides of the wheelchair is the same.
- Deviation of the adjustment settings may influence the stability of the wheelchair with the risk of tilting and falling.
- Make sure all screws are firmly secured before riding the wheelchair. Adhere to the tightening torques for screws according to the Torque table on our website.
Important remark - For more information, contact Vermeiren. See the website http://www.vermeiren.com/.
3.1 Stability and maneuverability
CAUTION
Risk of tipping over
Be aware that by changing the position of the rear wheels, the stability of the wheelchair is influenced. By adjusting the rear wheels
- in the rear adjustment position, the wheelchair becomes more stable but less maneuverable;
- in the front adjustment position, it becomes less stable but more maneuverable.
To increase stability or maneuverability, the following adjustments can be made:
- Rear-wheel position, see §3.2.
- Seat height and angle, see §3.3.
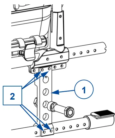
3.2 Rear-wheel position
CAUTION
Risk of injuries or damage
After adjusting the rear wheels, check the working of the brakes and adjust according to §3.5.
Adjust the position of the rear wheel as follows:
- Remove the 4 socket screws located in the holes (2) of the mounting plate (1).
- Move the mounting plate to the front or rear within the range of the adjustment holes.
- Retighten the 4 socket screws in holes (2).

Only for V300 30°, V500 30°, and depending on use:
We advise you to mount the mounting plate (1) of the rear wheels in the most rearward position.
Install two anti-tipping rollers (2) if the wheelchair is to be moved with an inclined backrest.
3.3 Seat height and angle
3.3.1 Adjustment settings
The seat of the V300 & V500 wheelchairs is adjustable in height and angle (0°-2,5°-5°-7,5°-10°).
The adjustment settings depend on the wheelchair model as shown in table 1 up to table 3 in this section. Each table is followed by an illustration of the adjustment points. The adjustment procedures are explained in §3.3.2.
The values in the tables are for the default seat angle of 5°. For another seat angle – seat height combination, the same table can be used. If you don’t find the right seat angle – seat height combination, please contact Vermeiren.
The adjustment of seat height and seat angle is based on:
- Relocating bushing (B) to a position above or under the housing (C) of the castor axle;
- Mounting the front wheel higher or lower in the front fork (A);
- Mounting the rear wheel higher or lower in the mounting plate (D).
Wheelchairs with Bi5 armrests:
Do not install the rear wheels in the highest position (hole 1) to avoid damage to the wheels and armrests.
| At seat angle 5° (Default setting) | |||
| Seat height | Rear wheels | Front wheels | |
| Hole | Hole | Bushing (B) | |
| 440 mm | 1 | 6 | Above (C) |
| 470 mm | 2 | 6 | Under (C) |
| 500 mm (Default) | 3 | 7 | Under (C) |
| 530 mm | 4 | 8 | Under (C) |
| Rear wheels | Front wheels |
![]() | ![]() |
Table 2: V300XR, V300ACT
| At seat angle 5° (Default setting) | |||
| Seat height | Rear wheels | Front wheels | |
| Hole | Hole | Bushing (B) | |
| 440 mm | 1 | 8 | Above (C) |
| 470 mm | 2 | 8 | Under (C) |
| 500 mm (Default) | 3 | 10 | Under (C) |
| 530 mm (6” wheels) | 4 | 10 | Under (C) |
| Rear wheels | Front wheels |
![]() | ![]() |
Table 3: V300, V500, V500XL
| At seat angle 5° (Default setting) | ||||
| Seat height | Rear wheels | Front wheels | ||
| Hole | Hole | Ø | Bushing (B) | |
| 440 mm | 1 | 7 | 150 mm | Above (C) |
| 470 mm | 2 | 7 | 150 mm | Under (C) |
| 500 mm (Default) | 3 | 9 | 150 mm | Under (C) |
| 530 mm | 4 | 10 | 200 mm | Under (C) |
| Rear wheels | Front wheels |
![]() | ![]() |
3.3.2 Adjusting rear and front-wheel height
Adjust the rear wheel height as follows:
- Remove the rear wheels (see instruction manual).
- Demount the axle housings (E) of the rear wheels from the axle plate (D) and remount them in the correct hole, see tables in §3.3.1.
- Repeat this for the second rear wheel. Make sure both housings are positioned identically.
- Verify that both axle housings (E) are tightened firmly.

Adjust the front wheel height as follows:
- Remove the cover cap from the frame tube.
- Remove the nut (31) of the swivel axle (F) and collect the loose parts.
- Demount the front wheel and remount it in the correct hole of the front fork (A) according to the tables in §3.3.1.
- Verify that the location of the bushing (B) is correct in relation to the swivel axle housing (C), see tables in §3.3.1.
- Mount the swivel axle (F) back in the housing (C) with bushing (B) at the correct position, see the exploded view. Tighten nut (31) firmly.
- Check the tension of the swivel axle (F); make sure it turns smoothly, without play.
- Repeat this for the second front wheel. Make sure both front wheels are positioned identically.

Final adjustment
- Insert the rear wheels.
- If installed properly, the swivel axles of the front wheels stand perpendicular to the ground. To adjust the angle of the swivel axles, follow the instructions in the next section.
- Finally, adjust the brakes according to the instructions in § 3.4.
3.3.3 Adjusting swivel axles
Verify that the swivel axle (F) stands perpendicular to the ground. If not, adjust the swivel axle at the toothed clamp (G) as follows:
- Loosen the three socket screws (15).
- Adjust the angle of the swivel axle until it is perpendicular to the ground. There are 5 positions available, each indicated by a small triangle.
- Tighten the 3 socket screws (15) firmly and repeat this for the second swivel axle.

3.4 Seat depth
The procedure of this adjustment is explained in §3.4.5.
The adjustment settings depend on the wheelchair model as shown in the tables in sections §3.4.1, §3.4.2, §3.4.3, and §3.4.4. Each table is followed by an illustration of the adjustment points.
Important remark
When adjusting the backrest connection, make sure that all 3 connection screws (item 59, for the example) are tightened firmly.
To prevent theft-protection systems in shops react to the wheelchair frame, the connection screws (59) must be turned through the frame coating!

3.4.1 Seat depth option 1
This type of wheelchair is only adjustable in 3 seat depths by adjusting the backrest connection (A).
| V300XL | Seat depth | Backrest position holes |
| 490 mm (Default) | 1 | |
| 510 mm | 2 | |
| 530 mm | 3 |

3.4.2 Seat depth option 2
This type of wheelchair is adjustable in 5 seat depths by adjusting the location of the frame cross (X) and backrest connection (B).
| V300 30° | Seat depth | Cross position holes | Backrest position holes |
| 460 mm | Holes 1 and 3 | 1 | |
| 440 mm (Default) | Holes 2 and 4 | 1 | |
| 500 mm | Holes 1 and 3 | 2 | |
| 480 mm | Holes 2 and 4 | 2 | |
| 520 mm | Holes 1 and 3 | 3 |

3.4.3 Seat depth option 3
This type of wheelchair is adjustable in 5 seat depths by adjusting the location of the frame cross (X) and backrest connection (C).
| V300 V300DC V300F V300ACT V300XR V300DL | Seat depth | Cross position holes | Backrest position holes |
| 460 mm | Holes 1 and 3 | 1 | |
| 440 mm (Default) | Holes 2 and 4 | 1 | |
| 500 mm | Holes 1 and 3 | 2 | |
| 480 mm | Holes 2 and 4 | 2 | |
| 520 mm | Holes 1 and 3 | 3 |

3.4.4 Seat depth option 4
This type of wheelchair is adjustable in 4 seat depths by adjusting the location of the frame cross (X) and backrest connection (D).
| V500 | Seat depth | Cross position holes | Backrest position holes |
| 460 mm | Holes 1 and 3 | Position 1 | |
| 440 mm (Default) | Holes 2 and 4 | Position 1 | |
| 500 mm | Holes 1 and 3 | Position 2 | |
| 480 mm | Holes 2 and 4 | Position 2 |

3.4.5 Adjustment of cross and backrest connection
The settings and item numbers can be found in the following sections
Cross position (if adjustable)
- Remove clip (10), at each side of the wheelchair.
- Move the cross (X) forwards/backward to the desired position according to the settings in the tables of previous sections.
- Replace both clips (10) at each side of the wheelchair to lock the cross position.
Backrest connection position
- Demount both socket screws of the backrest connection, at both sides of the wheelchair.
- Move the backrest connection (A/B/C/D) forwards/backward to the desired position according to the settings in the tables of previous sections.
- Mount the 2 socket screws firmly; at both sides of the wheelchair.
- Verify if seat height and seat angle are correctly set.
Parking brakes
CAUTION
Risk of injuries
Adjust the correct braking force.
- Release the brake with the lever (21), see the instruction manual.
- Loosen socket screws (22) to make the brake free to slide.
- Slide the brake over the guide (23) to the desired position.
- Retighten the socket screws (22).
- Verify if the brake is working properly: the wheel is blocked, but the brake can be operated easily. If this is not the case, repeat the steps above.
- Repeat this adjustment for the second parking brake. Make sure both brakes are adjusted identically.

| V300 V300 30° V300XL V300ACT | V300DC V300F V300XR |

| V300DL | V500 |
Footrest length
CAUTION
Risk of damage
Make sure that the footrests won’t touch the ground. Keep a minimum safe distance of 60 mm above the ground.
The maximum length of the footrest is limited to the length indicated by a triangle on the front of the footrest tube, see picture.
Since they are connected, both footrests of V300XL are adjusted simultaneously.
Adjust the length as follows:
- Remove the socket screw (24) at the back of the footrest.
- Adjust the footrest to a comfortable length.
- Retighten the socket screw firmly.
- Repeat this for the second footrest. Make sure the footrests are positioned identically.

Footplate position
The footplate(s) can be used in 2 positions: front and rear. By default, each footplate is adjusted with its base plate in the rear position.
To place the footplate in the front position:
- Remove the socket screws (25) of both footplates.
- The exchange left and right footplates.
- Tighten the socket screws (25) firmly.
Footplate angle
Adjust the angle of the footplate at its toothed clamp:
- Loosen the socket screw (25) of the footrest (26).
- Turn the footplate to the desired angle (80°- 100°). The dashes (27) on the toothed clamp indicate the angular positions.
- Retighten the socket screw.
- Repeat this for the second footplate.
Arm pad height and depth (option 1)
This arm pad is adjustable in height and depth, each in 3 positions. The height is adjusted by adding or removing distance blocks. The depth is adjusted by using different mounting holes.
To adjust:
- Remove both socket screws (34).
- Place the correct number of blocks below and above the frame tubes, see table 1.
- For depth adjustment, install the arm pad by using the correct mounting holes, see table 2.
Table 1
| Height arm pad to seat | Number of blocks below the tube | Number of blocks between tube and arm pad |
| 220 mm (Default) | 2 | 1 |
| 230 mm | 1 | 2 |
| 240 mm | 0 | 3 |
Table 2
| Depth of the arm pad | Used holes |
| Front position | Back and middle |
| Middle position (Standard) | Holes 2 and 4 |
| Back position | Front and middle |

Arm pad depth (option 2)
Adjust the depth of the arm pad as follow (range 120 mm: step-less):
- Loosen both socket screws (35) at the bottom of the arm pad.
- Move the arm pad to the front or rear within the range of the slotted holes (42,5 mm).
If this is not enough, remove the socket screws and attach the arm pad using the other holes (3 positions available). - Tighten both socket screws firmly.
- Repeat this for the second arm pad. Make sure both arm pads are positioned identically.

Armrest height (option 3)
The height of the armrest is adjustable in 6 positions as follows:
- Pull the armrest out of the armrest holder.
- Remove the socket screw (36) that sets the height.
- Mount the screw in the desired hole.
- Insert the armrest in the armrest holder.
- Check the height; readjust if necessary.
- Repeat this for the second armrest. Make sure both armrests are positioned identically.

Vermeiren GROUP
Vermeirenplein 1 / 15
2920 Kalmthout
BE
website: www.vermeiren.com
Instructions for a specialist dealer
This instruction manual is part and parcel of the product and must accompany every product sold.
Version: D, 2021-08
Basic UDI: 5415174 122106V300*
5415174 122106V500*
All rights reserved, including translation.
No part of this manual may be reproduced in any form whatsoever (print, photocopy, microfilm, or any other process) without written permission of the publisher, or processed, duplicated, or distributed by using electronic systems.
© Vermeiren Group 2021
V-series wheelchairs
2021-08
Adjustments
Installation manual – V-series_EN_A5_2021-08_D
R.E.: Vermeiren GROUP, Vermeirenplein 1/15 – 2920 Kalmthout – Belgium






















