
TECH000910 Eclipse XXL Wheelchair
Instruction Manual
Instructions for specialist dealers This instruction manual is part and parcel of the product and must accompany every product sold. Version: D, 2019-05
All rights reserved, including translation. No part of this manual may be reproduced in any form whatsoever (print, photocopy, microfilm or any other process) without written permission of the publisher, or processed, duplicated or distributed by using electronic systems.
Preface
First of all, we want to thank you for putting your trust in us by selecting one of our wheelchairs.
The Vermeiren wheelchairs are the result of many years of research and experience. During the development, special attention was given to the ease of use and the serviceability of the wheelchair. The expected lifetime of your wheelchair is strongly influenced by the care and maintenance of the wheelchair.
This manual will help you get acquainted with the operation of your wheelchair.
Following the user instructions and the maintenance instructions are an essential part of the warranty.
This manual reflects the latest product developments. Vermeiren has the right to introduce changes without the obligation to adopt or replace previously delivered models. For any further questions, please consult your specialist dealer.
Product description
1.1 Intended Use
The wheelchair is intended for people with walking difficulties or no walking abilities.
The wheelchair is designed to transport 1 person.
The wheelchair is suited for indoor and outdoor use.
The user can propel the wheelchair by himself or have the wheelchair pushed by an attendant.
The different types of fittings and accessories, and the modular construction allow full use by persons disabled by:
- paralysis
- loss of limbs (leg amputation)
- limb defects or deformations
- stiff or damaged joints
- heart insufficiencies and poor blood circulation
- balance disturbances
- cachexia (decrease in muscle)
- and also for aged persons.
When providing for individual requirements:
- body size and weight (max. 200 kg)
- physical and psychological condition
- residential circumstances
- the environment should be taken into consideration.
Your wheelchair should only be used on surfaces where all four wheels are touching the ground and where there is sufficient contact to propel the wheels equally.
You should practice for use on uneven surfaces (cobblestones, etc.), slopes, curves and to get past obstacles (curbs, etc.).
The wheelchair should not be used as a ladder, nor is it a transport for heavy or hot objects. When used on mats, carpeted floors, or loose floor coverings, the floor covering can get damaged. Use only Vermeiren-approved accessories.
The manufacturer is not liable for damage caused by the lack of or improper service or as a result of not following instructions from this manual. Compliance with the user and maintenance instructions is an essential part of the guarantee conditions.
Visually impaired people can contact the dealer for the instructions for use.
1.2 Technical specifications
The technical terms below are valid for the wheelchair in standard settings. If other footrests/arm supports or other accessories are used, the tabulated values will change.
| Make | Vermeiren | |||
| Address | Vermeirenplein 1/15, B-2920 Kalmthout | |||
| Type | Manual wheelchair | |||
| Model | Eclipse XXL | |||
| Maximum occupant mass | 200 kg | |||
| Description | Dimensions | |||
| Effective seat width | 600 mm | 650 mm | 700 mm | 750 mm |
| Overall width (depends on the seat width) | 850 mm | 900 mm | 950 mm | 1000 mm |
| Effective seat depth | 530 mm | 540 mm | 550 mm | 560 mm |
| Description | Dimensions Min. | Dimensions Max. | ||
| Overall length with footrests | 1140 mm | |||
| Folded length without footrests | 865 mm | |||
| Folded width | 375 mm | |||
| Total height | 1030 mm | |||
| Folded height (without backrest) | 945 mm | |||
| Total mass | ± 38,5 kg | ± 39 kg | ± 40 kg | ± 40,5 kg |
| Mass of heaviest part | ± 20,25 kg | |||
| Masses of parts that can be dismantled or removed | Foot supports: 2,40 kg; Arm supports: 1,95 kg; Back cushion: 4,25 kg – 5 kg; Seat cushion: 6,95 kg – 7,5 kg | |||
| Static stability downhill | 7,5°(in standard configuration) | |||
| Static stability uphill | 5°(in standard configuration) | |||
| Static stability sideways | >16°(in standard configuration) | |||
| Obstacle climbing | 60 mm | |||
| Seat plane angle | 5° | |||
| Seat surface height at front edge | 530 mm | |||
| Backrest angle | 5° | |||
| Backrest height | 570 mm | |||
| Distance between footrest and seat | 415 mm | 510 mm | ||
| Angle between seat and footrest | 107° | |||
| Distance between armrest and seat | 200 mm | |||
| Front location of armrest structure | 405 mm | |||
| Handrail diameter | 465 mm | |||
| The horizontal location of axle (deflection) | 18 mm | |||
| Minimum turning radius | 1743 mm | |||
| Diameter Krypton PU Rear wheels | 22″ | |||
| Tyre pressure, rear (driving) wheels (only for air tires) | Max. 3.5 bar | |||
| Diameter Krypton PU steering wheels | 200 mm | |||
| Tyre pressure, steering wheels (only for air tyres) | Max. 2.5 bar | |||
| Storage and use temperature | + 5 °C | + 41 °C | ||
| Storage and use of humidity | 30% | 70% | ||
| We reserve the right to introduce technical changes. Measurement tolerance ± 15 mm / 1,5 kg / ° | ||||
The wheelchair complies with the requirements set up in: ISO 7176-8: Requirements and test methods for static, impact, and fatigue strengths. ISO 7176-16: Resistance to ignition of upholstered parts
1.3 Drawing
| 1 = Pushbar 2 = Handles 3 = Lever drum brakes 4 = Back 5 = Armrests 6 = Arm supports 7 = Driving wheels (rear wheels) 8 = Hand rims | 9 = Drum brakes 10 = Brakes 11 = Steering wheels (Front wheels) 12 = Footplate 13 = Footrests 14 = Seat 15 = Double cross 16 = Identification plate |
1.4 Accessories
The following accessories are available for the Eclipse XXL:
- Anterior pelvic belt (B58) for mounting on the tubes of the back
- Anti-tipping device (B78) for mounting on the bottom frame
- Side supports/pellets (L04) for mounting on the fixed back
- Transit wheelchair (T30) · Drum brakes (B74)
Contact your specialist dealer about other accessories. He will gladly advise you.
1.5 Explanation of symbols
Maximum mass
Indoor and outdoor use
Maximum Safe Slope
CE conformity
Type designation
Not intended to be used as a seat in a Motor vehicle
1.6 Safety rules
To prevent injury and/or damage to your wheelchair, make sure that no objects and/or body parts are caught in the spokes of the driving wheels.
The parking brakes should be applied before getting into and out of the wheelchair. The parking brakes should be applied when adjusting/mounting the backrest, arm supports, … .
When getting into and out of the wheelchair, do not stand on the footplate. These should be folded up beforehand, or the footrests should be swung completely outwards out of the way.
Investigate the effects of shifting the centre of gravity on the behavior of the wheelchair, for example on up or down gradients, on laterally sloping ground, or when overcoming obstacles. Obtain support from an attendant.
If you want to pick up something (lying in front of, on the side, or to the rear of the wheelchair), you should not lean too far out to avoid tipping over.
When moving through doors, arches, etc. ensure that there is enough room at the sides so that you do not get your hands or arms caught or crushed and that there is no damage to the wheelchair.
Only use your wheelchair according to regulations. For example, avoid uncontrolled rolling against obstacles (steps, curbs, doorframes, etc) or dropping down from ledges. The manufacturer cannot assume liability for damage caused by overloading, collision or other improper use.
Stairs may only be negotiated when aided by another person. If furnishings like drive-on, ramps or lifts are available, use them.
When moving on the public highway, you are subject to the rules of the road. L When driving your wheelchair, you should not be under the influence of alcohol or medicine as in the case of driving other vehicles. This also applies to indoor driving.
When traveling outdoors, adapt your driving to weather and traffic conditions. L When transporting the wheelchair, never pick it up by grasping movable parts (arm
supports, footrests, etc.)
To be better visible when driving in the dark, wear the brightest possible clothing or clothes with reflectors, and check that the reflectors mounted on the sides and rear of the wheelchair are clearly visible.
Be careful when using possible causes of fire such as cigarettes since they may set the seat and back covers alight.
Never exceed the maximum load of 200 kg.
Use
This chapter describes everyday use. These instructions are for the user and the specialist dealer. The wheelchair is delivered fully assembled by your specialist dealer. The instructions intended for the specialist dealer on how to set up the wheelchair are given in § 3.
2.1 Carrying the wheelchair
The best way to carry the wheelchair is to make use of the wheels and roll the wheelchair. If this is not possible (e.g. when the rear wheels are taken off for transportation in a car), firmly grasp the frame on the front and the grips. Do not use the foot or arm rests or the wheels to grasp the wheelchair.
2.2 Unfolding the wheelchair
CAUTION: Risk of clamping Keep fingers away from moving parts of the wheelchair.
- Position yourself behind the wheelchair.
- Use the hand grips to open the wheelchair as much as possible.
- Position yourself at the front of the wheelchair.
- Push both seating tubes down till they are fixed in their position.
- Place the seat and backrest cushion in the wheelchair.
- When the push bar is available, mount the push pole to the wheelchair.
2.3 Mounting or removing of the footrests
CAUTION: Risk of injury Check that the footrests are firmly mounted before using your wheelchair.
The mounting of the footrests is done as follows:
- Hold the footrest sideways at the outside of the wheelchair frame and mount the tube hood into the frame.
- Swing the footrest inwards till it clicks in position.
- Turn the footplate downwards.
- Check that the footplate is firmly mounted.
To take off the footrests:
- Grasp the footplate.
- Turn the footplate upwards.
- Pull handle .
- Swing the footrest to the outside of the wheelchair till it comes loose from the guidance.
- Pull the footrest from the tube hood.
2.4 Operating the brakes
WARNING: The brakes are not used to slow down the wheelchair during movements Use the brake only to prevent the wheelchair from unintended movements.
WARNING: Good operation of the brakes is influenced by wear and contamination of the tires (water, oil, mud, …) Check the condition of the tires before each use.
WARNING: The brakes are adjustable and can wear Check the operation of the brakes before each use.
To apply the brakes:
- Push the brake handles distinctive click. forward till you feel a
CAUTION: Risk of unintended movement Make sure the wheelchair is on a flat horizontal surface before releasing the brakes. Never release both brakes simultaneously.
To release the brakes:
- Release one brake by pulling the handle backward.
- Hold the hand-rim of the released wheel with your hand.
- Release the second brake by pulling the handle backward.
2.5 Mounting or removing of arm supports
CAUTION: Risk of clamping Keep fingers, buckles, and clothes away from the bottom side of the arm support.
CAUTION: Risk of injury Check that the arm supports are firmly mounted before using your wheelchair. The arm supports of the wheelchair can be mounted by following instructions.
- Mount the rear tube of the arm supports in the tube hood. (Fig A)
- Make sure the arm support is mounted very well.
- Fold the arm support forward
- Pull the lever on the tube hood upwards. (Fig B)
- Click the front tube of the arm support in the tube hood. (Fig B)

To open and remove the arm support:
- Pull the lever and pull the front of the arm support upwards. (Fig C)
- Fold the arm support backward.
- To remove the arm support, pull the rear of the arm support from the tube hood.(Fig D)

2.6 Transfer in and out the wheelchair
CAUTION: In case you cannot perform the transfer in a safe manner, ask someone to assist you.
CAUTION: Risk of tipping over of the wheelchair Do not stand on the footplate.
- Position the wheelchair as close as possible to the chair, couch or bed to/from you wish to transfer.
- Check both brakes from the wheelchair are in the on position.
- Fold the footplate upwards to prevent standing on them or remove the footrest on that side (see § 2.3)
- If the transfer is on the side of the wheelchair, fold the arm support on that side upwards. (see § 2.5)
- Transfer to/from the wheelchair.
2.7 Correct position in the wheelchair
Some recommendations for comfortable use of the wheelchair:
- Position your backside as close as possible to the backrest.
- Make sure your upper legs are horizontal If needed adjust the length of the footrests. (see § 3.6.1)
2.8 Riding the wheelchair
WARNING: Risk of clamping Prevent your fingers from being caught by the wheels spokes.
WARNING: Risk of clamping Be careful passing through restricted passages (e.g. doors).
WARNING: Risk of burns Be careful when driving in hot or cold environments (sunshine, extreme cold, saunas, etc.) for a sufficient amount of time and when touching – Surfaces can assume the environment temperatures.
- Release the brakes.
- Take both hand rims at their highest position.
- Lean forward and push the hand rims forward until straight arms.
- Swing your arms loosely back to the hand rims topside and repeat the movement.
2.9 Moving on slopes
WARNING: Control your speed Moving on slopes as slowly as possible.
WARNING: Consider the capacities of your attendant If your attendant does not have enough force to control the wheelchair, put on the brakes.
WARNING: Risk of tipping over Lean forward to move your center of gravity forward. To improve better stability.
- If available on the wheelchair, wear the safety belt.
- Do not attempt moving on too high slopes. The maximum slope angles (upwards and downwards) are mentioned in table 1.
- Ask an attendant to help you move on the slope.
- Lean forward to move your centre of gravity forward.
2.10 Negotiating steps or curbs
2.10.1 Getting down steps or curbs
Riding down low curbs can be done moving forwards. Make sure that the footrests do not touch the ground.
A practiced user can negotiate small steps or curbs by himself:
WARNING: Risk of tipping over If you do not have enough experience with your wheelchair, ask the assistance of an attendant.
- Bring balance on the rear wheels to reduce the pressure on the front wheels.
- Negotiate the curbs.
Higher curbs can be taken forward with an attendant:
- Ask the attendant to tip the wheelchair slightly backward.
- Get past the curbs while moving on the rear wheels.
- Put the wheelchair back on the four wheels.
An experienced user can negotiate higher curbs by himself. This is best done backward.
- Turn the wheelchair to have the rear wheels facing the curbs.
- Lean forward to move your center of gravity forward.
- Move the wheelchair close to the curbs.
- Use the hand rim to roll off the wheelchair from the curbs in a controlled manner.
2.10.2 Moving up steps or curbs
Moving up steps or curbs with the attendant as follows
- Prevent the footrests from touching the curbs.
- Ask the attendant to tip the wheelchair backward, just enough to move the front wheels over the curbs.
- Lean backward to move your center of gravity above the rear wheels.
- Place the front wheels on the curbs.
- Roll rear wheels of the wheelchair over the curbs.
Higher curbs are negotiated backward:
- Turn the wheelchair to have the rear wheels facing the curbs.
- Lean backward and move your center of gravity above the rear wheels.
- Ask the attendant to pull the wheelchair onto the curbs.
- Take back the normal position in the wheelchair.
An experienced user can negotiate curbs by himself:
WARNING: Risk of tipping over If you do have not enough experience to control the wheelchair, get help from an attendant.
- Drive until the curbs.
- Ensure that the footrest does not touch the curbs.
- Lean backward so you are balancing on the rear wheels.

- Role the front wheels balancing over the curbs.
- Bend forward for more stability.
- The role the rear wheels over the curbs.
2.10.3 Taking of stairs
Taking of stairs while you staying in the wheelchair shall be according to the following rules:
WARNING: Risk of tipping over Taking of stairs shall always with 2 attendants.
- Remove the footrests.
- One attendant tip the wheelchair slightly backward.
- The second attendant takes the front of the frame.
- Stay calm, avoid sudden movements and keep your arms inside the wheelchair.
- Take the steps on the rear wheels of the wheelchair.
- Mounting the footrests back after taking the stair.
2.11 Fold up the wheelchair
CAUTION: Chance of pinching Do not place fingers between the components of the wheelchair.
- When the push bar is available, remove the push bar.
- Remove the footrests (see § 2.3).
- Remove the seat and backrest cushions.
- Take the tubes of the seat and move these upwards
- Push on the handgrips to fold up the wheelchair further.
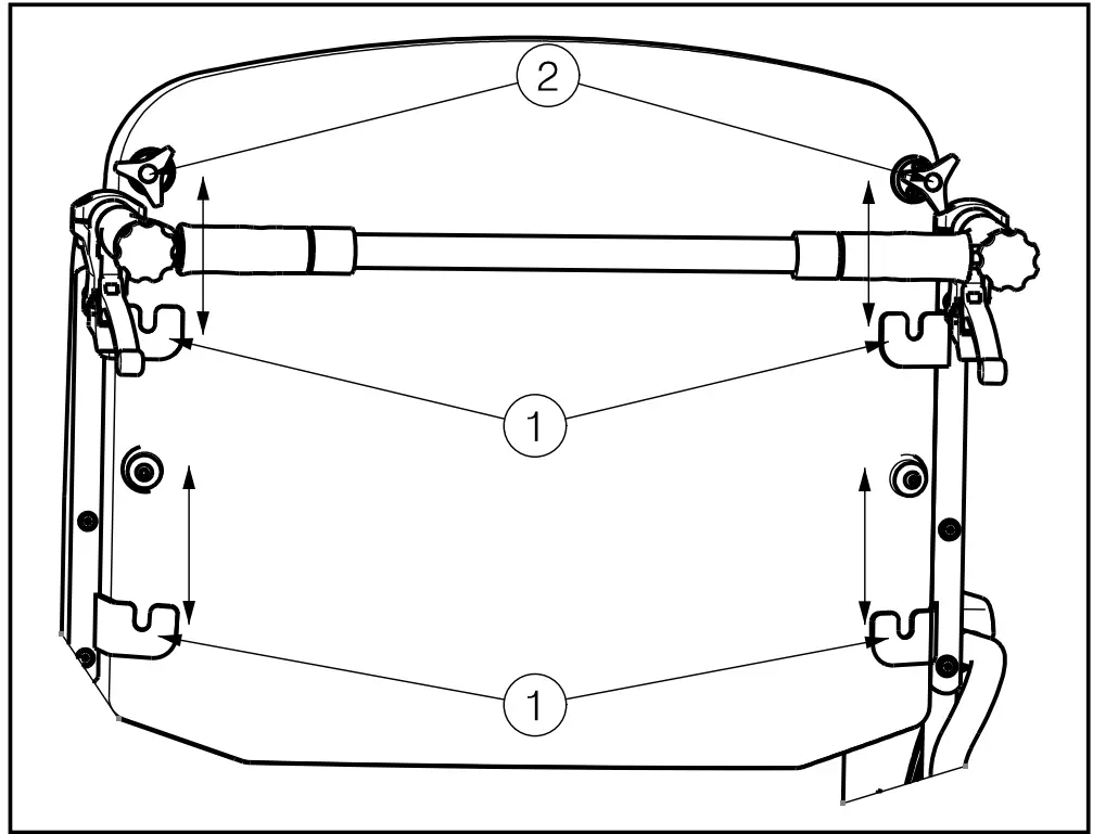
2.12 Pushbar
WARNING: Risk of injury – Make sure that all screws are properly tightened with the appropriate tool.
WARNING: Risk of injury – When equipped with the push bar, the push bar shall always be mounted ( to increase the stability of the back).
The push bar will be delivered for some seat widths. The push bar increases the stability of the back and offers you the possibility of pushing the wheelchair by an attendant. To do this, use the pre-mounted handles. As there are different push bars for different seat widths, take care that no tension between the pushing handles of the back tubes is created.
The mounting of the push bar is done as follows:
- Secure the push bar by fastening the left side to the end of the handle with the Philips screw in the applicable sunk threads.
- Screw gently the Philips screw into the thread of the handle.
- Swing the push bar to the right.
- Screw gently the Philips screw into the thread of the right handle.

To take off the push pole:
- Loosen the Philips screw on the right and/or left-hand grip.
- Remove the push bar from the right and/or left-hand grip.
2.13 Transport in the car
DANGER: Risk of injury The wheelchair is not suited for use as a seat in a motor vehicle.
WARNING: Risk of injury See that the wheelchair is attached properly. So you can avoid injury from the passengers during a collision or sudden braking.
WARNING: Risk of injury Use for attaching the wheelchair and passenger
NEVER the same seatbelt.
Never use your wheelchair as a seat in an automobile or other vehicle. The wheelchair shall be marked with the following symbol.
To transport the wheelchair in the car use the following steps:
- Remove footrests and accessories.
- Store footrests and accessories safely.
- If possible, fold the wheelchair and remove the wheels.
- Place the wheelchair in the luggage place.
- If the wheelchair and the passenger compartment is NOT separated, attach the frame of the wheelchair securely to the vehicle. You can use the available safety belts in the vehicle.
Installation and adjustment
The instructions in this chapter are for the specialist dealer. The Vermeiren Lightweight wheelchairs Eclips XXL has been designed entirely for your comfort. This wheelchair can be adjusted to individual requirements as explained below. To find a service facility or specialist dealer near you, contact the nearest Vermeiren facility. A list of Vermeiren facilities can be found on the last page.
WARNING: Risk of unsafe settings – Use only the settings described in this manual.
WARNING: Variation of allowed adjustments can still change the stability of your wheelchair (tilt back or sideways).
3.1 Tools
To set up the wheelchair the following tools are needed.
- Wrench set n°10 to n°19
- Allen key set n°4 to n°5
- Screwdriver Phillips head
3.2 Manner of delivery
The Vermeiren Eclips XXL shall be delivered with
- 1 frame with arm supports, rear, and front wheels
- 1 pair footrests
- Anatomical seat (fixed)
- Anatomical back (fixed)
- Tools · Manual
- Accessories
When you receive the wheelchair, please check that the product supplied is complete and fully functional. Warranty claims are only valid if the manufacturer (supplier) is notified in writing within a period of two weeks. In the case of any defect that is not immediately evident, warranty claims are only valid if the manufacturer (supplier) is notified in writing within two weeks after it is detected.
3.3 Anatomical seat
WARNING: Risk of injury Check that the seat is firmly secured before use. Check that the screws are not damaged.
WARNING: Risk of injury Avoid getting your fingers caught during the assembly process (between seat and cross-hinge).
Your wheelchair has an anatomically padded seat, place it on the tubular cross-hinge so that the seat’s supports engage equally with the cross-hinge. In the wooden base, you will find slots that are placed in the hinge’s crosspieces. To fold up the wheelchair, remove the seat by pulling it upwards.
3.4 Anatomical back
WARNING: Risk of injury Check that the backrest is firmly mounted into the four brackets before using your wheelchair.
WARNING: Risk of injury Avoid getting your fingers, and clothes caught during the assembly process.
The backrest of the wheelchair can be mounted by following instructions.
- Mount the backrest into the four brackets .
- Turn on the upper star buttons to lock the star buttons by hand.
- Check that the backrest is firmly fixated.
To remove the backrest of the wheelchair:
- Loosen the upper star buttons .
- Pull the backrest upwards out of the four brackets.
3.5 Adjust the brakes
WARNING: Risk of injury Brakes may only be adjusted by your specialist dealer.
Adjust the brakes according to the following rules:
- Disconnect the brakes by pulling the lever backward.
- Loosen the bolts so the brake mechanism can slide over the guide.

- Pull the brake mechanism over the guide to the desired position.
- Retighten the bolts .
- Check to work on the brakes.
- If necessary repeat the above steps until the brakes are adjusted well.
3.6 Adjusting of the footrests
3.6.1 Length of the footrests
CAUTION: Risk of damage Avoid that the footrests make any contact with the ground. Keep a minimum distance of 60 mm above the ground.
Adjust the length of the footrests as follow (in eight different positions): (Fig A)
- Remove the screw.
- Adjust the length of the footrest to a comfortable length.
- Tighten the screw properly.
3.6.2 Depth of the footplate
Adjust the depth of the footplate as follow (in three different positions):
- Remove the screws. (Fig A)
- Adjust the depth of the footrest to a comfortable position (Fig B).
Position 1: hole 1 and 3
Position 2: hole 2 and 4
Position 3: hole 3 and 5 - Tighten the screws properly. (Fig A)

Maintenance
For the maintenance manual of the wheelchairs refer to the Vermeiren website: www.vermin.be.
SERVICE
The wheelchair was serviced:
For service checklists and additional technical information, please see our specialist dealers nearest to you.
More information on our website at: www.vermeiren.com.
VERMEIREN
WARRANTY
N.V. VERMEIREN N.V.
Tel.: 00 32 (0)3 620 20 20
VERMEIRENPLEIN 1-15
Fax: 00 32 (0)3 666 48 94
B-2920 Kalmthout
www.vermeiren.com
Name………………………..
Address………………………..
Home………………
E-mail…………….
Article……………………..
Article…………………..
Serien-Nr./No………………………..
Date of purchase…………………..
Dealer stamp…………………
CONTRACTUAL WARRANTY
We offer 5 years of warranty on standard wheelchairs, lightweight wheelchairs 4 years.
Electronic wheelchairs, tricycles, beds, and other products: 2 years (batteries 6 months) and multiposition wheelchairs 3 years. This warranty is limited to the replacement of defective or spare parts.
APPLICATION CONDITIONS
In order to claim this warranty, part “B” of this card has to be given to your official Vermerien dealer. The warranty is only valid when parts are replaced by Vermeiren in Belgium.
EXCEPTIONS
This warranty is not valid in the case of:
– damage due to incorrect usage of the wheelchair,
– damage during transport,
– involvement in an accident,
– a dismount, modification, or repair carried outside of our company and/or official Vermeiren dealership,
– normal wear of the wheelchair,
– non-return of the warranty card
– please return within 8 days of date of purchase or register your product at our website, http://www.vermeiren.be/registration
– in case of repair, please add part “B”
N.V. VERMEIREN
N.VVermeirenplein 1/15
B-2920 Kalmthout
ELGIUNM
Vermeiren GROUP
Vermeirenplein 1 / 15
B-2920 Kalmthout BE
website: www.vermeiren.com
Manual wheelchair


















