VERMEIREN D200 30 Lightweight Wheelchair

Preface
Congratulations! You are now owner of a Vermeiren wheelchair!
This wheelchair is made by qualified and committed personnel. It is designed and produced according to high quality standards, guarded by Vermeiren. Please read this manual carefully; it will help you to get familiar with the operation, capabilities and limitations of your wheelchair. If you still have questions after reading this manual, do not hesitate to contact your specialist dealer. He/she will be glad to help you.
Important note
To ensure your safety, and to prolong the lifetime of your product, please take good care of it and have it checked and serviced on a regular basis. This manual reflects the latest product developments. Vermeiren has the right to implement changes to this type of product without any obligation to adapt or replace similar products previously delivered. Pictures are used to clarify the instructions in this manual. Details of the depicted product may deviate from your product.
Information available
On our website http://www.vermeiren.com/ you will always find the most recent version of the information in this manual. Please consult this website regularly for possible updates. Visually impaired people can download the electronic version of this manual and have it read out by means of a text-to-speech software application.
Your product

- Handgrips
- Backrest
- Arm pads
- Armrests
- Seat
- Footrests
- Footplates
- Steering wheels (front wheels)
- Brakes
- Driving wheels (rear wheels)
- Hand rims
- Tip cap
- Cross
- Identification plate
Only for D200 30°:
- Lever backrest inclination
- Push bar
Accessories
The following accessories are available for the D200:
- Anterior pelvic belt (B20)
- Anti-tipping device (B78)
The following accessories are available for the D200 30°:
- Drum brakes (B74)
Before use
Intended use
- Indications and contraindications: The user can propel the wheelchair by himself or have the wheelchair pushed by an attendant. The wheelchair is intended for elderly people or people with walking difficulties or no walking abilities, such as paralysis, loss of limbs, limb defects or deformations, stiff or damaged joints, heart insufficiencies and poor blood circulation, balance disturbances, cachexia (decrease in muscle), … You should NOT use this wheelchair if you suffer from physical or mental impairments that may put you, or other people, in danger when driving the wheelchair. For this reason, consult your doctor first and make sure that your specialist dealer is informed about his advice.
- This wheelchair is suitable for indoor and outdoor use.
- This wheelchair is designed and produced solely to transport/transfer one (1) person with a maximum weight of 130kg. It is not designed for transportation of goods or objects, nor for any use other than previously described.
- Only use accessories and spare parts approved by Vermeiren.
- Please read all technical details and limits of your wheelchair in chapter 5.
- The warranty on this product is based on normal use and maintenance as described in this manual. Damage to your product caused by improper use or lack of maintenance will cause the warranty to lapse.
General safety instructions
CAUTION Risk of injuries and/or damage Carefully read and follow the instructions in this manual. Otherwise you may get injured or your wheelchair may get damaged.
Keep the following general warnings in mind during use:
- Do not use your wheelchair if you are under influence of alcohol, medicines or other substances that may influence your riding abilities.
- Be aware that some parts of your wheelchair may get very hot or cold due to ambient temperature, solar radiation or heating devices. Be careful when touching. Wear protective clothing if the weather is cold. When going outdoors, riding gloves can be used to improve the grip on the hand rims.
- Do not modify your wheelchair in any way.
Be aware that your wheelchair may interfere with some types of anti-theft systems, depending on the settings used. This may cause the shop’s alarm to go off. In case a serious incident has occurred involving your product, notify Vermeiren or your specialist dealer as well as the competent authority in your country.
Symbols on the wheelchair
- Maximum weight of the user in kg
- Indoor/outdoor use
- Maximum safe slope in ° (degrees).
- Type designation
Transport
Transport by vehicle, as luggage (D200, D200 30°)
- WARNING
- Make sure that the wheelchair is attached properly to avoid injury from the passengers during collision or sudden braking.
- NEVER use the same seatbelt to secure the wheelchair and passenger.
- Remove footrests, armrests and accessories.
- Store footrests, armrests and accessories safely.
- If possible, fold the wheelchair and remove the rear wheels.
- Place the wheelchair in the luggage compartment.
- If the luggage and passenger compartments are NOT separated, attach the frame of the wheelchair securely to the vehicle. You can use the available safety belts in the vehicle.
Use of the wheelchair as seat in a motor vehicle (only D200)
- WARNING
- For D200 30°: Do NOT use your D200 30° wheelchair as a seat in a vehicle, see the following symbol.
- The wheelchair has passed the crash test of ISO 7176-19: 2008 and, as such, has been designed and tested for use only as forward-facing seat in a motor vehicle.
- The wheelchair’s pelvic belt alone is not suited as an occupant restraint belt.
The wheelchair is tested using the four-point strap-tie system and a 3-point occupant-restraint system. Whenever feasible, use the seat of the vehicle and store the wheelchair in the cargo area.
Steps to secure the wheelchair in a motor vehicle:
- Check that the vehicle is equipped with a suitable wheelchair tie down and occupant restraint system, conform ISO 10542.
- Check that the components of the wheelchair tie down and occupant restraint system are not frayed, contaminated, damaged or broken.
- If equipped with an adjustable seat and/or back tilt, make sure that the wheelchair user is sitting as upright as possible. If the user’s condition prevents this, a risk assessment should be done to evaluate the user’s safety during transit.
- Remove all mounted accessories such as trays and respiratory equipment, and secure them in a safe place.
- Position the wheelchair facing forward in the travelling direction, centrally between the tiedown rails mounted in the floor of the vehicle.
- Make sure that the indicated zones around the wheelchair user are clear from rigid vehicle parts.

- Mount the front securement straps according to the instructions of the strap-system manufacturer at the indicated place (figure 3). This place is marked on the wheelchair with a symbol (figure 4).
- Roll back the wheelchair until the front straps are tight.
- Apply the wheelchair brake.
- Mount the back securement straps according to the instructions of the strap-system manufacturer at the indicated place (figure 3). This place is marked on the wheelchair with a symbol (figure 4).

Steps to secure the wheelchair user:
- Remove both armrests.
- If present, attach the wheelchair’s pelvic belt.
- Attach the occupant restraint belts according to the instructions of the strap-system manufacturer.
- Wear the pelvic belt low across the front of the pelvis, so that the angle of the pelvic belt is within the preferred zone of 30° to 75° to the horizontal, similar to that shown below.

- A steeper (greater) angle within the preferred zone is desirable.
- Adjust the belt tightly according to the instructions of the strap-system manufacturer, consistent with the user’s comfort.
- Ensure that the restraint belt connects in a straight line to the anchor point in the vehicle and that no bends in the belt are visible, for instance at the axle of the rear wheel.
- Install the armrests, if desired. make sure that belts are not twisted or held away from the body by wheelchair components such as armrests or wheels.

Folding/Unfolding
CAUTION Risk of injuries
Keep fingers away from moving parts of the wheelchair.
- Unfolding the wheelchair
- Position yourself behind the wheelchair.
- Use the handgrips to open the wheelchair as much as possible.
- Position yourself at the front of the wheelchair.
- Push both seating tubes down till they are fixed in their position.
- Folding the wheelchair
- Fold the footplates or remove the footrests.
- Take the seat on the front side and backside and pull it up.
- Mounting the rear wheels
- Take the rear wheel and push button (1).

- Keep the button pushed in and mount the rear wheel axle until it stops.
- Release the button.
- Check that the wheel is secured.
- Take the rear wheel and push button (1).
- Taking off the wheels
- Make sure the brakes standing in the off position.
- Take the wheelchair to the side frame where you want to remove the wheel.
- Press the button (1) in the center of the wheel hub.
- Pull the wheel away from the frame.
Storage
Make sure that your wheelchair is stored in a dry environment to prevent mould from growing and the upholstery from being damaged, see also chapter 5.
Using your wheelchair
WARNING Risk of injuries
- First read previous chapters and inform yourself about the intended use. Do NOT use your wheelchair unless you have read and fully understood all instructions.
- In case of doubts or questions, do not hesitate to contact your local specialist dealer, your care provider or technical adviser to help you with this.
Mounting or removing the footrests

- Mounting the footrests is done as follows:
- Hold the footrest sideways at the outside of the wheelchair’s frame and mount the tube hood (1) into the frame.
- Swing the footrest inwards until it clicks in position.
- Swing the footplate downwards.
- To take off the footrests:
- Pull lever (2).
- Swing the footrest to the outside of the wheelchair until it comes loose from the guidance.
- Pull the footrest from the tube hood (1).
Operating the brakes
CAUTION Risk of injuries
- The brakes are not used to slow down the wheelchair during movements. Use the brake only to prevent the wheelchair from unintended movements.
- Good operation of the brakes is influenced by wear and contamination of the tires (water, oil, mud, …). Check the condition of the tires before each use.
- The brakes are adjustable and can wear. Check the operation of the brakes before each use.
- Make sure the wheelchair is on a flat horizontal surface before releasing the brakes. Never release both brakes simultaneously.
To apply the brakes:
- Push the brake levers forward until you feel a distinctive click.
To release the brakes:
- Release one brake by pulling the lever backwards.
- Hold the hand rim of the released wheel with your hand.
- Release the second brake by pulling the lever backwards.
Mounting or removing the armrests
The armrests of the wheelchair can be mounted by following instructions.
- Mount the rear tube of the armrest in tube hood (1).

- Make sure the armrest clicks in the locking mechanism.
- Fold the armrest forward.
- Click the front tube of the armrest in tube hood (2).

To open and remove the armrest:
- Press lever (3) and pull the front of the armrest upwards.
- Fold the armrest backwards.
- To remove the armrest, press button (4) and pull the rear of the armrest from tube hood (1).

Adjusting anti-tipping (when provided)
Adjust the height of the anti-tipping in 7 positions (range 120 mm: steps 20 mm):
- Loosen the star knob (1) a little bit.
- Move the tube of the anti-tipping in the desired height.
- Secure the star knob (1).
- Make sure that the anti-tipping is firmly secured.
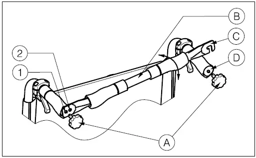
Backrest inclination (D200 30°)
WARNING
- Be aware that the stability decreases when backrest is adjusted backwards.
- Apply the parking brakes before adjusting the backrest.
CAUTION
- Do not place your fingers, clothes between the adjustment mechanism.
For model D200 30°, it is possible to set the backrest backwards with a maximum inclination of 30° (4 different positions: steps of 10°). Make sure that the patient sits in the chair when the attendant adjusts the backrest inclination and that the wheelchair does not tip over.
- Pull the lever 1 on both sides towards the push handle 2 to adjust the backrest.
- The pen Ⓐ comes out of the groove of the toothed plate Ⓑ.
- Pull both back tubes backwards continuously to the desired position (4 different positions: 5° – 15° – 25° – 35°).
- Release the levers. Check that the pen Ⓐ is well fixed in the groove of the toothed plate Ⓑ.
If your wheelchair features drum brakes, the handles 3 are used as brakes.
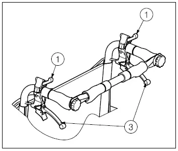
Mounting or removing the push bar (D200 30°)
WARNING
- Make sure that buttons Ⓐ are tightened.
- When equipped with the push bar, the push bar should always be mounted to increase the stability of the back.

To mount the push bar:
- Mount the push bar Ⓑ with the star knob Ⓐ in the left handgrip.
- Swing the push bar Ⓑ to the right.
- Mount hook Ⓒ over the right handgrip Ⓓ as shown on the drawing. Use holes 1 or 2 to adjust the tension of the backrest.
To take off the push bar:
- Loosen the star knob Ⓐ on the right handgrip.
- Remove hook Ⓒ from the right handgrip Ⓓ.
Push handle height
The push handles can be adjusted steplessly over a distance of 60 mm:
- Loosen the screw (1) .
- Move the handgrip up/down to the desired height.
- Retighten the screw (1) .
- Repeat for the other handle. Make sure that both handles are firmly secured.
Transfer in and out of the wheelchair
CAUTION
- In case you cannot perform the transfer in a safe manner, ask someone to assist you.
- Do not stand on the footplates.

- Position the wheelchair as close as possible to the chair, couch or bed to/from you wish to transfer.
- Make sure that both brakes of the wheelchair are activated.
- Fold the foot plates upwards to prevent standing on them.
- If the transfer is on the side of the wheelchair, remove the armrest on that side and fold the brake lever down.
- Transfer to/from the wheelchair.
Correct position in the wheelchair
Some recommendations for a comfortable use of the wheelchair:
- Position your backside as close as possible to the backrest.
- Make sure your upper legs are horizontal. If needed adjust the length of the footrests (see installation manual).
Riding the wheelchair
- Before every usage, make sure that:
- parking brakes are working properly.
- tires are in good condition,
- Prevent your fingers from being caught by the wheel spokes.
- Do not operate the hand rims with wet hands.
- Prevent entrapment of your hands on the hand rims when you pass small passages.
- Do NOT drive on slopes, obstacles, steps or kerbs larger than specified.
- When you stop on a (small) slope, use your brakes.
- Make sure all four wheels touch the ground while riding up or down a slope.
- Take slopes as slow as possible.
- Always stay on the pavement when riding on public roads.
- Pay attention if the road has holes or gaps that may cause entrapment of the wheels.
- Avoid stones and other objects that may block the wheels.
- Make sure that the footplates do not touch ground while taking an obstacle.
- Do not use your wheelchair on an escalator.
- If available, wear your safety belt.
- Always keep the swing range of the footplate in mind to prevent bystanders from being injured or objects from being damaged.
- If you don’t have enough experience riding your wheelchair, ask assistance of an attendant. Keep your arms away from the wheels and keep your feet on the footplate.
- Stairs should always be negotiated with the help of two attendants.
- Never try to use stairs that are not appropriate for wheelchairs.
Riding your wheelchair:
- Release the brakes.
- Take both hand rims at their highest position.
- Lean forward and push the hand rims forward until your arms are straight.
- Move your hands back to the top of the hand rims and repeat the movement.
Moving on slopes
- Moving on slopes as slow as possible.
- If your attendant does not have enough force to control the wheelchair, put on the brakes.
- Lean forward to move your centre of gravity forward. To improve a better stability.

- If available on the wheelchair, wear the safety belt.
- Do not attempt moving on too high slopes. The maximum slope angles (upwards and downwards) are mentioned in table 1.
- Ask an attendant to help you moving on the slope.
- Lean forward to move your centre of gravity forward.
Negotiating steps or kerbs
- If you do not have enough experience with your wheelchair, ask assistance of an attendant.
Getting down steps or kerbs
Riding down low kerbs can be done moving forwards. Make sure that the foot bracket does not touch the ground.
A practiced user can negotiate small steps or kerbs by himself:
- Bring balance on the rear wheels to reduce the pressure on the front wheels.
- Negotiate the kerbs.
Higher kerbs can be taken forward with an attendant:
- Ask the attendant to tip the wheelchair slightly backwards.
- Get past the kerbs while moving on the rear wheels.
- Put the wheelchair back on the four wheels.
An experienced user can negotiate higher kerbs by himself. This is best done backwards.
- Turn the wheelchair to have the rear wheels facing the kerb.
- Lean forward to move your centre of gravity forward.
- Move the wheelchair close to the kerbs.
- Use the hand rim to roll-off wheelchair from the kerb in a controlled manner.
Moving up steps or kerbs
Moving up steps or kerbs with attendant as follows:
- Prevent the foot bracket from touching the kerb.
- Ask the attendant to tip the wheelchair backwards, just enough to move the front wheels over the kerb.
- Lean backwards to move your centre of gravity above the rear wheel.
- Place the front wheels on the kerb.
- Roll rear wheels of the wheelchair over the kerb.
Higher kerbs are negotiated backwards:
- Turn the wheelchair to have the rear wheels facing the kerb.
- Lean backwards and move your centre of gravity above the rear wheels.
- Ask the attendant to pull the wheelchair on the kerb.
- Take back the normal position in the wheelchair.
An experienced user can negotiate kerbs by himself:
- Drive until the kerbs.
- Ensure that the foot bracket do not touch the kerbs.
- Lean backwards so you are balancing on the rear wheels.
- Role the front wheels balancing over the kerbs.
- Bend forwards for more stability.
- Role the rear wheels over the kerbs.
Taking stairs
Taking of stairs while you staying in the wheelchair shall be according following rules:
- One attendant tip the wheelchair slightly backwards.
- The second attendant take the front of the frame.
- Stay calm, avoid sudden movements and keep your arms inside the wheelchair.
- Take the steps on the rear wheels of the wheelchair.
Maintenance
Your wheelchair requires minimum maintenance, but it is advisable to inspect the wheelchair regularly in order to drive trouble-free for years.
Points of maintenance
CAUTION Repairs and replacements may only be undertaken by trained persons and only genuine replacement parts of Vermeiren should be used.
The last page of this manual contains a registration form for the specialist dealer to record each service.
The service frequency depends on the frequency and intensity of use. Contact your dealer to agree to a common timetable for inspection/maintenance/repair.
For the maintenance manual, refer to the Vermeiren website: www.vermeiren.com.
Before each use
Inspect the following points:
- All parts: Present and undamaged or unworn.
- All parts: Clean,
- Wheels, backrest, seat, calf rests, arm rests, footplates: Well secured.
- Condition of wheels/tyres,
- Condition of frame parts: No deformation, instability, weakness or loose connections
- Seat, backrest, arm pads, calf pads and head rest (if applied): No excessive wear (like dented spots, damage or tears).
- Brakes: Undamaged and functioning.
- For D200 30°: Backrest inclination: Undamaged and functioning well (locking, load, no deformation or wear).
Contact your specialist dealer for possible repairs or part replacements.
Yearly or more often
Have your wheelchair inspected and serviced by your specialist dealer, at least once a year, or more often. The minimum maintenance frequency depends on use and should therefore be commonly agreed upon with your specialist dealer.
Maintenance instructions
- Wheels and tyres
Keep your wheels free of wires, hair, sand and fibres. Check the profile of the tyres. If the tread depth is less than 1 mm, the tyres need to be replaced. Contact your specialist dealer for this matter.Inflate each pneumatic tyre to the correct pressure (see pressure indication on the tyres). - Cleaning
Never use a hose or high-pressure cleaner to clean the wheelchair.
Wipe all rigid parts of the wheelchair with a damp cloth (not drenched). If necessary, use a mild soap, suitable for varnishes and synthetics. The upholstery can be cleaned with lukewarm water and a mild soap. Do not use abrasive cleaning agents to clean. - Disinfection
Disinfections may only be undertaken by trained persons. Consult your specialist dealer
Troubleshooting
Even if you use your wheelchair properly, a technical problem may occur. In this case, contact your local specialist dealer.
WARNING NEVER repair your wheelchair yourself attempting to solve the problem.
The following symptoms may indicate a serious problem. Therefore always contact your specialist dealer if you spot any of the following deviations:
- Strange sound;
- Uneven tread wear on one of the tyres;
- Jerky movements;
- Wheelchair deflects to one side;
- Damaged or broken wheel assemblies.
Expected lifespan
The average lifespan of your wheelchair is 5 years. Depending on the frequency of use, driving circumstances and maintenance, the lifespan of your wheelchair will increase or decrease.
Reuse
Before each reuse, have the wheelchair disinfected, inspected and serviced according to the instructions.
End of use
At end of life, you need to dispose your wheelchair according to the local environmental legislation. The best way to do so, is to disassemble the wheelchair to facilitate the transport of recyclable parts.
Technical specifications
Technical terms below are valid for the wheelchair in standard settings. If other footrests/armrests or other accessories are used, the tabulated values will change.
| Make | Vermeiren |
| Type | Manual wheelchair |
| Model | D200, D200 30° |
| Maximum occupant mass | 130 kg |
| Description | Min. dimensions | Max. dimensions | ||||||
| Overall length with footrest | 1010 mm | |||||||
| Effective seat width | 380 mm | 400 mm | 420 mm | 440 mm | 460 mm | 480 mm | 500 mm | 520 mm |
| Overall width (depends on the seat width) | 580 mm | 600 mm | 620 mm | 640 mm | 660 mm | 680 mm | 700 mm | 720 mm |
| Folded length | 1010 mm | |||||||
| Folded width | 300 mm | |||||||
| Folded height (depends on seat height) | 880 mm – 940 mm | |||||||
| Total mass D200 D200 30° | 16 kg 17,9 kg | |||||||
| Mass of heaviest part D200 D200 30° | 8,5 kg 10 kg | |||||||
| Masses of parts that can be dismantled or removed | Footrests: 1,50 kg; Armrests: 1,20 kg (D200) or 2 kg(D200 30°); Rear wheels: 4,40 kg | |||||||
| Static stability downhill | 16° (in standard configuration) | |||||||
| Static stability uphill D200 D200 30° | 12° (in standard configuration) 9,5° (measured with anti-tipping, place axle block backwards) | |||||||
| Static stability sideways | 20° (in standard configuration) | |||||||
| Obstacle climbing | 60 mm | |||||||
| Seat plane angle | 5° | |||||||
| Effective seat depth | 430 mm | |||||||
| Seat surface height at front edge | 470 mm | 530 mm | ||||||
| Backrest angle D200 D200 30° | 5° 5° – 35° | |||||||
| Backrest height | 420 mm | |||||||
| Distance between footplate and seat | 380 mm | 500 mm | ||||||
| Angle between seat and footplate | -1,5° | 18,5° | ||||||
| Angle between seat and leg footrest | 98,5° | |||||||
| Angle between leg footrest and footplate | 80° | 100° | ||||||
| Distance between arm pad and seat | 220 mm | 240 mm | ||||||
| Front location of arm pad structure | 410 mm | |||||||
| Handrim diameter | 535 mm | |||||||
| Horizontal location of axle (deflection) | 37 mm | |||||||
| Minimum turning radius | 1500 mm | |||||||
| Diameter PU Rear wheels | 22″ | 24″ | ||||||
| Tyre pressure, rear (driving) wheels | Max. 3,5 bar | |||||||
| Diameter PU steering wheels | 200 mm | |||||||
| Tyre pressure, steering wheels | Max. 2,5 bar | |||||||
| Frame material | Aluminium | |
| Upholstery material | Nylon | |
| Storage and use temperature | + 5 °C | + 41 °C |
| Storage and use humidity | 30% | 70% |
| We reserve the right to introduce technical changes. Measurement tolerance ± 15 mm / 1,5 kg / 1,5° | ||
Service registration form
- This product (name): …………………………………….. was inspected (I), serviced (S), repaired (R) or disinfected (D):
| By (stamp): Kind of work: I / S / R / D Date: | By (stamp): Kind of work: I / S / R / D Date: | By (stamp): Kind of work: I / S / R / D Date: |
| By (stamp): Kind of work: I / S / R / D Date: | By (stamp): Kind of work: I / S / R / D Date: | By (stamp): Kind of work: I / S / R / D Date: |
| By (stamp): Kind of work: I / S / R / D Date: | By (stamp): Kind of work: I / S / R / D Date: | By (stamp): Kind of work: I / S / R / D Date: |
| By (stamp): Kind of work: I / S / R / D Date: | By (stamp): Kind of work: I / S / R / D Date: | By (stamp): Kind of work: I / S / R / D Date: |
| By (stamp): Kind of work: I / S / R / D Date: | By (stamp): Kind of work: I / S / R / D Date: | By (stamp): Kind of work: I / S / R / D Date: |
Vermeiren GROUP Vermeirenplein 1 / 15 2920 Kalmthout
BE
website: www.vermeiren.com
Instructions for specialist dealer
This instruction manual is part and parcel of the product and must accompany every product sold.



























