Bowflex Power PRO XTL fitness

Please Keep it for Your Records
What Is Covered
Bowflex, Inc. warrants to the original purchaser of the Bowflex® home fitness machine to be free from defects in materials or workmanship, with the exceptions stated below. This warranty is not transferable or applicable to any person other than the original purchaser.
Bowflex Power Pro
The Bowflex patented Power Rod resistance is covered by a No-Time-Limit Warranty. The Bowflex Power Pro is warrantied to the original purchaser for five (5) years. This five-year warranty covers all defects in the material or workmanship of the Bowflex Power Pro. The warranty does not cover commercial use or misuse & abuse by the consumer. To make this warranty effective, you must completely fill out the owner registration card and return it to Bowflex, 1400 NE 136th Ave. Vancouver, WA 98684 within thirty (30) days of your purchase of the Bowflex.
Bowflex Motivator
The Bowflex patented Power Rod resistance is covered by a No-Time-Limit Warranty. The Bowflex Motivator is warrantied to the original purchaser for two (2) years. This two-year warranty covers all defects in the material or workmanship of the Bowflex Motivator except for the vinyl covering on the bench. The vinyl covering on the bench is warrantied for 90 days. The warranty does not cover commercial use or misuse & abuse by the consumer. To make this warranty effective, you must completely fill out the owner registration card and return it to Bowflex, 1400 NE 136th Ave. Vancouver, WA 98684 within thirty (30) days of your purchase of the Bowflex.
Warranties Do Not Cover
- A Bowflex purchased for commercial or institutional use.
- Damage due to use by persons who weigh more than 300 pounds.
- Damage due to abuse, misuse, accident or acts of God (such as floods).
- Consequential or incidental damages.
Some states do not allow the exclusion or limitation of incidental or consequential damages, so the above limitation or exclusion may not apply to you.
What We Will Do
Bowflex, Inc. will repair any Bowflex that proves to be a defect in materials or workmanship. In the event repair is not possible, Bowflex, Inc. at its option, will either replace your Bowflex or refund your purchase price.
How To Get Service
Simply return the defective part at your expense to Bowflex, Inc. at 1400 NE 136 th Ave. Vancouver, WA 98661 with an explanation of the problem. For information, you may contact a service representative at 1-800-269- 3539 or write us at the above address, Attention Warranty. Adequate protective packaging of the defective parts or unit and cost of shipping to the above address are your responsibility. The repaired part or unit will be returned to you at the company’s expense.
How State Law Applies
This warranty gives you specific legal rights, and you may also have other rights which vary from state to state.
Power Pro Assembly Instructions
Before you begin, you will need a 9/16″ wrench, a 7/16″ wrench, a 1/2″ open end wrench, a crescent wrench (to hold the bolt while tightening with other), a rubber mallet (for step #5) and a phillips head (+) screw driver. Please follow these assembly instructions carefully. If you experience any difficulty, please call a Bowflex customer service representative and ask for assistance. 1-800-269-3539.
Bowflex Power Pro Parts Reference Guide

Parts Reference Guide
Before each use of the equipment, check all fasteners, snap hooks, cables, and pulley functions. Tighten and fasten as needed. Check pulleys and cables for wear and function.

Assembling the Power Pro
- The components for this assembly are in Boxes 2 and 3.
Step 1
- Locate the Rear Leg and Seat Rail.

Take two 3/8” x 3/4” square head bolts and place them through holes on the Rear Leg Bolt Keeper. Take that assembly and slide it into the Seat Rail channel, starting on the end closest to the warning label. Make sure to line up the end of the bolt keeper with the end of the rail. Repeat for the other bolt keeper. Once you have both bolt keepers in place, install the Rear Leg – place four 3/8” washers and tighten a 3/8” nylon locknut on to each of the bolts. Please use caution when inserting the bolt keeper. Edges may be sharp.

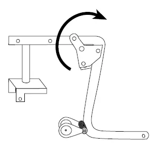
Next, take two 3/8” x 3/4” square head bolts and slide one into each side of the Seat Rail channel from the opposite end. Locate the Riser Bracket and attach it to the Seat Rail with the two square head bolts. Wait to tighten bolts with a wrench until after Step 1c.

Now, locate the bolt keeper for the pivot bracket and two 3/8” x 3/4” square head bolts. Install the bolts into the bolt keeper. Slide them into the Seat Rail Channel making sure the keeper is flush with the end of the Seat Rail. Repeat for the other bolt keeper. Locate the Pivot Bracket and Pulley Frame. Snap the Pivot Bracket between the screw heads on the Pulley Frame. Install the rail so the four bolts at the front of the rail slide through the four holes in the pivot bracket. Use 3/8” washers and 3/8” nylon lock nuts to secure the rail.
IMPORTANT: Place Seat Rail so that the end of the rail is flush with the edge of the Pivot Bracket.
Connect the bottom of the Riser Bracket to the standing platform with the 1″ Knob. See example 1c.
NOTE
- You may need to pull up on the standing platform, near the hole, in order to get the screw to thread into the hole.
- Each time you remove and reinstall the knob make sure it is completely fastened.
Step 2

Locate Seat and Bench and separate from one another. They are connected by a Quick Release Hinge. See illustration 2a at right.

The seat slides onto the Seat Rail by aligning the wheels on the Seat with the channels along the sides of the Seat Rail. Pull out the Seat Locking Pin in order to slide the Seat on. Seat Pin locks Seat into position. Pulling pin out and turning counterclockwise one quarter turn allows Seat to slide freely.
After you have installed the Seat, you can install the two End Caps at the ends of the Seat Rail. Secure them with the #10 Screws. (smallest screws) If the screws are not going in, you can use soap or other lubricant on the screw threads.
Note: If you purchased a CHEST BAR attachment, do not install the u-bar as shown in step 3. Instead, go now to page 16, step 5, of the chest bar assembly instructions.
Step 3
Locate the U-Bar. Insert U-Bar into the openings of the Main Frame and secure with two 1/4″ x 2″ Hex Head Bolts and two 1/4″ Nylon Lock Nuts. Leave loose until Step 4.

Step 4

- Locate the Vertical Mainframe.
- Attach U-Bar portion of Pulley Frame to the Vertical Main Frame with the 3/8″ x 2 1/2″ Hex Head Bolt.
- Use the 3/8″ x 4″ Hex Head Bolt to secure the lower portion of the Pulley Frame.
- Tighten securely.
- Tighten U-Bar securely.
Note: It is best to tighten both top & bottom bolts at the same time evenly. Do not over tighten.
Step 5

Locate the Power Rod Pack. Slide Power Rod Pack onto the top of the Vertical Main Frame. For easy installment, use a rubber mallet to tap rod box securely into Vertical Main Frame. Be sure that holes on each side line up. Secure the two parts together by tightening four of the #12 Screws through the four holes (two on each side) of the Power Rod Pack.
Note: If the screws do not go in easily, use soap or another lubricant in screw threads.
Step 6

Now locate the Bench. Turn Bench upside down. Place the Bench Cup between the two hinges. Secure with a #14 Screw.
Step 7
Now locate the Incline Support Bracket.

Place Bracket on Bench as shown. Insert Tap Bolts with 5/16″ Flat Washer through Bracket and hand tighten. Do not tighten with a wrench yet. Bracket needs to be adjusted to rest properly against the top of the Vertical Main Frame.

To check for proper adjustment, attach the Bench to the Seat. (They connect by a Quick Release Hinge.) Lock Seat Pin into the fourth hole of the side channel of the Seat Rail. Adjust Bracket position so that contact is made with top of Rod Pack as pictured. After Bracket has been adjusted, tighten securely with a 1/2″ open end wrench.

Next, remove the bench and insert and tighten a #14 screw into the center notch of the bracket as shown below. There is no pre-drilled hole for this.
SAFETY NOTE: Double-check to make sure bench is stable in the incline position.
Before using the bench make sure all three screws are in place and securely tightened.
Step 8

Place Bench onto the Bowflex. Unwrap Cables and Pulleys. Locate Nonskid Pads. Remove paper backing to expose the adhesive surface. Adhere Nonskid Pads to Pulley Frame as shown.
Note: If you installed a CHEST BAR Attachment,step 8.

- Hook Hand-Grips into place by inserting D-Ring into Snap Hook on end of the cables.
Leg Extension Attachment Assembly Instructions
The Bowflex Leg Extension Attachment is an optional attachment. Depending on the machine and accessories you ordered, this attachment may or may not be included.
Thank you for choosing the Bowflex Leg Extension Attachment. This attachment comes complete in one box, with everything you need to assemble your new accessory. Before you begin, you will need a crescent wrench, a 5/16″ open end wrench. (It is helpful to have the crescent wrench to hold one end of a bolt while tightening with the other). Please follow these assembly instructions carefully. If you experience any difficulty, please call a Bowflex customer service representative for assistance at 1-800-269-3539.
Components for this assembly are in a box labeled Leg Extension Attachment
Box Contents
- 1 Leg Extension Main Frame (with pre-attached pulleys (2) and left & right brackets.)
- 1 Leg Extension Pivot Arm
- 1 Leg Extension Foot
- 1 Seat (with four “L” brackets attached)
- 3 Metal Tubes
- 6 Foam Pads
- 2 68″ Cable
- 1 Parts/Bolt Bag (parts & bolt bag identification)

Installing the Leg Extension Attachment
Step 1

- Rotate Pivot Arm Bracket as indicated.
Step 2

- Secure Pivot Arm Bracket by inserting one 5/16″ x 2″ Hex Head Bolt through indicated hole on Bracket and tighten with one 5/16″ Lock Nut. Check pre-placed bolt, tighten if necessary. Insert Leg Extension Foot into Leg Extension Main Frame as indicated.
- Insert one 5/16″ x 2″ Hex Head Bolt through hole and tighten with one 5/16″ Lock Nut.
Step 3

- Locate Seat. Align “L” brackets on bottom of Seat with holes located on Leg Extension Main Frame as indicated. Use two 5/16″ x 2″ Hex Head Bolts to secure Seat to Main Frame. Insert and tighten with two 5/16″ Lock Nuts.
Step 4

- Locate Pivot Arm. Insert metal tubes through large holes at each end of Pivot Arm.
- IMPORTANT! Tighten pre-placed 1/4″ x 3/4″ Machine Screw into nut underneath top of Pivot Arm. BUT DO NOT OVER TIGHTEN!
Step 5: Insert the metal tube through large holes on Pivot Arm Bracket. Slide on Foam Pads and secure with End Caps as indicated. Attach Pivot Arm Assembly to Pivot Arm Bracket with one M10 Allen Head Bolt. (Tighten with an allen wrench). Secure with M10 lock nut. Important! Do not overtighten. Tighten so that Pivot Arm Assembly does not have excessive side-to-side movement, but still pivots smoothly.
Step 6: Attach Leg Extension to Bowflex by sliding Bench forward, then placing Leg Extension Bracket onto end of Seat Rail. Secure by inserting the “L” Pin through the two holes on Leg Extension Bracket. Make sure Pulleys are facing as shown. Thread cable through Pulley and Hook Loop around metal tube on each side as indicated below. Slide Foam Pads onto metal tube and insert End Caps. Use Snap Hook to fasten Leg Extension Cables to Bowflex Cables.

Chest Bar Attachment Assembly Instructions
The Chest Bar Attachment is an optional attachment. Depending on the machine and accessories you ordered, this attachment may or may not be included.
Thank you for choosing the Bowflex Chest Bar Attachment. This attachment comes complete in one box, with everything you need to assemble your new accessory. Before you begin, you will need a crescent wrench, a 9/16″ and a 7/16″ open end wrench. (It is helpful to have the crescent wrench to hold one end of a bolt while tightening with the other). Please follow these assembly instructions carefully. If you experience any difficulty, please call a Bowflex customer service representative and ask for assistance at 1-800-269-3539.
Components for this assembly are in a box labeled Chest Bar Attachment
Contents of box
- 1 Chest Bar
- 2 Non-skid Pads
- Exercise Instruction Sheet
- Assembly Instructions
Please check to make sure all parts are included. If you are missing any part, please call a customer service representative at 1-800-269-3539.
Chest Bar Assembly Instructions
Step 1

- Slide Seat to end of seat rail and lower to flat position.
Step 2

- Remove indicated bolts going through pulley frame and Vertical Main Frame.
- Remove the Vertical Main Frame with Rod Pack and set aside.
Note: Do not lose, these bolts will need to be used in a later step.
Step 3

- Remove bolts connecting U-Bar to machine base.
Note: Do not lose, these bolts will need to be used in a later step.
Step 4

- Remove U-Bar from machine base.
Step 5

- Position your Chest Bar upright and insert to the machine frame where you just removed the U-Bar.
Step 6

- Line up holes on machine and Chest Bar. Using the nuts and bolts that you previously removed in Step Two, attach Chest Bar to machine frame. Tighten securely.
Note: Once you finish installing your chest bar, go back to page 8, step 4 and continue assembling your Bowflex.
Step 7

- Replace the Vertical Main Frame with Rod Pack that you removed in step two. Secure with bolts that were set aside.
Step 8

Find existing pulley on U-Bar that you removed. They are connected to frame using a J-Bolt and a Nylon Lock Nut. Remove nut from bolt. When finished simply pull up J-bolt to remove it.
Step 9

- Replace the J-Bolt and pulley on your new Chest Bar. Simply make sure that open-end of J-Bolt is facing toward the machine. Push bolt down flush with frame and tighten Lock Nut securely to ensure correct performance.
- Repeat on other side.
Step 10

- Locate Non-skid pads. Remove paper backing to expose the adhesive surface. Adhere Non-skid Pads to Chest Bar as shown on each side.
Using Your Chest Bar

The Chest Bar has two positions.
- Standard Position is the way it came, approximately the same width as the U-Bar that was previously attached to your Power Pro.
- Extended Position for enhancing your chest and shoulder exercises. To extend your bar, simply untighten the adjustment knobs on the back of the bar and slide chest bar out until it reaches last notch and the adjustment knob “pops” in.
Retighten the adjustment knob to ensure a safe workout.
Safety Note: Before using the attachment, make sure that all fasteners are in place and tightened.
Note: Once you finish installing your CHEST BAR Attachment, go back to page 10, step 8 and continue assembling your Bowflex.
Lat Pulldown Attachment Assembly Instructions
The Lat Pulldown Attachment is an optional attachment. Depending on the machine and accessories you ordered, this attachment may or may not be included.
Components for this assembly are in a box labeled Lat Pulldown Attachment
Box Contents
- 1 Cross Bar
- 1 Main Frame Lower Half
- 1 Upper Main Frame
- 2 Main Frame Brackets
- 1 T-Piece with pulley, and Rest Brackets
- 2 59″ Cables
- 1 48″ Long Bar
- 1 Parts/Bolt Bag
Installing The Lat Pulldown Attachment

Step 1: Remove the long portion of the Bench.

Step 2: Place the crossbar so the curved ends are facing downward and they rest on the bottom of the pulley frame.

Step 3: Place the Main Frame Lower Half in between the Vertical Extrusion and the Seat Rail. Make sure the two black plastic bumpers are facing the Vertical Extrusion and the bottom of the Main Frame Lower Half rests in the circular portion of the crossbar.

Step 4: Locate the Main Frame Brackets. Place one bracket over the Main Frame Lower Half – just above the crossbar. Place the other bracket on the Main Frame just below the Power Rod pack.

Step 5: Secure the Main Frame Brackets to your Bowflex by sliding the long Square Head Bolt through the holes on the end of the brackets. Make sure that the bolts’ heads are seated in the square holes. Tighten Wing Nuts onto end of bolts and tighten Adjustment Screws.

Step 6: Locate Upper Main Frame. Slide upper half onto lower half. Insert the 1/4″ x 3 1/2″ Hex Head Bolts through holes and tighten with 1/4″ Lock Nuts.
NOTICE: For shipping purposes, the Lat Bar Rest brackets have been turned to the sides. Notice their correct positioning in the diagram to the left. Rotate brackets to their correct positions and tighten nuts before using.
Step 7

Locate the “T” Piece with the attached Pulleys. Insert the “T” into the top end of the Upper Main Frame as pictured. Insert two 3/8″ x 3 1/2″ Hex Head Bolts into the two corresponding holes, through the main frame and the “T” Piece. Tighten with the provided Nylon Lock Nuts. Make sure the “T” Piece is level before tightening nuts all the way. Locate Plastic Bumper and #10 Screw. Place Bumper over Lower and Upper Main Frame connection. Use #10 Screw to hold Bumper in place.
Step 8

Replace Bench. Insert Cables through the Pulleys and attach the end of Cable, without the Rubber Stop, to the regular Bowflex Cable by removing Hand Grips and using Snap Hooks to attach the loop end of the Cable. Do this on both sides. Hook up the 30 pound Power Rods on each side at this time. Locate the Long Bar. Attach the Long Bar to the cables by hanging them from the Lat Pulldown Attachment with the supplied Snap Hooks.

Installing the Squat Attachment

The Squat Attachment is an optional attachment. Depending on the machine and accessories you ordered, this attachment may or may not be included.
Step 1: Insert small loop ending of Cable (with no ball) through Pulley opening, and pull through to Cable Stop Ball. Set aside.
Step 2: Remove Squat Plate from box. Position Squat Plate under rear Bench Legs at angle, so as to slide Plate openings onto rear Bench Legs. IMPORTANT! Position Squat Plate so that long portion extends under Bench.
Step 3: Use (2) Snap Hooks and attach them to small eye on top of Pulley. Now use those Snap Hooks to attach Pulleys to holes on sides of Squat Plate.
To use, attach Squat Bar and Chains (as needed) to Cable Ends. Then, attach small Cable Ends to Power Rod Cables.
Caution: Be sure to remove Squat Plate before folding and transporting the Bowflex.
- Always wear shoes with a non-skid sole when using the Squat Attachment.
- Never adjust cable travel and tension with Expansion Chain to the degree that tension is applied in such a manner that would be hazardous. Always check Fasteners, Snap Hooks, Cables and Pulleys before each workout to ensure proper functioning.
- Never attempt to exercise with more resistance than you are physically able to handle.
Exercising with the Squat Attachment
THE SQUAT

Getting started: Use the Expansion Chain to adjust cable length so that you are at a 90 degree angle with the floor. Place Padded Bar on shoulders as pictured.
Action: While keeping your back straight, move to a standing position. Do not lock your knees out.
Key points: Keep knees pointed forward. Keep head up. Never attempt to exercise with more resistance than you are physically able to handle. And be sure to properly place the bar in a secure location on your shoulders.
BENT OVER ROW

- Keep back flat – do not arch.
- Keep your knees bent and head up.
SINGLE-ARM BICEPS CURL

- Keep elbows at your side. Keep knees slightly bent.
MILITARY PRESS

- Keep back straight. Do not arch.
LYING TRICEPS PRESS

- Keep elbows out in front of you. Adjust chain so that there is little or no tension at starting position.
DEADLIFT

- Keep back flat – do not arch. Lift with your legs not your back. Keep your knees bent and your head up.
BARBELL BICEPS CURL

- Keep elbows at your side. Keep knees slightly bent.
SHOULDER SHRUG

- Keep knees slightly bent.
STIFF LEG DEADLIFT

- Keep knees slightly bent. Use lightweight. Keep back straight. Do not arch.
Installing the Foot Harness
Bowflex has specially designed a Foot Harness which securely holds your foot to the Pulley Frame while you row vigorously to obtain your maximum aerobic workout. Just strap foot to the Pulley Frame with the straps located underneath the foot. Secure them tightly so there is no gapping space between the Pulley Frame and your foot. Next, slip your foot into the Harness as shown in the illustration and adjust to comfort, and row!
The Foot Harness is an optional attachment. Depending on the machine and accessories you ordered, this attachment may or may not be included.
Step 1

- Lay your Foot Harness out as shown in the illustration to the left and follow the instructions for proper usage.
- All Straps and Rings are labeled alphabetically for your convenience.
Step 2

- Place Harness on Pulley
- Frame at the same location as the Grip Pads. Wrap Straps marked A & C around the Frame where they will connect with Buckles B & D.
- Pull tail A from the bottom of Buckle B through slot 1. (The sample Buckle shows which slots are marked 1 and 2) of Buckle B. Pull the Strap up through slot 1 and back down through slot 2.
- Secure the Strap so there is no gapping area between the metal frame and the Harness.
- Repeat with the second Strap marked C and Buckle marked D.
Step 3

- After you have securely buckled your Harness to the Pulley Frame, sit down to strap your foot in.
- Pull Strap E through Ring F.
- Insert your foot and fold excess of tail E back.
- Adjust for a snug, comfortable fit.
Step 4


- Next, wrap Strap G around the back of your heel to the Ring labeled H. Pull it through the Ring and fold excess back and attach with velcro.
Assembling Your Bowflex T-Bar
Your t-bar was shipped fully assembled with the metal bar resting in the loops of the nylon strap. If, however, the bar and the nylon strap separated during shipping, follow these instructions for reassembly.

Step 1: The nylon strap has one flat side and one side with several twists. Lay the nylon strap on a flat surface with the flat side down.
Step 2a: Lift the strap by the metal rings and hold it in front of you. Turn the strap completely over with the twisted side down. Grab the strap in the center with the index finger of one hand.
Step 2b: Use your index finger and thumb of your free hand to spread the strap into two loops.
Step 3: Using your free hand, slide the bar through the loops. Remove your fingers from the loop. The strap should wrap around the bar evenly and slide loosely and freely around the bar.
Expanding Your Bowflex With Extra Power Rods
To expand your Bowflex from 210 lbs to 310 lbs:

Step 1: Remove your Power Rod pack by removing the four screws on the back of the Base.
Step 2
- Remove plugs in the first two holes of the
- Base of the Power Rod pack.
Step 3: Insert Power Rods into holes. Make sure that slot on bottom of Rods matches up with ridges in bottom. of hole.
Step 4
- Secure rod with supplied screw by screwing into the bottom of Power Rod.
- Replace Power Rod assembly and secure with the four screws.
To expand your Bowflex from 310 lbs. to 410 lbs

Step 1: Simply slide in new rods to the back of the Power Rod Base. Make sure new Rods are fully seated into Base before using.
BOWFLEX 6-WEEK SATISFACTION GUARANTEE
We want you to know that Bowflex is a superior product. Your satisfaction is guaranteed. If for some reason you are not 100% satisfied with your Bowflex, please follow the instructions listed below in order to return your merchandise and receive a refund of the purchase price, less shipping and handling.
- Call our Customer Service Department at 1-800-607-3539 for a Return Authorization Number. Return authorization will be granted if:
- You purchased your Bowflex Machine directly from Bowflex,
- If you are calling within 6 weeks of delivery date of merchandise. Returns should be shipped to: 1400 NE 136th Ave., Vancouver, WA 98684.
- All returned merchandise must be properly packaged in the original boxes and in good condition. Please note: You are responsible for return shipping and any damage or loss to merchandise which occurs during return shipment to Bowflex. We highly recommend that you insure your shipment.
- Please mark all boxes clearly with:
- Return Authorization Number
- Name
- Address
- Phone Number
- Boxes without this information clearly marked on the outside may be refused.
- Please make copies of your original invoice and put one in each box of merchandise. Merchandise must be received by Bowflex within two weeks of the date you were issued your Return Authorization Number.
Refunds may be denied or delayed if these instructions are not completely followed.
This Bowflex Satisfaction Guarantee applies only to merchandise purchased by consumers, directly from The Nautilus Group. Inc.
The Nautilus Group, Inc.
1400 N.E. 136th Ave., Vancouver, WA 98684
Bowflex and the Bowflex logo are registered trademarks of The Nautilus Group, Inc. an NYSE-listed company
© 2002,The Nautilus Group, Vancouver, WA 98684


















