VIA GO2 Quick Start Guide
For Installer
This guide helps you install and configure your VIA GO2 for the first time.
Go to www.kramerav.com/downloads/VIAGO2 to download the latest user manual and check if firmware upgrades are available.
https://de2gu.app.goo.gl/VcX61Dx3uLregayeA
Step 1: Check what’s in the box
- VIA GO2 Collaboration Device
- 1 VESA mounting bracket
- 1 Quick start guide
- 1 Power supply (12V DC) with adapters for US, UK, and EU
- 1 VESA screw set
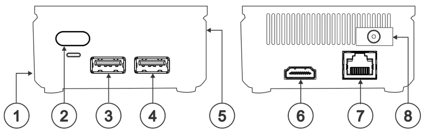
Step 2: Get to know your VIA GO2

| # | Feature | Function |
| 1 | Micro SD Card Slot | Not in use. |
| 2 | Power Button with LED | Press to power ON or turn OFF the device. |
| 3 | USB 3.0 Connector | Connect to a USB device, for example, a keyboard or mouse. |
| 4 | USB 2.0 Connector | Connect to a USB device, for example, a keyboard or mouse. |
| 5 | Lock Opening | Connect to a security locking cable. |
| 6 | HDMI™ Connector | Connect to an HDMI sink. |
| 7 | RJ-45 Connector | Connect to a LAN (default mode). |
| 8 | Power Connector | Connect to the 12V DC power supply. |
The terms HDMI, HDMI High-Definition Multimedia Interface, and the HDMI Logo are trademarks or registered trademarks of HDMI Licensing Administrator, Inc.
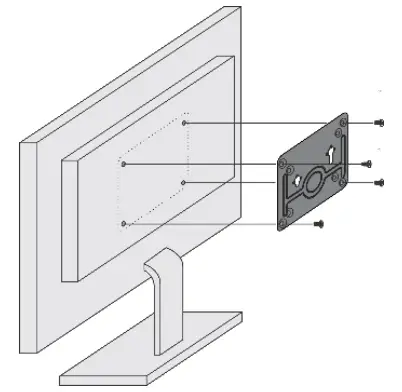
Step 3: Install VIA GO2
Place VIA GO2 on a flat surface, or mount on a wall or the back of a display using the included VESA mounting bracket:

- Attach the VESA mounting bracket to the back of the display with 4 screws.

- Fasten two screws to the bottom of VIA GO2.

- Insert the screws on the bottom of VIA GO2 into the slots on the mounting bracket.
VIA GO2 Quick Start (P/N: 2900-301300QS REV 1)

Step 4: Connect the inputs and outputs
Always switch OFF the power on each device before connecting it to your VIA GO2. For best results, we recommend that you always use Kramer high-performance cables to connect AV equipment to VIA GO2. Using third-party cables may cause damage!

- Connect the keyboard and mouse.
- Connect an HDMI display.
- Connect to the LAN (default mode).
If you wish to use a Kramer active optical pluggable HDMI cable with your VIA GO2, contact your local Kramer office to assist in purchasing the correct cable.
Step 5: Connect the power
Connect the 12V DC power adapter to VIA GO2 and plug it into the mains electricity.
Caution: There are no operator serviceable parts inside the unit.
Warning: Use only the Kramer Electronics power adapter that is provided with the unit.
Warning: Disconnect the power and unplug the unit from the wall before installing.
See www.KramerAV.com for updated safety information.
Step 6: Configure VIA GO2
A wizard guides you through configuration. If you choose to skip the wizard, follow these steps for the configuration:

General Settings Configuration
- On the Kramer VIA dashboard, click Features > Settings.
The settings login window appears. - Enter the User Name (default = su) and Password (default = supass) and click login
The VIA Settings window appears.
The VIA Settings tabs are:
• LAN Settings — Configure network parameters (default = DHCP)
• System Controls — Manage your display and audio settings, set the time, select your language, etc.
• Wi-Fi — Activate and configure the built-in Wi-Fi capability. - When you have finished configuring settings, click Reboot to apply all settings.
Change to AP Wi-Fi Mode
Set up the built-in Wi-Fi module as a secondary Access Point (for guests).
- On the Wifi tab, click the switch next to Switch On or Off Wifi. The switch turns green and additional Wi-Fi settings appear.
- Click AP Mode, and enter a new name in the SSID field and a new password or use the default name and password.
- Select a Wi-Fi channel for the Access Point.
- Select Enable Internet (if the primary LAN network is connected to the Internet) OR Activate Standalone Wifi (to create an autonomous network without Internet access) and click Apply
Switch to Client Wi-Fi Mode
Attach your VIA GO2 as a client device to your main network:
- On the Wifi tab, click the switch next to Switch On or Off Wifi. The switch turns green and additional Wi-Fi settings appear.
- Click Client Mode, select an available network from the drop-down.
- Enter the required password and click
- Disconnect the LAN cable (if connected) before rebooting the device.
VIA GO2 Quick Start Guide
For User
This guide helps you participate in a meeting using VIA GO2.
Go to www.kramerav.com/downloads/VIAGO2 to download the latest user manual.
Step 1: Connect your personal device to the proper network
Connect your personal device to the same Wi-Fi network to which the VIA GO2 in your meeting room is connected.
Step 2: Run or Download the Kramer VIA app
For Mac or PC:
- Enter the Room Name of the VIA GO2 device into your computer’s browser.
The Welcome page of VIA GO2 appears.
http://www.kramerav.com/av/via/qr.asp - Click Run VIA to execute the Kramer VIA app without downloading it. (Intended for guests who are using VIA only temporarily.) OR Click Install VIA to download the Kramer VIA app onto your computer. (Intended for regular users of the VIA.)
For iOS or Android devices:
- Download and install the free Kramer VIA app from Apple App Store or Google Play or scan the QR code above.
Step 3: Join the meeting using Kramer VIA App

- Open the Kramer VIA app and, on the Welcome to VIA window, click Join next to the name of the VIA device to which you want to connect.
The Login window appears. - In the Nickname field, enter a name for your device. This name appears on the main display when you present content.
- In the Room Code field, enter the 4-digit code as it appears on the main display (if enabled).
- Click Join.
You are logged into the VIA meeting.
The VIA Dashboard (and taskbar icon for laptops) appears on your device screen.
- Tap the red button to present your screen to the meeting participants on the main display.
- Tap Show Options > Features to access VIA GO2 features.
- Tap Show Options > Participants to see who else is connected.

Step 5: VIA GO2 Features
For a complete, updated list of available features go to: www.true-collaboration.com/products.html#.






















