Instruction Manual
Instruction manual for LED light panel Solight WO757-1, W0758-1
Dear customer, thank you for purchasing aur product. For its safe and full functioning, please read these instructions carefully and adhere to them to avoid product misuse or damage. Please prevent unauthorized use of this appliance and always observe all rules for using electric appliances. Keep these instructions for future reference. The installation must be performed by qualified personnel only.
installation


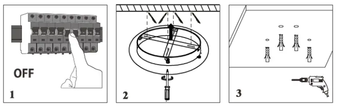
- Turn off the power supply
- Remove the bracket and use it as a template for marking holes
- Drill the holes and insert plastic anchors
- Mount the bracket to the ceiling
- Connect the power supply cable to the terminal block
- Mount the light onto the bracket and tighten the screws
- Turn on the power supply
Note: The images are for illustrative purposes only. Depending on the model, the shape of the luminaire may change.
| Power[W] | W0757-1 | W0758-1 |
| 111 | 130 | |
| Dimension [mm] | 490 x 60 | 480 x 480 x 60 |
| IP protection | IP20 | |
The manufacturer is not responsible for any damage caused by improper use.
Controls
| 1. LED indicator 2. Turn on 3. Turn off 4. Brightness + 5. Color temperature change 6. Color temperature change 7. Pairing | 8. Brightness – 9. Color temperature preset (6500 K) 10. Color temperature preset (3300 K) 11. Brightness switch 12. Night 13. light |

Buttons 4 – 7 can be pressed shortly (step change) or pressed and held (smooth change). Press 9 or 10 to switch between the presets modes – cold white, warm white.
Press 11 to switch to 50% or 100% power and neutral white color. Press 13 to switch to night mode – lowest brightness level, neutral light temperature.
Memory function for wall switch control: LED lighting allows you to switch preset modes with a wall switch. You can change the modes by switching the light on and off within a time delay of 0.5 – 2 s. lf you leave a longer delay after turning the light off, the light will then come on in the last mode used.
Memory function for remote control: After switching on, the light returns to the last used mode by the remote control only if the mode is active and the light is switched on for more than 15 s.
![]()
















