anslut 004678 16W LED Round Ceiling Lamp

SAFETY INSTRUCTIONS
- Only intended for indoor use.
- Keep out of the reach of children.
- Do not connect the light to the mains while it is still in the pack.
- Check that all the electrical and connecting cables comply with local regulations and are connected in accordance with the instructions.
- Do not overload the mains. This can cause a fire or the risk of electric shock.
- Do not store the light in a damp or very cold/hot place to avoid damaging the electronics.
- The electronics in the light are sensitive to knocks and blows. Avoid dropping it.
- Never attempt to replace damaged electrical cables yourself.
- Do not use the light without the glass.
WARNING!
New installations and extensions to existing systems must always be carried out by an authorized electrician. If you know how (otherwise contact an electrician), you can replace switches and power points, fit plugs, extension cords, and sockets. Incorrect installation can result in fatal injury and the risk of fire.
Symbols
- Approved as per applicable directives.
- Class II. Double insulation.
- Recycle discarded products in accordance with local regulations.
- Warning: Risk of electric shock.
TECHNICAL DATA
- Rated voltage 230 V ~ 50 Hz
- Output Max60W
- Socket E27
- Safety class ii
- Protection rating IP20
- Dimensions r/J 28,5 x 7.5 cm
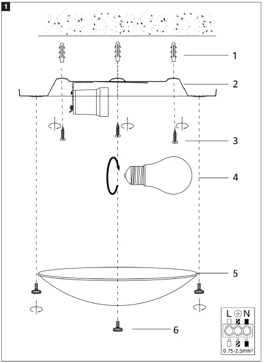
DESCRIPTION
- Plug
- Ceiling light
- Screw
- Light source
- Glass
- Retaining screws for glass FIG. 1

INSTALLATION
- Release the glass from the ceiling light.
- Mark out where the ceiling light is to be installed.
- Drill holes. Make sure not to damage any recessed cables or conduits.
- Connect the wires to the terminal block in the ceiling light.
- Fit the ceiling light with the screws.
- Replace the glass on the ceiling light.


















