Nowodvorski 8108 Agnes Square LED Ceiling Lamp

What’s Required

THIS PRODUCT CONTAINS A LIGHT SOURCE OF ENERGY EFFICIENCY CLASS: E (8108; 8112; 8135; 8138)
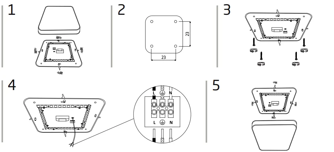
How To Assemble




THIS PRODUCT CONTAINS A LIGHT SOURCE OF ENERGY EFFICIENCY CLASS: E (8108; 8112; 8135; 8138)

Download manual
Here you can download full pdf version of manual, it may contain additional safety instructions, warranty information, FCC rules, etc.