
LINO 90/120/150

The installation may only be carried out by a technician
This product contains a light source of energy efficiency class D
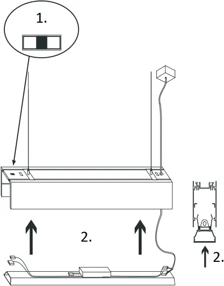
A. Suspension
(1)

(2)
| LINO 90 | 80 cm |
| LINO 120 | 110 cm |
| LINO 150 | 140 cm |

(3)

(4)

(5)

(6)

- ON/OFF
- DALI
- PUSH DIM
(7)

- max 50mm
- 6311801- WHITE
6311803 – BLACK - ON/OFF
- DALI
- PUSH DIM
(8)
Current selection by DIP-switch
LINO 90
| Pin1 | Pin2 | Pin3 | Currents (mA) | W |
| OFF | OFF | OFF | 450 | 18 |
| ON | OFF | OFF | 500 | 20 |
| ON | ON | OFF | 550 | 22 |
| ON | ON | ON | 600 | 24 |
LINO 120
| Pin1 | Pin2 | Currents (mA) | W |
| OFF | OFF | 500 | 21 |
| OFF | ON | 600 | 25 |
| ON | OFF | 700 | 29 |
| ON | ON | 800 | 33 |
LINO 150
| Pin1 | Pin2 | Currents (mA) | W |
| OFF | OFF | 900 | 37 |
| OFF | ON | 1050 | 43 |
| ON | OFF | 1100 | 45 |
| ON | ON | 1200 | 49 |

(9)

- CCT SWITCH
3000K / 3500K / 4000K - CLICK
(10)

- 6311001- WHITE
6311003 – BLACK
! ONLY FOR P/N – DIRECT/INDIRECT VERSION !
INSTALLING INDIRECT LED BOARD
(1)

(2)

- LINO INDIRECT LED KIT
LINO 90 – 6310751
LINO 120 – 6310851
LINO 150 – 6310951 - BROWN
- BLACK
- RED
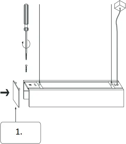
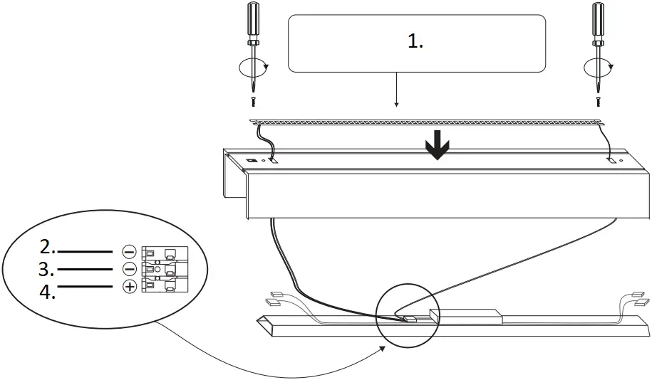
B. Surface
(1)

(2)

(3)

(4)

- CCT SWITCH
3000K / 3500K / 4000K
(5)
Current selection by DIP-switch
LINO 90
| Pin1 | Pin2 | Pin3 | Currents (mA) | W |
| OFF | OFF | OFF | 450 | 18 |
| ON | OFF | OFF | 500 | 20 |
| ON | ON | OFF | 550 | 22 |
| ON | ON | ON | 600 | 24 |
LINO 120
| Pin1 | Pin2 | Currents (mA) | W |
| OFF | OFF | 500 | 21 |
| OFF | ON | 600 | 25 |
| ON | OFF | 700 | 29 |
| ON | ON | 800 | 33 |
LINO 150
| Pin1 | Pin2 | Currents (mA) | W |
| OFF | OFF | 900 | 37 |
| OFF | ON | 1050 | 43 |
| ON | OFF | 1100 | 45 |
| ON | ON | 1200 | 49 |

(6)

- CLICK
- ON/OFF
- DALI
- PUSH DIM
(7)
Do not use screws

- 6311001- WHITE
6311003 – BLACK
C. Continuous connection
(1) ! Align profile with hole in the connector

(2)

(3)

- LOCK
(4)

CAUTION!
Turn off the main power before proceeding with the installation in order to prevent possible shock. The installation may only be carried out by a technician or a qualified person. If the lamp has a lampshade/diffuser, handle it carefully as it is fragile. With an integrated LED light source, only a technician or a qualified person can make the replacement. The manufacturer is not responsible for the incorrect use and assembly of its products.
![]()
CONNECTION – DIMMABLE VERSION – OPTIONAL
(1) PUSH DIM
220-240 V 50/60 Hz
(2) DALI/PUSH DIM
220-240 V 50/60 Hz
(3) DALI DIM
220-240 V 50/60 Hz
(4) TRIAC DIM
220-240 V 50/60 Hz
- Phase cut
Triac dimmer - Trailing edge
Leading edge
CAUTION!
Turn off the main power before proceeding with the installation in order to prevent possible shock. The installation may only be carried out by a technician or a qualified person. If the lamp has a lampshade/diffuser, handle it carefully as it is fragile. With an integrated LED light source, only a technician or a qualified person can make the replacement. The manufacturer is not responsible for the incorrect use and assembly of its products.














