AMERICAN LIGHTING 5CCT Swivel Undercabinet
Product Information
The LED 5 Complete is a swivel undercabinet light fixture designed for use in dry locations. It is available in 4 different lengths: 10″, 16″, 24″, and 32″. The fixture has a 5CCT (2700K | 3000K | 3500K | 4000K | 5000K) color temperature and a CRI of 90+. It has a wattage of up to 16.5W and can produce up to 1050 lumens. The fixture has a dimmable feature that can be adjusted from 10-100% with a TRIAC dimmer. The fixture is cETLus listed and has a rated life of 35,000 hours.
Product Usage Instructions
To use the LED 5 Complete, follow the steps below:
- Select the appropriate fixture based on your lighting needs. The fixture is available in four different lengths: 10″, 16″, 24″, and 32″.
- Use the provided mounting screws to attach the fixture to a surface that is suitable for dry location installation.
- Connect the fixture to a power source using the provided clamp connector and inline/direct connector.
- If you wish to dim the fixture, use a TRIAC dimmer and adjust the dimming range from 10-100% to suit your preferences.
- For additional power accessories, refer to the LED 5 Complete Accessories section of the user manual.
- For recommended dimmers, refer to the LED 5 Complete Recommended Dimmers section of the user manual.
Note: Minimum loads may apply, and switched wall outlets cannot be used with wall dimmers as per NEC regulations.
Information
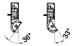
This adaptable, adjustable fixture allows for a wide range of illuminated area regardless of installation location. The fixture produces up to 1350 lumens and is field-switchable to five different color temperatures. With a pivot angle of ±32° the LED Complete 5 promises ultimate flexibility without compromising performance.
- Field-switchable 5CCT (2700K | 3000K | 3500K | 4000K | 5000K)
- High color rendering index of 90+ CRI
- 120V AC input
- Low power consumption not exceeding 16.5W
- Surface mount ultra-low profile
- 35,000 hour rated life
- cETLus listed for dry locations
LED COMPLETE 5 QUICK SPECS
| SERIES | 5LCS |
| INPUT VOLTAGE | 120V AC |
| CCT | 5CCT (2700K | 3000K | 3500K | 4000K | 5000K) |
| CRI | 90+ |
| WATTAGE | Up to 16.5W |
| LUMENS | Up to 1050Lm |
| BEAM ANGLE | 120° |
| DIMMABLE | 10-100% TRIAC |
| MOUNTING | Surface |
| RATING | cETLus Listed, Dry Locations |
| RATED LIFE | 35,000 hrs |
- Minimum loads may apply. Per the NEC, switched wall outlets cannot be used with wall dimmers.
QUICK DIMENSIONS

- 1/2” knockouts located on back end underside of fixutre, spaced every 4”

- Convenient rear access door

- Easy access to wiring compartment


| Part Number | L | W | H |
| 5LCS-10-5CCT | 10” | 3.625” | 1” |
| 5LCS-16-5CCT | 16” | 3.625” | 1” |
| 5LCS-24-5CCT | 24” | 3.625” | 1” |
| 5LCS-32-5CCT | 32” | 3.625” | 1” |
ORDERING INFORMATION
| ITEM NUMBER | CCT | LENGTH | LUMENS | WATTAGE | VOLTAGE | CRI | BEAM ANGLE | DIMMING |
| 5LCS-10-5CCT-WH | 5CCT | 10” | 385Lm | 7W | 120V AC | 90+ | 120° | 10-100% (TRIAC) |
| 5LCS-10-5CCT-DB | 5CCT | 10” | 385Lm | 7W | 120V AC | 90+ | 120° | 10-100% (TRIAC) |
| 5LCS-16-5CCT-WH | 5CCT | 16” | 620Lm | 11W | 120V AC | 90+ | 120° | 10-100% (TRIAC) |
| 5LCS-16-5CCT-DB | 5CCT | 16” | 620Lm | 11W | 120V AC | 90+ | 120° | 10-100% (TRIAC) |
| 5LCS-24-5CCT-WH | 5CCT | 24” | 925Lm | 15W | 120V AC | 90+ | 120° | 10-100% (TRIAC) |
| 5LCS-24-5CCT-DB | 5CCT | 24” | 925Lm | 15W | 120V AC | 90+ | 120° | 10-100% (TRIAC) |
| 5LCS-32-5CCT-WH | 5CCT | 32” | 1050Lm | 16.5W | 120V AC | 90+ | 120° | 10-100% (TRIAC) |
| 5LCS-32-5CCT-DB | 5CCT | 32” | 1050Lm | 16.5W | 120V AC | 90+ | 120° | 10-100% (TRIAC) |
5LCS FIXTURES INCLUDE: (1) 3/8” Clamp connector, (1) Inline/direct connector, (2) Captive mounting screws
ACCESSORIES

| ITEM NUMBER | DESCRIPTION |
| 5LCS-PC6-BK | 6’ Power Cable with 120V AC plug, Black Finish |
| 5LCS-PC6-WH | 6’ Power Cable with 120V AC plug, White Finish |
| 5LCS-EX6-BK | 6” Linking Cable, Black Finish |
| 5LCS-EX6-WH | 6” Linking Cable, White Finish |
| 5LCS-EX12-BK | 12” Linking Cable, Black Finish |
| 5LCS-EX12-WH | 12” Linking Cable, White Finish |
| 5LCS-BOX-DB | Hardwire Box with Power Connection Ports, Dark Bronze |
| 5LCS-BOX-WH | Hardwire Box with Power Connection Ports, White Finish |
| 5LCS-CON-DB | Replacement in-line connector, Dark Bronze Finish |
| 5LCS-CON-WH | Replacement in-line connector, White Finish |
POWER ACCESSORIES DETAILED INFORMATION
| ITEM NUMBER | LENGTH | FINISH | APPLICATION | VOLTAGE | WATTAGE | LISTING | DIMENSIONS |
| ALC-BOX-DB | Hardwire box with male/female Molex connections, end power connection ports, (6) 3/8” knockouts,and On/Off rocker switch | Dark Bronze | Dry Location | 120V AC | 150W X 2 | cETLus | 7-3/8”L x 2-1/8”W x 1”H |
| ALC-BOX-WH | White | Dry Location | 120V AC | 150W X 2 | cETLus | 7-3/8”L x 2-1/8”W x 1”H | |
| ALC-PC6-BK | 6ft power cord with 3-prong grounded plug and Molex connector | Black | Dry Location | 120V AC | 150W | cETLus | 6ft |
| ALC-PC6-WH | White | Dry Location | 120V AC | 150W | cETLus | 6ft |
RECOMMENDED DIMMERS
| BRAND | MODEL # | MAX CURRENT OUT (MA) | MIN CURRENT IN (MA) | DIMMING RANGE (%) |
| Lutron | CTCL-153P | 53.00 | 0.00 | 0-98 |
| Lutron | DVCL-153P | 54.00 | 1.00 | 2-98 |
| Lutron | CTCL-153PDH-WH | 53.00 | 0.00 | 0-98 |
Dimmer performance may vary in field application due to unknown external factors. Dimmers not included on the chart above are not necessarily incompatible; they have yet to be fully evaluated. Please reference dimmer manufacturer’s instructions for detailed information regarding performance and compatibility. Test data listed above is based on single lamp data. Recommended maximum 10 units connected to a single dimmer.
PHOTOMETRICS

Model/ Amperage/ Wattage
- 5LCS-10/ 0.065 /7
- 5LCS-16/ 0.105/ 11LCS-24/ 11
- 5LCS-24/ 0.135/ 15
- 5LCS-32/ 0.155/ 16.5
WARRANTY
LIMITED WARRANTY FOR LED PRODUCTS: 5 YEARS
LIMITED PRODUCT WARRANTY
Our products are warranted to be free from defects in material and workmanship for the warranty period listed. Warranty periods begin from the date of shipment from American Lighting Inc’s warehouse to the original purchaser. Products that prove to be defective during their specific warranty period will be either repaired or replaced, at the sole discretion of American Lighting Inc. Claims for defective products must be submitted in writing to American Lighting Inc’s RGA Department within the warranty period. Upon approval of such return, American Lighting Inc reserves the right to inspect the product for misuse or abuse. Claims for indirect or consequential damages or for product that, in American Lighting Inc’s opinion, has been misused will be denied. This is a warranty of product reliability only and not a warranty of merchantability or fitness for a particular purpose.
American Lighting Inc shall have no liability whatsoever in any event for payment of incidental or consequential damages, including, without limitations, installation costs and/or damages for personal injury and/or property. These products may represent a possible shock or fire hazard if improperly installed or altered in any way. This warranty does not apply to any product that has not been properly installed in accordance with current local codes and/or the National Electrical Code. Products that require a transformer, driver, or power supply must be used in conjunction with American Lighting Inc’s recommended power supply to ensure safety and retain product warranty.
PRODUCT SPECIFICATIONS
For the latest product information, updates, instructions and details concerning specifications, colors, finishes, performance, installation and design, visit www.americanlighting.com.
Color may vary from the color printed herein due to limitations in photographic and printing processes. American Lighting Inc. reserves the right to change product specifications without notice. Other product specifications such as color temperature, wavelength characteristics and lumen output are subject to production limitations and may vary. LED technology is changing rapidly, and not all color temperatures and performance levels can be duplicated at a later time. Best practices include purchasing 10-15% more for a particular project on the same initial order where white LED color temperatures must be maintained over project and product life. Eventual product replacement should be considered at layout and design stages. Best practices also include testing connections and product performance prior to mounting and/or installing.
AVERAGE LIFE
Average incandescent lamp life, rated life and average life are terms used to describe the number of hours at which half of the lamps have failed. For LEDs, the hours of rated life specify the point where 70% of original lumen output is reached. Below this point, the effective life is over, however, the LED may still emit light. Individual results may vary with actual environmental conditions including, but not limited to, proper installation, ambient temperature and/or input voltage fluctuations.
Warranty Card
- PROJECT: ……………………………..
- TYPE: ……………………………..
- LOCATION: ……………………………..
- CATALOG NUMBER: ……………………………..
Contacts
- www.AmericanLighting.com
- [email protected]
- Denver, CO
- 800.880.1180
©2022 American Lighting Inc. REV























