Willow MPL10W Double Swivel Picture Light

Introduction
All installations must be carried out by a qualified electrician following local regulations. Make sure that the power is switched off before installation. Please read and follow the `Installation instructions’ and `Safety instructions’ sections carefully before commencing installation.
Installation of this model can change from time to time please read instructions every time before installation. For detailed specification, please go to our website eurotechlighting.co.nz
Code: | Colour: | Dimensions (mm): | IP Rating: | Kelvins: | Lumens: | Material: | Voltage: | Wattage: |
MPL10WCCT | Satin Nickel or Black | 575L x 205W x 55H | IP20 | 3000K / 4000K/ 6000K | 660/ 670/ 640lm | Brass + Metal + PC | 230V | 10W |
| MPL12WCCT | 700L x 205W x 55H | 780/ 760/ 750lm | 12W |
Product Information


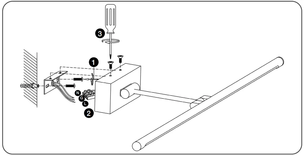
Installation Instructions
- Make sure power is turned off. Unscrew backplate.
- Gently knock the provided plastic expansion tubes into the pre-drilled holes, ensuring the plastic tubes are flush with the mounting surface.
Run the cable through the provided hole. Fix backplate to the wall. Connect cables paying attention to live + neutral + earth markings. - Screw fitting to backplate. Ensure installation is correct before switching on the fitting to test.

Safety Instructions
Read these instructions carefully before commencing installation.
- The light source contained in this luminaire shall only be replaced by the manufacturer or this service agent or a similar qualified person.
- This LED luminaire must be installed by a licensed electrician ONLY following all local regulations.
- Ensure that the cables will not be squeezed or damaged by sharp edges.
- Clean the light with a soft cloth and a standard PH-neutral detergent.
- Misuse of/or changes to the appliance shall void all warranties.
- Do not install on a surface that is not suitable or deformed.
- Do not install on or above a surface with a high temperature.
- There should not be any materials that are corrosive, explosive.
For detailed specification, please go to our website eurotechlighting.co.nz


















