FREDRICK RAMOND FR38405 Phoebe Large Multi Tier Ceiling Light Instruction Manual

SSEMBLY
Shut off electrical current before starting. If the fixture you are replacing is turned on and off by a wall switch, simply turn the switch off. If not, remove the appropriate fuse (or open the circuit breakers) until the fixture is dead. DO NOT restore Current either by fuse, breaker, or switch – until the new fixture is completely wired and in place.
- Determine the desired height the pendant will be installed.
- The fixture is supplied with assorted stem sizes. Determine what combinations of stems are needed to achieve desired length see Drawing 1.
- Slip stems over wire and thread first stem onto top of pendant, longest stem first. Repeat this process until all required stems are threaded together.
- Slip wire through center hole of chain link and thread chain link onto top of last stem installed.
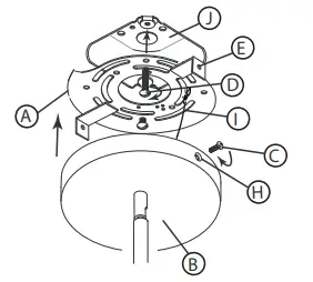
MOUNTING
- Make four holes in the ceiling for wall anchors
- Secure wall anchors to those holes
- Release mounting plate (P) by removing the four screws (B) in the side of the canopy (C)
- Secure mounting plate (P) to ceiling using screws (A) and wall anchors (W)
- Make wiring connections using IS 0-10 volt LED dimmer
- Secure canopy (C) to mounting plate using the previously removed screws (B)
SAFETY WARNING: READ WIRING AND GROUNDING INSTRUCTIONS Is o-10V AND ANY ADDITIONAL DIRECTIONS. TURN POWER SUPPLY OFF DURING INSTALLATION. IF NEW WIRING IS REQUIRED, CONSULT A QUALIFIED ELECTRICIAN OR LOCALAUTHORITIES FOR CODE REQUIREMENTS.
Wiring Instructions for 0-10 volt LED dimmer
Your fixture is designed so it can use a standard incandescent dimmer, Or a 0-10 volt LED dimmer. If a 0-10 volt LED dimmer is used, it may be necessary to have additonal wiring installed from the dimmer switch to the fixture. Consulting an electrician will be necessary:
- If using the optional 0-10 volt dimmer there will be four wires exiting the junction box. (B) Black [+], (W) White [-], wirng are for the 120 / 277 voltage. The (G) Gray/Pink {-} and (P) Purple {+} are for the 0-10 volt wires from the dimmer (D) – see Drawing 1.
- The fixture has four wires of corresponding colors. When make the wire connections follow the chart below:
Black (B) from junction box (J) wired to Black (B) from fixture . White (W) from junction box (J) wired to White (W) from fixture. Gray/Pink (G) from junction box (J) wired to Gray/ pink (G) from fixture. Purple (P) from junction box (J) wired to Purple (P) from fixture.
Connect ground wire from fixture to ground screw on mounting hardware.
INCANDESCENT DIMMER USAGE
If using an incadescent dimmer follow manufactures instructions.
NOTE: MAKE SURE TO CAP OFF THE GRAY/PINK AND PURPLE WIRE FROM THE FIXTURE INSIDE THE CANOPY. IF THEY ARE NOT CAPPED THEY CAN SHORT OUT AND CAUSE THE FIXTURE TO FAIL.
A Division of Hinkley Lighting, Inc.
33000 PIN OAK PARKWAY | AVON LAKE, OHIO 44012
toll free 800.446.5539
phone 440.653.5500





















