FLOWMASTER 817949 Force II Cat-Back Exhaust System
OVERVIEW:
- Take a moment to read and understand these instructions before installing your Flowmaster performance system.
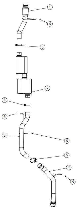
NOTE: Please inventory all parts now before continuing and if necessary, report any missing items to our tech line. This will avoid potentially stranding your vehicle until any missing replacement parts arrive.ITM # PART # DESCRIPTION QTY. 1 26872S Inlet Pipe 1 2 8530452-589 Force II Muffler 1 3 26874S Overaxle Pipe 1 4 26875S Exit Pipe 1 N/A PK1078 Hardware Package includes: 1 5 MC300BS 3″ Stainless Band Clamp 3 6 HW503 1/2″ Hanger Keeper 4
REMOVE STOCK EXHAUST SYSTEM:
- Raise vehicle up on a hoist or rack to working height. If you don’t have access to a hoist or rack, support vehicle with jack stands.
WARNING:
Avoid serious burns! Allow your vehicle time to cool completely before touching any factory engine components.
To ease preparation and installation of your new kit:
• Apply penetrating lubricant to mounts, bolts and clamps before you remove them.
• Use stands as necessary to support parts as you detach them from your vehicle and again as you install new parts.
- Cut tailpipe at muffler exit. Disassemble hanger wires from isolators and remove tailpipe section from vehicle.

- Support muffler and disassemble wire hangers from isolators. Loosen ball clamp, disconnect inlet pipe at cat. converter and remove exhaust system. Release tab to remove clamp from pipe and retain it for later use.

INSTALL FLOWMASTER EXHAUST SYSTEM
- Apply anti-seize compound to threaded fasteners for a more secure install.
NOTE: The image in this step is intended for illustrative purposes only and may or may not accurately reflect components included in your kit.
- Connect inlet pipe (1) to factory exhaust, using ball clamp (removed step 4) to fasten them together. Insert wire hanger in isolator and tighten clamp just enough to allow for adjustment.

- Place clamp (5) onto muffler (2) then connect it to inlet pipe. Tighten clamp just enough to allow for adjustment then place clamp (5) onto muffler outlet.

- Route overaxle pipe (3) over axle then connect it to muffler. Insert wire hangers into isolators then tighten clamp enough to allow for adjustment.

- Place clamp (5) onto exit pipe (4) then connect it to overaxle pipe. Insert wire hanger into isolator then tighten clamp just enough to hold parts.

- Adjust exhaust components for fit; maintaining 1/2″ clearance and compensating for suspension, travel and vibration then tighten all clamps. Fit (x4) hanger keepers (6) onto each sideways hanger.
- Recommended: Secure slip-fit connections with a 1-inch tack weld then spray high-temp paint over each weld.

Congratulations, the installation of your FLOWMASTER performance exhaust system is now complete!
Installation Diagram 817949 2021-2023 CHEVROLET TAHOE & GMC YUKON with 5.3L ENGINE & FACTORY SINGLE EXHAUST




























