Hauxley Picture Light Assembly Instructions
09-8040 / 09-8041
IMPORTANT SAFETY INSTRUCTIONS
READ THESE INSTRUCTIONS COMPLETELY BEFORE STARTING.
We strongly recommend that all direct-wired lighting products be installed by a licensed electrician.
Two people may be required for installation. DO NOT EXCEED the rated bulb wattage. Keep flammable materials away from bulb. This light fixture is shipped with all internal wiring intact. Do not open the product or alter the wiring in any manner.
Installation requires an electrical junction box in the wall sufficient to support the weight of the light fixture.
This fixture weighs 5.3 lbs./ 2.4 kg for 09-8040 and 4 lbs / 1.8 kg for 09-8041.
WARNING: Be certain that the power to the electrical junction box is turned off at the circuit breaker before installation. Turning the power off at a light switch is not sufficient to prevent electrical shock.
CAUTION: Prior to installation, locate ALL INCLUDED PARTS before disposing of packaging materials.
TOOLS REQUIRED FOR INSTALLATION:
- Screwdrivers
- Electrical Tape
- Wire Cutters
- Pliers
- Wire Connectors
- Adjustable Wrench
Note: Lightbulb(s) are not included, except where required by State of California Title 20. See light fixture for bulb specification. Additional wiring supplies may be required.
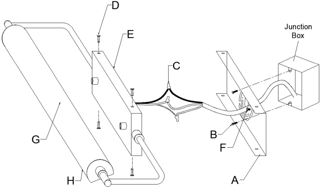
| Parts Included (refer to figure): | ||||||||
| Part | Qty. | Description | Part | Qty. | Description | Part | Qty. | Description |
| A | 1 | Mounting Plate | D | 4 | Screw | G | 1 | Shade |
| B | 2 | Mounting Screw | E | 1 | Backplate | H | 2 | Socket |
| C | 3 | Wire Nut | F | 1 | Ground screw | |||
Assembly Procedure (refer to figure):
SHUT OFF THE MAIN ELECTRICAL SUPPLY AT FUSE BOX/CIRCUIT BREAKER.
- Remove all parts from carton. Do not throw away any parts.
- Remove Mounting Plate (A) from Backplate (E) by loosening Screws (D).
- Affix Mounting Plate (A) to Junction Box with Mounting Screws (B) provided.
- Make proper electrical connections described in steps 6-8.
- A LICENSED ELECTRICIAN IS RECOMMENDED.
- Attach the BARE WIRE from the fixture to the GROUND JUNCTION BOX WIRE from the OUTLET JUNCTION BOX. Fasten each together with a WIRE NUT (C) by twisting the connector in a clockwise direction and wrap the connection with electrical tape. Make sure that no wire strands are exposed. If your OUTLET JUNCTION BOX DOES NOT have a GROUND WIRE, be sure to insert the GROUND SCREW (I) into the Mounting Plate (A), marked as “GND,” facing front and wrap the fixture’s bare GROUND WIRE around the GROUND SCREW. Tighten the screw to clamp the GROUND WIRE between GROUND SCREW (F) head and Mounting Plate (A). IT IS IMPERATIVE THAT THE JUNCTION BOX IN YOUR HOME BE PROPERLY GROUNDED!
- Connect the NEUTRAL FIXTURE WIRE to the NEUTRAL JUNCTION BOX WIRE. Fasten each together with a WIRE NUT (C) by twisting the connector in a clockwise direction and wrap the connection with electrical tape. Make sure that no wire strands are exposed.
- Connect the HOT FIXTURE WIRE to the HOT JUNCTION BOX WIRE. Fasten each together with a WIRE NUT (C) by twisting the connector in a clockwise direction and wrap the connection with electrical tape. Make sure that no wire strands are exposed. DO NOT REVERSE THE HOT AND NEUTRAL CONNECTIONS OR SAFETY WILL BE COMPROMISED.
- Put the lamp onto the Mounting Plate (A) and secure with Screws (D).
- Install proper lightbulb into Socket.
Care and Cleaning:
- Wipe with a soft dry cloth.
- AVOID cleaners, scouring pads, etc.

After troubleshooting, if the lighting fixture still does not work, contact your local Ethan Allen Design Center.
SAVE THESE INSTRUCTIONS
©2021 Ethan Allen Global, Inc.
10/08/2021
















