ZEVNI A04518 Fido 28 Inch Wide Island Light

Item Number: A04518
WARNING (To reduce the risk of fire, electric shock, or personal injury):
- We suggest installation by a licensed electrician.
- Please read the instruction carefully and save it as you may need it at a later time.
- Before you start, NEVER attempt any work without shutting off the electricity until the work is done.
Go to the main fuse, or circuit breaker, box in your home. Place the main power switch in the “OFF” position.
Place the wall switch in the “OFF” position. - Mounting surface should be clean, dry, flat, strong enough and 1/4″ larger than the canopy on all sides. Any gaps between the mounting surface and canopy exceeding 3/16″ should be corrected as required.
- Make sure that the ceiling or wall can stand the weight of the lamp before installation.
- Make sure the voltage you are using is 120V. The maximum wattage is 40W per bulb.
- Keep the lamp away from acidic and alkaline substances in case of damaging the surface of the lamp.
- When replacing bulbs, you should turn off or unplug the lamp and you must wait until it is cool as bulbs get hot quickly.
- The safety instructions appearing in this manual are not meant to cover all possible conditions that may occur. It must be understood that common sense, caution and care must be used with any electrical products.
IMAGE FOR FINISHED PRODUCT

TOOLS REQUIRED (NOT INCLUDED)
Before starting assembly and installation please prepare the needed tools as below picture

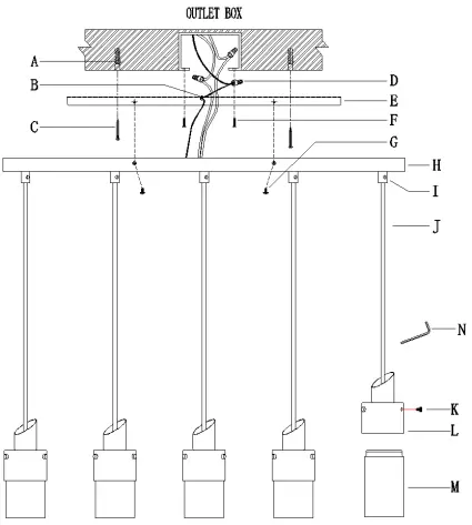
PARTS TYPE & QTY INCLUDING

- (B) Green ground screw (1)
- (E) Mounting plate assembly (1)
- (G) Stud (4)
- (H) Canopy (1)
- (I) Strain relief (10)
- (J) Cord (5)
- (K) Screw (15)
- (L) Socket (5)
- (M) Glass shade (5)
ACCESSORIES & QTY ENCLOSED
- (A) Anchor (2)
- (C) Wood screws (2)
- (D) Plastic Wire Connector (3)
- (F) Mounting screw (2)
- (N) Allen wrench (1)
ASSEMBLY & INSTALLATION INSTRUCTIONS
- Carefully remove the fixture from the carton and check that all parts and accessories are included as shown in the above illustration.
- Turn off power Before you start the installation, NEVER attempt any work without shutting off the electricity until the work is done.
Go to the main fuse, or circuit breaker, box in your home. Place the main power switch in the “OFF” position.
Place the wall switch in the “OFF” position. - Unscrew studs (G) from canopy (H) then gently remove mounting plate (E). Then set them aside for later installation.

- Adjust the length of cords (J) to achieve the desired height of the mounted fixture.
- Use Allen wrench (N) to unscrew the screws in strain reliefs (I), carefully pull and push cords (J) through canopy (H) and strain reliefs (I) to lengthen or shorten the length of cords (J).
- Once the desired height of fixture is achieved, carefully tighten the screw till snug.
- Carefully pass the supply wires from the outlet box through mounting plate (E).

NOTE: To drill the holes on the wall for anchors (A), attach mounting plate (E) to the outlet box with mounting screws (F) and mark the holes.- Unscrew mounting screws (F) and remove mounting plate (E).
- Drill holes and gently knock anchors (A) into the holes until anchors (A) are level with the wall.
- Secure mounting plate (E) to the outlet box with mounting screws (F) and wood screws (C).
- Make wire connections
Connect wires as below wires connection shown. REFER TO THE FOLLOWING CHARTS, NEVER CONNECT OTHER WIRES TO GROUND WIRES.
Twist wires together with plastic wire connectors until tightly joined, and wrap each connector with approved electrical tape. Be sure that no wire strands are exposed and then carefully tuck all wires into the outlet box. - Position canopy (H) and mounting plate (E) in place, carefully thread studs (G) through the holes in canopy (H) and mounting plate (E). Secure them by tightening studs (G).

- 1) Remove screws (K) from sockets (L).

2) Install bulbs (Not included) (Please do not exceed the maximum wattage recommended on the socket.)
3) Carefully place glass shades (M) on sockets (L), then secure them in place with screws (K). - Check everything is already installed properly, then you could turn on the light. Enjoy!
ORDERING PARTS
Keep this sheet for future reference in case you need to order replacement parts. All parts for this fixture can be ordered from the place of purchase. Be sure to use exact wording from illustration when ordering parts.
CLEANING
To clean, wipe the fixture with a soft cloth. Clean glass with a mild cleaner (such as mild and non-abrasive soap). Do not use abrasive materials such as scouring pads or powders, steel wool or abrasive paper.
+1 850 296 2377 Working hours : Mon – Fri 9:00 a.m. – 16:00 p.m. EST

























