
INSTALLATION INSTRUCTIONS

for
Outside Vertical Unloader Assembly
(Bottom Drive)
SHIVVERS MFG, INC
614 W. English Street
Corydon, Iowa 50060
Ph. (641) 872-1005 Fax (641) 872-1593
www.shivvers.com
P-10649
05-04-2023
REV D.
![]()
Corydon, Iowa
Outside Vertical Assembly
(Bottom Drive)

6″ VERTICAL DOWNSPOUT ASSY. (235A-001A)
8″ VERTICAL DOWNSPOUT ASSY. (243A-001A)
| ITEM | DESCRIPTION | QTY | PART NO. |
1 | 6″ Downspout Wldt. 8″ Downspout Wldt. | 1 | 235-009W 243-007W |
2 | Plastic Bearing | 1 | 235-005P |
3 | Nut, Hex, 5/16-18 Nyloc | 2 | F-1005-02 |
4 | Carriage Bolt, 5/16-18 X 2-1/4 | 2 | F-1707 |
5 | Fitting, Grease, 1/4-28 Self Tap | 1 | H-1056 |
6 | Bearing Plate, 8″ VU | 1 | 243-008P |
7 | Carriage Bolt, 3/8-16 x 1″ | 4 | F-1274 |
8 | Washer, 3/8 | 4 | F-1009-03 |
9 | Lockwasher, 3/8 | 4 | F-1019-03 |
10 | Nut, 3/8 16 | 4 | F-1011-03 |
6″ VERTICAL UNLOADER ASSY. (234A-001A)
8″ VERTICAL UNLOADER ASSY. (242A-001A) (14′)
8″ VERTICAL UNLOADER ASSY.(242D-001A)(18′)
| ITEM | DESCRIPTION | QTY | PART NO. |
| 6 | Sprocket, 29T, 1″ Bore #50 Chain | 1 | D-3363 |
| 6A | Sprocket, 21T (before 1985) | D-3007-01 | |
| 7 | Setscrew, Socket HD, 5/16-18 X 3/8 | 2 | F-1007-22 |
| 8 | Square Key, 1/4 X 1″ | 1 | 234-002P |
| 9 | Locknut, Hex, 3/8-16 w/ Nyloc | 6 | F-1239 |
| 10 | Vert. Unload GB w/ 19T & 14T Gears | 1 | 248C-001A |
| 11 | Capscrew, Hx, 3/8-16 X 2 | 2 | F-1073 |
| 12 | Capscrew, Hx, 3/8-16 X ¾ | 4 | F-1015-23 |
| 13 | 6″ Vert. Trans. 90° WLDT. 8″ Vert. Trans. 90° WLDT. (14′) 8″ Vert. Trans. 90° WLDT. (18′) | 1 | 234-015W 242-008W 242-030W |
| 14 | 6″ Vert. Auger WLDT. 8″ Vert. Auger WLDT.(14′) 8″ Vert. Auger WLDT. (18′) | 1 | 234-006W 242-009W 242-027W |
| 15 | Plug, Plastic, Red, Low Density | 1 | H-9007-01 |
| 16 | Capscrew, Hx, 3/8 X 1-1/2 | 4 | F-1015-27 |
| 17 | Washer, Flat, 3/8″ | 8 | F-1009-03 |
| 18 | Decal, Warning – Rot. Equipment | 1 | P-10223 |
| 19 | 8″ TA Halfband | 1 | 671-017P |
IN PARTS BOX (Not Included w/ Assy)
| ITEM | DESCRIPTION | QTY | PART NO. |
| 20 | Outside Vertical Unl Roller Chain, 6″ only Outside Vertical Unl Roller Chain, 8″ only | 1 1 | 423-470-001A 423-469-001A |
| 21 | Ø4″ Plastic Idler Block | 1 | 237-025P |
NOTE: BOTH IDLER BRACKETS USE HARDWARE FROM 242-022A HARDWARE SACK.
NEW STYLE IDLER BRACKET

- 242-021P
SPROCKET SHIELD IDLER BRACKET - F-1253
STAR WASHER
OLD STYLE IDLER BRACKET

- 237-024P
BRACKET, IDLER
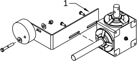
Installing Outside Vertical
(Bottom Drive with Extension)
Installing Vertical Unload Extension (if used).
(If extension is not used, go to next page.)
Remove (2) 3/8-16 X 2″ capscrews and (2) 3/8-16 locknuts from Gearbox shaft and Flite Weldment.
Remove Top Plate and bearing. Pull fliting out through top and attach 4′ Extension Elite (#5) to bottom of Elite Weldment using same capscrews and nuts.
Be sure the fliting is timed between the two sections (See Note).
Slide fliting assembly back into Vertical Transition Weldment and reattach to Gearbox shaft with (2) 3/8-16 X 2″ capscrews and (2) 3/8-16 locknuts, provided with the Extension Kit.
Slide Sleeve (#7) provided in the Extension Kit over Vertical Transition Weldment.
Slide 4′ Extension Tube (#6) over ‘lilting and butt up against Vertical Transition Weldment. Seam of the tubes should be centered with middle (3rd) hole in the sleeve.
Use hardware included in Extension Kit to secure Sleeve.
There should be (5) 3/8-16 X 1-1/2″ capscrews, (5) 3/8-16 locknuts, and (10) 3/8″ flat washers.
Slide Downspout Weldment over assembled Vertical Unloader so that the tubes are butted up against each other. Use Hardware from 237-013A Vert. Downspout Sack in parts box to secure Sleeve on Downspout Weldment. Fasten Top Plate and Bearing to downspout.
6″ VERTICAL UNLOADER EXTENSION (234B-001A)
8″ VERTICAL UNLOADER EXTENSION (242C-001A)
| ITEM | DESCRIPTION | QTY | PART NO. |
| 1 | Washer, Flat, STD, Steel 3/8″ | 10 | F-1009-03 |
| 2 | Capscrew, Hx, 3/8-16 X 1-1/2 | 5 | F-1015-27 |
| 3 | Capscrew, Hx, 3/8-16 X 2 | 2 | F-1073 |
| 4 | Locknut, Hex, 3/8-16 w/ Nyloc | 7 | F-1239 |
| 5 | 6″ Ext. Flite Weldment, 4′ Long 8″ Ext Elite Weldment, 4′ Long | 1 | 234-016W 242-017W |
| 6 | 6″ Tube, 48″ Long 8″ Tube, 48″ Long | 1 | 234-019P 242-019P |
| 7 | 6″ Sleeve 8″ Sleeve | 1 | 272-005P 243-006P |
NOTE: Make sure flite shaft goes into Plastic Bearing in Top Plate

a) Plastic Bearing
b) Downspout Weldment
c) 4′ Extension Tube
d) Sleeve
e) Vertical Auger Weldment
f) 4′ Extension Flite
g) Vertical Transition 90° Wldt.
h) Vertical Unload Gearbox
i) NOTE: Make sure fliting is timed.
Bottom fliting should overlap (be on top of) top fliting.
Installing Outside Vertical
(Bottom Drive)
Mounting motor with outside vertical, side discharge.
Slide channel (237-032P) onto motor mount weldment (237-010W). Use hardware from vertical motor mount sack (237-015A) to attach motor mount to transition and to attach belt idler and motor to motor mount, as shown. If Horizontal Unloader was originally set up for a straight down discharge, the motor mount will need to be changed and the transition will need to be rotated 90° to accommodate the Outside Vertical.

- Outside vertical not shown for clarity.
- Motor mount
- F-1759 (3)
1/2-13 X 1 Capscrew - Transition
- F-1005-05 (2)
1/2-13, Stover locknut - F-1009-05 (3)
1/2″ flat washer - F-1239 (4)
Locknut, 3/8-16 w/ nyloc - F-1009-03 (8)
Washer, flat, 3/8″ - 237-032P
Channel - F-1009-03 (Ref.)
- F-1015-27 (4)
3/8-16 X 1-1/2 Capscrew - 248C-001A
Vertical unloader gearbox - D-3363
29 Tooth sprocket - Belt shield and 15″ pulley removed for clarity of drawing
- 237-010W
Vertical motor mount wldt. - 97-030A
Belt idler assy. - Motor
With an outside vertical, the horizontal unload tube is rotated 90° to discharge to the side into the vertical. It may be easier to rotate the horizontal unload tube so the discharge opening is facing up, then bolt the vertical auger to it using hardware from 90° Transition Sack, 237-014A. Then rotate the vertical auger upward. If using a hanger bearing horizontal unload, make sure the hangers are straight up when assembly is complete. Attach the downspout to the vertical auger using hardware from Vertical Downspout Sack, 237-013A, as shown. Make sure the vertical auger fliting goes into the plastic bearing at the top of the downspout. To replace the top bearing, remove Top Plate with Plastic Bearing attached. The bottom halfband can be removed to clean out the bottom portion of the auger or to access the fliting connection. To replace Auger, remove bolts at bottom of auger and remove Top Plate with Bearing. Slide Auger through top opening.
ALWAYS FOLLOW SAFETY DECAL WARNINGS AND LOCKOUT PROCEDURES.
SPOUT SHOWN WITH CUTOUTS FOR VISIBILITY OF HARDWARE

- FLITING WELDMENT
- F-1015-27 (3)
CAPSCREW, HX 3/8-16 X 1-1/2 - F-1009-03 (6)
WASHER, FLAT, STD, STEEL 3/8″ - F-1239 (3)
LOCKNUT, HEX, 3/8-16 WITH NYLOC - OUTSIDE VERTICAL
- F-1239 (8)
LOCKNUT, HEX, 3/8-16 WITH NYLOC - F-1394 (8)
HHCS, 3/8-16 X 1″ - 248C-001A
VERT. UNL. GB - Transition rotated 90°
Installing Support Legs
After the whole Outside Vertical is assembled, the telescoping support legs can be attached to the Outside Vertical Tube, as shown. Once that is complete, rotate the unit into position. If using a hanger bearing horizontal unload, make sure the hangers are straight up when assembly is complete. Use temporary supports under the assembly until all support legs are secured to bin wall.
| ITEM | DESCRIPTION | QTY | PART NO. |
1 | Bracket Weldment, Bin Brace | 2 | 237-005W |
2 | Support Leg Weldment, Outside 30″ | 2 | 237-034W |
3 | Support Leg, Inside 30″ | 2 | 237-035P |
4 | 6″ Half Band 8″ Half Band | 1 | 201Z-023P 201B-024P |
5 | 6″ Two Earred Half Band Weldment 8″ Two Earred Half Band Weldment | 1 | 237-004W 244-002W |
5A | 6″ Triple Earred Half Band Weldment 8″ Triple Earred Half Band Weldment | 273-009W 397-002W | |
A | Sack, Bin Brace | 1 | 237-012A |
6 | Nut, Hex, 5/16-18 UNC-2B Nyloc | 4 | F-1005-02 |
7 | Washer, Flat, STD, Steel 5/16″ | 4 | F-1009-02 |
8 | Washer, Flat, STD, Steel 3/8″ | 8 | F-1009-03 |
9 | Capscrew, Hx, 3/8-16 X ¾ | 4 | F-1015-23 |
10 | Capscrew, Hx, 3/8-16 X 1-3/4 | 4 | F-1015-28 |
11 | Capscrew, Hx, 3/8-16 X 2-1/2 | 4 | F-1015-30 |
12 | Bolt, Bin w/ Washer 5/16-18 X 1 | 4 | F-1027-02 |
13 | Locknut, Hex, 3/8-16 w/ Nyloc | 8 | F-1239 |

a) Assembled Outside Vertical
Follow instructions from P-11875 supplied with the belt shield for cutting out belt shield back and installing sprocket shield for bottom drive outside vertical chain. Align sprockets and install chain idler and chain for outside vertical. Note: the external star washer, F-1253, is installed between 242-021P (idler bracket) and 237-025P (chain idler) to prevent 237-025P from rotating under load.
For standard installations, the hole closest to the chain should provide adequate slack chain take-up. If this does not provide enough take-up, remove a link. In most cases, the UHMW block, 237-025P, should rotate clockwise to tension the chain.
Put on the sprocket shield cover.

- Chain contains 237-003A, #50 Roller Chain, 57 links, with 4 half links and 1 master link and 244-003A (QTY 2 FOR 8″ ONLY), #50 Roller Chain, 7 links, with 1 half link and 1 master link, each. Use as necessary.
- D-3363
29 Tooth Sprocket - 242-020W
Sprocket Shield - 242-018P
Sprocket Shield Cover - F-1785 (3)
Hx-Slt-Wash-Hd Screw, #14 X 3/4 - 242-021P
Idler Bracket - 237-025P
Chain Idler - 220-007P
32 Tooth Sprocket


















