![]()
LIEBHERR SRSFE 5220 Plus Upright Refrigerator Installation Guide

The manufacturer is constantly working to improve all types and models. Therefore, please be aware that we reserve the right to make changes to the shape, equipment and technology.


1. General safety instructions
- Please keep this assembly manual in a safe place so you can refer back to it at any time.
- If you pass the appliance on, please hand this assembly manual to the new owner.
- Read this assembly manual before installation and use in order to use the appliance safely and correctly. Follow the instructions, safety instructions and warning messages included at all times. They are important for ensuring you can operate and install the appliance safely and without any problems.
- First read the general safety instructions in the “General safety instructions” section of the operating instructions, which accompany these installation instructions, and follow them. If you cannot find the operating instructions, you can download the operating instructions from the internet by entering the service number at home.liebherr.com/fridge-manuals. The service number can be found on the serial tag:

Observe the warning messages and other detailed information in the other sections when installing the appliance:
DANGER: indicates a hazardous situation, which if not avoided, will result in death or serious injury.
WARNING indicates a hazardous situation, which if not avoided, could result in death or serious injury.
CAUTION indicates a hazardous situation, which if not avoided, will result in minor or moderate injury.
NOTICE indicates a hazardous situation, which if not avoided, could result in damage to property.
Note indicates useful advice and tips.
2. Setup conditions
WARNING
Risk of fire due to moisture!
If live parts or the power cord get wet, this can cause a short circuit.
The appliance is designed for use in enclosed spaces. Do not operate the appliance in open space or in damp areas or where there is spray.
Normal use
– Only set up and use the appliance in enclosed spaces.
2.1 Space
WARNING
Leaking refrigerant and oil!
Fire. The refrigerant contained within the appliance is environmentally friendly, but flammable. The oil contained within the appliance is flammable. Escaping refrigerant and oil can ignite if they are of high enough concentration and are exposed to an external heat source.
- Do not damage the pipelines of the coolant circuit and the compressor.
- If the appliance is installed in a very damp environment condensate water may form on the outside of the appliance. Always make sure the installation area is well ventilated.
- The more refrigerant is in the appliance, the larger the room must be where the appliance is located. In the case of a leak, a flammable gas-air mixture may be created in a room that is too small. For every 8 g of refrigerant, the installation space must be at least 1 m3. Specifications regarding the refrigerant contained within the appliance can be found on the rating plate inside the appliance.
2.1.1 Installation surface
- The floor of the installation site must be horizontal and level.
- The height of the appliance base must be the same as the surrounding floor.
2.1.2 Installation position
- Do not install the appliance in direct sunlight or next to an oven, heater, or similar heat source.
- Always stand the appliance backed directly to the wall using the enclosed wall spacers (see below).
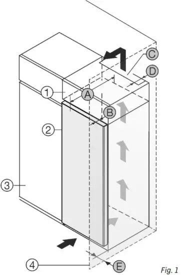
2.2 Fitting the appliance into the kitchen unit
The appliance can be built into kitchen cabinets.

(1) Top cupboard
(2) Appliance
(3) Kitchen cabinet
(4) Wall
(A) Appliance depth
(B) Door depth
(C) Ventilation cross-section
(D) Distance to the rear of the appliance
(E) Distance to the side of the appliance

Appliances without handle / with recessed grip
Set up the appliance directly next to the kitchen cabinet Fig. 1 (3).
There must be a ventilation shaft at the depth Fig. 1 (D) of the back of the top cupboard over the entire width of the top cupboard.
The cross section of the ventilation gap Fig. 1 (C) must be maintained below the ceiling.
If the appliance is installed with the hinges next to a wall Fig. 1 (4), the distance between the appliance and the wall must be at least 13 mm.
If the appliance is installed with the hinges next to a wall Fig. 1 (4), the distance between the appliance and the wall must be at least 20 mm.
In order to be able to fully open the door, the appliance must protrude by the depth Fig. 1 (B) of the door from the front of the kitchen cabinet. Regardless of the depth of the kitchen cabinets Fig. 1 (3) and use of wall spaces, the appliance can protrude further.
Ensure that the following conditions are met:
- Recess dimensions are adhered to .
- Ventilation requirements are complied with (see 4 Ventilation requirements) .
2.3 Setting up multiple appliances
NOTICE
Risk of damage caused by water condensate!
- Do not install this device directly beside another fridge/ freezer compartment.
These appliances are designed for different types of installation. Only combine appliances if the appliances are designed for this. The following table shows the installation options by model:

Assemble appliances according to separate installation instructions.
2.4 Electrical connection
WARNING
Improper use!
Fire. If a power cable/plug comes into contact with the back of the appliance, the power cable/plug can be damaged by appliance vibrations and this may result in a short circuit.
- Install the appliance so that it does not touch any plugs or power cables.
- Do not connect any appliances to sockets in the area of the back of the appliance.
- Multi-sockets/power distributors and other electronic appliances (such as halogen transformers) may not be placed and operated at the back of appliances.
3. Installation dimensions

Fig. 3

x For appliances with supplied wall spacers, the dimensions must be increased by 15 mm .
4. Ventilation requirements
NOTICE
Risk of damage due to overheating in the case of insufficient ventilation!
In the case of insufficient ventilation, the compressor can be damaged.
- Make sure there is sufficient ventilation.
- Observe the ventilation requirements.
If the appliance is integrated in a fitted kitchen, the following ventilation requirements must be met:
- The spacing fins on the back of the appliance are used to ensure sufficient ventilation. These must not lie in cavities or recesses in their final installation position.
- Basically, the larger the ventilation gap, the more energy the appliance saves during operation.
5. Transporting the appliance
- Transport the appliance in its packaging.
- Transport the appliance upright.
- Use two people when transporting the appliance.
6. Unpacking the appliance
If the appliance is damaged check with the supplier immediately before connecting it.
- Check the appliance and packaging for damage during transport. If you suspect any damage, please contact your supplier immediately.
- Remove all materials that could prevent it from being installed properly or prevent proper ventilation from the back or the side panels of the appliance.
- Remove all protective films from the appliance. Do not use sharp or pointed objects for this.
- Remove the mains cable from the back of the appliance.
Also remove the cable holder, otherwise there will be vibration noise!
7. Mounting wall spacers
The spacers must be used in order to reach the declared energy consumption levels as well as to avoid the formation of condensate water at high levels of ambient humidity.
These will extend the depth of the appliance by approx. 15 mm. The appliance is fully functional if the spacers are not used, but it will consume slightly more energy.
- If wall spacers are supplied with an appliance, these wall spaces must be mounted on the left and right of the back of the appliance.

8. Setting up the device
CAUTION
Risk of personal injury!
- Have two people move this appliance into place.
CAUTION
Risk of injury and damage!
The door can strike against the wall, which would damage it. In the case of glass doors, the broken glass may cause injury!
- Protect the door from striking against the wall. Place a door stopper, e.g. a felt stopper, on the wall.
- A device that limits door opening to 90° can be ordered from a qualified service provider.
WARNING
Unstable appliance!
Risk of injury and damage. The appliance can tip over.
- Secure the appliance according to the operating instructions.
WARNING
Danger of fire and damage!
- Do not place devices that give off heat, e.g. microwaves, toasters, etc. on the appliance.
Make sure that the following requirements are fulfilled:
- Only move the appliance when it is not loaded.
- Only set up the appliance when someone is present to help you.
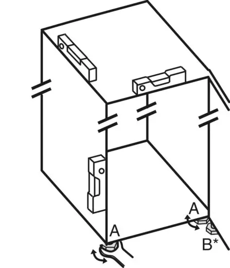
9. Setting up the appliance level
CAUTION
Risk of injury or damage from the appliance tipping or the door falling open!
If the additional adjustable foot on the base support is not correctly positioned on the floor, there is a risk of the door falling open or the appliance tipping. This can lead to injury or property damage.
- Unscrew the additional adjustable foot on the support until it reaches the floor.
- Then turn it another 90°.
- Align the appliance so that it stands firmly and by applying the accompanying spanner to the adjustable height feet (A) and using a spirit level.
- Then prop up the door: Lower the adjustable foot on the bearing bracket (B) until it contacts the floor, then turn it an additional 90°.

- Then prop up the door: Screw out the adjustable foot on the bearing bracket (B) using the open-ended wrench SW10 until it comes into contact with the floor, then turn an additional 90°.
10. After setup
- Pull off the protective film from the outside of the housing.
- Pull off the protective film from the trim strips.
- Pull off the protective film from the trim strips and drawer fronts.
- Pull off the protective film from the stainless steel rear panel.
- Remove all transport packaging.
- Clean the appliance .
- Make a note of type (model, number), appliance designation, appliance/serial no., date of purchase, and dealer address in the designated fields .
11. Disposal of packaging
WARNING
Danger of suffocation from packaging materials and films!
- Do not allow children to play with packaging materials.
The packaging is made from recyclable materials:
- Corrugated card/cardboard
- Parts made of foamed polystyrene
- Films and bags from polyethylene
- Packing bands from polypropylene
- Wood frame nailed together with a polyethylene window*
Take the packaging material to an official collection point.
12. Explanatory symbols used




13 **** freezer compartment door*
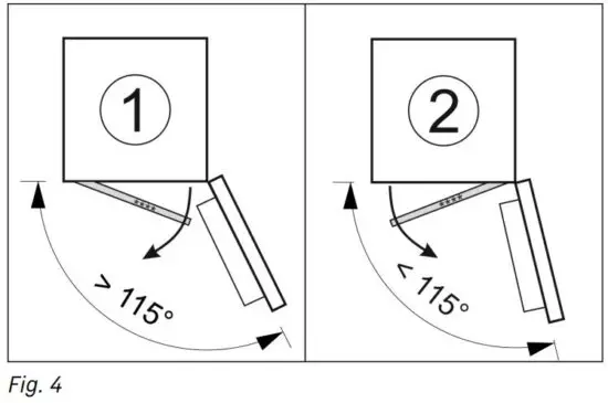
It is very easy to reposition the hinge of the **** freezer compartment door if the main door hinge is swapped. If the main door of the appliance can be opened to more than 115° (1), you can open the freezer compartment without repositioning the hinge. If the opening angle (2) of the appliance door is less than this, the hinge must be repositioned.

13.1 Moving the door hinge
The slider for moving the door hinge is located on the back of the **** freezer compartment door at the bottom.

Fig. 5
- Close the **** freezer compartment door (1).
- Grab the **** freezer compartment door from below.
- Move the slider (2) either to the right or to the left.
14. Reversing the door
Tools

WARNING
Risk of bodily injury due to the door falling off.
If the bearing parts are not installed with the proper torque, the door may fall off. In addition, the door may not close, thus impairing the cooling performance of the appliance.
- Die Lagerböcke/Lagerbolzen fest mit 4 Nm anschrauben.
- Check all screws and retighten if necessary.
NOTICE
Risk of damage to side-by-side appliances caused by condensate!*
Certain appliances can be set up as side-by-side combinations (two appliances beside one another).
If your appliance is a side-by-side appliance:
- Install the SBS combination in accordance with the accompanying sheet.
If the configuration of appliances is specified: - Do not change the door stop.

Fig. 7
Observe the reading direction.
14.1 Removing the door
Note
- To prevent food items from falling out, take all food out of the door racks before removing the door.

Fig. 8
- Open the door.
NOTICE
Risk of damage!
If the door seal is damaged the door may not close properly and the level of cooling is insufficient.
- Do not damage the door seal with the screwdriver!
- Remove the outer cover. Fig. 8 (1)
- Disengage and release the bearing bracket cover.
Remove the bearing bracket cover. Fig. 8 (2) - Unlatch the panel with a slotted screwdriver and swivel it to one side. Fig. 8 (3)

Fig. 9
CAUTION
Risk of injury if the door tips out!
- Keep a steady grip on the door.
- Set the door down carefully.
- Carefully remove the protective cover. Fig. 9 (1)
- Loosen the bolts slightly with a T15 screwdriver. Fig. 9 (2)
- Hold the door and remove the bolts with your fingers. Fig. 9 (3)
- Pull the bearing bush out of the guide. Insert from the other side and latch into place. Fig. 9 (4)
- Lift the door and place it to one side.
- Carefully lift the plugs out of the door bearing bush with a slotted screwdriver and remove them. Fig. 9 (5)
14.2 Reversing the freezer compartment door*

Fig. 10
- For single-door appliances: Switch the door hinge of the 4-star compartment by shifting the lever. The door of the 4-star compartment must be closed for this to happen. Shift the lever on the back of the door from below.
14.3 Moving the upper bearing parts to the other side

Fig. 11
- Remove both screws with a T20 screwdriver.
- Lift and remove the bearing bracket.

Fig. 12
- Take off the cover to the front from above. Fig. 12 (1)
- Rotate the cover 180° and clip onto the other side from the right. Fig. 12 (2)
- Latch the cover into place. Fig. 12 (3)
- Position the upper bearing bracket. Fig. 12 (4)
- Insert the screw with a T20 screwdriver and tighten it. Fig. 12 (5)
- Insert the screw with a T20 screwdriver and tighten it. Fig. 12 (6)
14.4 Moving the lower bearing parts to the other side

Fig. 13
- Lift the bearing pin completely upward and remove it. Fig. 13 (1)
- Remove the screws with the T20 screwdriver and take off the bearing bracket. Fig. 13 (2)

Fig. 14
- Loosen the screw using a T25 screwdriver. Fig. 14 (1)
- Lift the door closing aid and turn it 90° to the right in the hole. Fig. 14 (2)
- Tighten the screw using the T25 screwdriver. Fig. 14 (3)

Fig. 15
- Take off the cover. Fig. 15 (1)

Fig. 16
- Place the bearing bracket on the other side and screw it in using the T20 screwdriver. Start with screw 2 at the bottom in the middle. Fig. 16 (2)
- Screw in screws 3 and 4. Fig. 16 (3,4)
- Insert the bearing pin completely. Make sure that the latching lug is pointing to the rear. Fig. 16 (5)

Fig. 17
- Put back the cover on the other side. Fig. 17 (1)
14.5 Moving the door bearing parts to the other side

Fig. 18
- Underside of door faces upwards: Turn the door.
- Push the lug downward with a slotted screwdriver. Fig. 18 (1)
- Pull the door latch out of the guide. Fig. 18 (2)
- Push the door latch into the guide on the other side. Fig. 18 (3)
- Upper side of door faces upwards: Turn the door.
14.6 Fitting the door

Fig. 19
- Place the door on the bottom bearing pins.
- Align the top of the door with opening in the bearing bracket. Fig. 19 (1)
- Insert the bolt and tighten with a T15 screwdriver. Fig. 19 (2)
- Fit the protective cover to protect the door: Insert the protective cover and check that it lies flush on the door.
If not, insert the bolt fully. Fig. 19 (3) - Insert the plugs. Fig. 19 (4)
14.7 Aligning the door
WARNING
Risk of bodily injury due to the door falling off.
If the bearing parts are not installed with the proper torque, the door may fall off. In addition, the door may not close, thus impairing the cooling performance of the appliance.
- Die Lagerböcke fest mit 4 Nm anschrauben.
- Check all screws and retighten if necessary.
- Align the doors flush with the appliance housing using the two slots in the lower bearing bracket, if needed. To do this undo the middle screw in the bottom bearing bracket with the T20 tool supplied. Undo the remaining screws a little with the T20 tool or with a T20 screwdriver and align via the slots.
- Prop up the door: Screw out the adjustable foot on the bearing bracket using the open-ended wrench SW10 until it comes into contact with the floor, then turn an additional 90°.
14.8 Fitting the covers
For appliances without soft stop mechanism:

Fig. 20
The door is open 90°.
- Position the bearing bracket cover and engage it. If necessary push it apart carefully. Fig. 20 (1)
- Position the panel on the side and latch into place. Fig. 20 (2)

Fig. 21
- Slide on the outer cover. Fig. 21 (1)
- Close the upper door. Fig. 21 (2)
15. Connecting the appliance
WARNING
Incorrect connection!
Risk of fire.
- Do not use an extension cord.
- Do not use a multipoint connector strip.
NOTICE
Incorrect connection!
Damage to the electronics.
- Do not connect the appliance to a stand-alone inverter, e.g. solar power systems and petrol generators.
- Do not use an energy saving plug.
Note
Only use the mains cable supplied.
- A longer mains cable can be ordered from Customer Service.

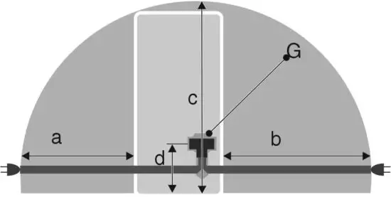
Fig. 22 *
For 600 mm wide appliances:

Make sure that the following requirements are fulfilled:
- The type of current and voltage at the installation site complies with the information on the serial tag .
- The socket is grounded and fused in accordance with regulations.
- The tripping current for the fuse is between 10 and 16 A.
- The socket is easily accessible.
- The socket is not located behind the appliance but in areas a or b (a, b, c).
- Check the electrical connection.
- Insert the appliance plug (G) on the rear side of the appliance. Ensure that they latch into place correctly.
- Connect the mains plug to the power supply.
- The Liebherr logo appears on the screen.
- The display switches to the standby symbol.

Read More About This Manual & Download PDF:


















