minkaAire F729 STEAL 54 Inch 3 Blade Indoor Ceiling Fan

Product Information
The product is a fan with model number F729. It is manufactured by Steal By and is protected by trademark and/or copyright laws. The fan is designed to be mounted on a ceiling or joist and comes with safety rules and instructions on how to install it properly. It is recommended to shut off the power before installation and hire a qualified electrician if you are not familiar with installing electrical wiring. The fan has a serial number which can be found in the instruction manual.
Product Usage Instructions
- Before beginning the installation process, switch off the power at the circuit breaker or fuse box.
- Read all instructions and safety information before installing the fan. Review the accompanying assembly diagrams.
- Ensure that all electrical connections comply with local codes, ordinances, or National Electrical Codes. If you are unsure about installing electrical wiring, hire a qualified electrician or consult a do-it-yourself wiring handbook.
- Choose an installation site that allows the fan blades to rotate without any obstructions. Allow a minimum clearance of 10 feet from the floor and 18 inches from the tip of the blades to the wall.
- If mounting the fan to a ceiling fan outlet box, use a U.L. Listed metal octagonal outlet box marked Acceptable for Fan Support. Secure the box directly to the building structure. The outlet box and its support must be able to support the moving weight of the fan (at least 35 pounds). Do not use a plastic box.
- Use only the screws provided with the outlet box in conjunction with the lock washers provided with the fan.
- If mounting the fan to a joist, ensure that it can support the moving weight of the fan (at least 35 pounds).
- After installation, ensure that all mounting components are secured to prevent the fan from falling.
- Do not insert anything into the fan blades while the fan is operating.
- Turn off the fan and wait for the blades to stop completely before performing any maintenance or cleaning.
- Install the fan so that the blades are at least 10 feet above the floor to reduce the risk of injury to a person.
- The fan only works with UC9020 speed control.
Note that the safety rules and instructions provided in the manual are not meant to cover all possible conditions and situations that may occur. Therefore, it is important to use common sense, caution, and care while installing, caring for, and operating the fan.
It is recommended to consult a qualified electrician if in doubt about any aspect of the installation or usage of the fan.
©2017 Minka Lighting, Inc. Manual design and all elements of manual design are protected by U.S. Federal and/or State Law, including Patent, Trademark and/or Copyright laws.
The Minka-Aire® warranty is for one (1) year from the date of purchase from an authorized Minka-Aire® dealer. This warranty is only valid to the original purchaser or user against all defects in material and workmanship (light bulbs excluded) for one (1) full year. Additionally, Minka-Aire® warrants the motor only for the lifetime of the Minka Aire ceiling fan (excluding wall controls and electrical components), to the original purchaser or user.
- The warranty is voided with the use of any non- Minka-Aire®electrical devices, E.g., wall controls or electrical dimmer switches, etc…
- The warranty is void once the original purchaser or user ceases to own the fan or the fan is moved from its original point of installation.
- The warranty is void with the use of any hanger bracket (non-Minka Aire or non-fan specific) other than the hanger bracket supplied & installed with this specific fan.
Warranty Service Information
To obtain warranty service during the warranty period, the purchaser should return the fan with the sales receipt to the original place of purchase. The authorized Minka-Aire® dealer, at its sole discretion, will either repair or replace the fan after verifying the legitimacy of the warranty claim. Replacement is subject to the availability of the same model. If the model is unavailable it will be replaced by one of equal value. This is a limited warranty; the original purchaser or user is responsible for the cost of removal and reinstallation of repaired or replacement products.
To obtain the name of the Minka-Aire® authorized dealer nearest you call the Minka-Aire® customer care department at 1-800-307-3267, or contact Minka-Aire® through www.minkagroup.net and select FAQ to answer any questions or if you require additional assistance submit the question form found there.
SAFETY RULES
- Before you begin installing the fan, shut the power off at the circuit breaker of the fuse box.
- Be cautious! Read all instructions and safety information before installing your new fan. Review the accompanying assembly diagrams.
- Make sure that all electrical connections comply with local codes, ordinances, or National Electrical Codes. Hire a qualified electrician or consult a do-it-yourself wiring handbook if you are unfamiliar with installing electrical wiring.
- Make sure the installation site you choose allows the fan blades to rotate without any obstructions. Allow a minimum clearance of 10 feet from the floor and 18 inches from the tip of the blades to the wall.
- If you are mounting the fan to a ceiling fan outlet box, use a U.L. Listed metal octagonal outlet box marked “Acceptable for Fan Support”. Secure the box directly to the building structure. The outlet box and its support must be able to support the moving weight of the fan (at least 35 pounds) Do not use a plastic box.
- Caution: To reduce the risk of injury use only the screws provided with the outlet box in conjunction with the lock washers provided with the fan.
- If you are mounting the fan to a joist, make sure it is able to support the moving weight of the fan (at least 35 pounds).
- After you install the fan, make sure that all mounting components are secured to prevent the fan from falling.
- Do not insert anything into the fan blades while the fan is operating.
- Turn the fan off and wait for the blades to stop completely before performing any maintenance or cleaning.
- To reduce the risk of injury to a person, install a fan so that the blades are at least 3.0M (10 feet) above the floor.
NOTE:
The important safeguards and instructions appearing in this manual are not meant to cover all possible conditions and situations that may occur. It must be understood that common sense, caution and care are factors which can not be built into this product. These factors must be supplied by the person (s) installing, caring for and operating the unit.
NOTE: READ AND SAVE ALL INSTRUCTIONS!
WARNING
TO REDUCE THE RISK OF FIRE, ELECTRIC SHOCK OR OTHER PERSONAL INJURY, MOUNT FAN ONLY TO A U.L. LISTED OUTLET BOX OR SUPPORTING SYSTEM MARKED ACCEPTABLE FOR FAN SUPPORT AND USE MOUNTING SCREWS PROVIDED WITH THE OUTLET BOX IN CONJUNCTION WITH THE LOCK WASHERS PROVIDED WITH THE FAN. MOST OUTLET BOXES COMMONLY USED FOR FAN SUPPORT OF LIGHTING FIXTURES ARE NOT ACCEPTABLE FOR FAN SUPPORT AND NEED TO BE REPLACED. CONSULT A QUALIFIED ELECTRICIAN IF IN DOUBT.
TO REDUCE THE RISK OF PERSONAL INJURY, DO NOT BEND THE BLADE HOLDERS WHILE INSTALLING, BALANCING THE BLADES OR CLEANING THE FAN. DO NOT INSERT FOREIGN OBJECTS BETWEEN ROTATING FAN BLADES.
TO REDUCE THE RISK OF FIRE OR ELECTRONIC SHOCK, THIS FAN ONLY CAN USE UC9020 SPEED CONTROL ONLY.
PACKAGE CONTENTS
Unpack your fan and check the contents. You should have the following items:
- Fan blades (3)
- Hanger bracket
- Canopy
- Canopy cover
- Downrod assembly
- Coupling cover
- Fan motor/housing assembly
- Switch cup
- Remote control with holder and 2 mounting screws
- A. Mounting Hardware:
- #10 x 1.5″ Wood screws (2 PCs.)
- #8 x 3/4″ Machine screws (2 PCs.) Lock washers (2 PCs.)
- 4mm Star washers (2 PCs.)
- Wire nuts (3 PCs. )
- Washers (2 PCs.)
- B. Blade attachment hardware:
1/4″ x 1/2″mm Allen screws (7PCs.) - C. Allen wrench (3mm)
Allen wrench (5mm)
INSTALLING THE FAN
Tools Required:
Phillips screwdriver; slotted screwdriver; step-ladder; wire cutters; electrical tape.
MOUNTING OPTIONS
If there isn’t an existing mounting box, then read the following instructions. Disconnect the power by removing fuses or turning off circuit breakers.
Secure the outlet box directly to the building structure. Use appropriate fasteners and building materials. The outlet box and its support must be able to fully support the moving weight of the fan (at least 35 lbs.). Use a UL Listed metal outlet box. Do not use a plastic outlet box.
Figures 1, 2, and 3 are examples of different ways to mount the outlet box.

Note:
You may need a longer down rod to maintain proper blade clearance when installing on a steep, sloped ceiling. Longer down rods are available from your Minka-Aire® dealer. To hang your fan where there is an existing fixture but no ceiling joist, you may need to install a hanger bar as shown in Fig. 4 (available at your Minka-Aire® dealer).
Note:
To reduce the risk of injury to a person, install fan so that the blades are at least 3.0M (10 feet) above the floor.

HANGING THE FAN
WARNING:
All of the parts, hardware and components such as the hanger bracket and hanger ball have been provided for your safety and the proper installation of your new ceiling fan. The use of other parts, hardware or components not supplied by Minka Aire® with the fan will void the Minka Aire® Warranty.
Remember to turn off the power. Follow the steps below to hang your fan properly:
- Step 1. Secure the hanger bracket to the ceiling outlet box using screws included with your outlet box, lock washers included with the fan. (Fig.5)
- Step 2. Loosen the two set screws and remove the hitch pin and lock pin from the top coupling of the motor assembly. (Fig. 6)
- Step 3. Remove hanger ball from downrod assembly by loosening set screw, removing the cross pin, and sliding ball off rod. (Fig.7)
- Step 4. Carefully feed fan wires up through the downrod. (Fig. 8) Thread the rod into the coupling, next line up holes and replace lock pin and hitch pin. Tighten set screws.
- Step 5. Slip the coupling cover, canopy cover and canopy onto the download. (Fig. 9) Carefully reinstall hanger ball onto rod being sure that cross pin is in the correct position, set screws are tighten and wires are not twisted.
- Step 6. Now lift the motor assembly into position and place the hanger ball into hanger bracket. Rotate until the check groove has dropped into the registration slot and seats firmly. (Fig. 10) Rod should not rotate if this is done correctly.

ELECTRICAL CONNECTIONS
- NOTE: This fan includes a WC105 wall control. If you are to add a light kit you would need to purchase the WC106 wall control. (Available at your Minka-Aire® retailer.)
- NOTE: If you feel that you do not have enough electrical wiring knowledge or experience, have your fan installed by a licensed electrician.
Use the wire nuts supplied with your fan. Secure the connectors with electrical tape and make sure there are no loose connections or wire strands.
- Connect the wiring from the fan motor to house supply. (Fig. 11)
- Connect the RED live supply wire to the BLUE fan light wire.
- Connect the BLACK live supply wire to the BLACK fan live wire.
- Connect the WHITE neutral wire to the WHITE fan neutral wire.
- Connect the COPPER house ground wire to the GREEN fan ground wire.
- After connecting the wires, spread them apart so that the green and white wires are on one side of the outlet box and the black wires are on the other side.
- Connect the wiring from the wall switch receptacle to wall control unit. (Fig. 11)
- Remove the existing wall plate and switch from the wall junction box.
- Connect one BLACK wire from the wall to one BLACK wire (labeled “TO FAN”) from the wall control.
- Connect the other BLACK wire (labeled “TO POWER SUPPLY”) from the wall control to the remaining BLACK wire from the wall (A/C supply source).
- If your junction box has a ground wire (green or bare copper), connect the wall control’s ground wire to it. Otherwise, connect the wall control ground wire directly to one of the screws from the outlet box.

INSTALLING THE WALL CONTROL
WARNING! HOOK UP “IN SERIES” ONLY. DO NOT CONNECT NEUTRAL SUPPLY WIRE OF ELECTRIC CIRCUIT TO THE WALL SWITCH, DAMAGE TO THE WALL SWITCH AND POSSIBLE FIRE COULD OCCUR.
- Step 1. Make the electrical connections as shown in Fig.11. If your outlet box has a ground wire (Green or Bare Copper) connect the wall control’s ground wire directly to one of the screws from the outlet box. Secure all wire connections with the plastic wire nuts provided.
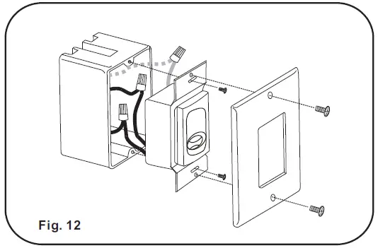
- Step 2. Carefully tuck the wire connections inside the outlet box. Use the screws provided to secure the wall control and wall plate to the outlet box. (Fig. 12)

FINISHING THE INSTALLATION
- Step 1. Remove 1 of the 2 screws from the bottom of the hanger bracket and loosen the other one half a turn from the screw head.
- Step 2. Slide the canopy up towards the hanger bracket and place the key hole on the canopy over the screw on the hanger bracket, turn canopy until it locks in place at the narrow section of the key holes. (Fig. 13)
- Step 3. Align the circular hole on canopy with the remaining hole on the hanger bracket, secure by tightening the two set screws.
Note: Adjust the canopy screws as necessary until the canopy and canopy cover are snug.

BLADE INSTALLATION
Note: To reduce the risk of injury to a person, install fan so that the blades are at least 3.0M (10 feet) above the floor.
- Insert the blade into the fan motor, align holes from blade to fan motor and secure with two Allen screws and Allen wrench provided. (Fig. 14)
- Repeat process with the other blades.

ATTACHING THE SWITCH CUP
NOTE:
Before starting installation, disconnect the power by turning off the circuit breaker or removing the fuse at fuse box.
- Step 1. While holding the switch cup, firmly snap the wire connectors together. (Fig. 15)
- Step 2. Remove the screws from the switch cup plate. Slide switch cup up against plate and rotate it until the screw holes are aligned. Secure with the Allen screws and Allen wrench provided. (Fig. 15)
NOTE: DO NOT PINCH WIRES BETWEEN THE SWITCH CUP AND THE SWITCH CUP PLATE.

OPERATING THE WALL CONTROL
Restore power to the ceiling fan and test for proper operation.
- The fan 4-speed control is used to set the fan speed as follows: (Fig. 16)
- 0 = Turns the fan off
- 3 = Medium Speed
- 1 = High Speed
- 4 = Low Speed
- 2 = Medium High Speed
- Light Control
Your ceiling fan is equipped with a light, however there is no light kit control included. Please contact your original place of purchase for light kit control options.
CARE OF YOUR FAN
Here are some suggestions to help maintain your fan.
- Because of the fan’s natural movement some connections may become loose. Check the support connections, brackets and blade attachments twice a year. Make sure they are secure. (It is not necessary to remove fan from the ceiling).
- Clean your fan periodically to help maintain its new appearance over the year. CAUTION: many common household cleaning products contain chemicals that could damage the finish of your fan. Use only a soft lint free cloth and soapy water.
- If your fan is provided with wood veneer blades; you can apply a light coat of furniture polish for additional protection and enhanced beauty. Cover small scratches with a light application of shoe polish.
- Use a lint free lightly damp cloth or duster to remove dust from the blades.
- There is no need to oil your fan. The motor has permanently lubricated bearings.
- If your fan is provided with glass shades, clean with lukewarm soapy water and a soft cloth or sponge. DO NOT IMMERSE GLASS SHADES IN HOT WATER. DO NOT PUT GLASS SHADES INTO AN AUTOMATIC DISHWASHER.
WARNING!
MAKE SURE THE POWER IS OFF AT THE ELECTRICAL PANEL BOX BEFORE YOU ATTEMPT ANY REPAIRS. REFER TO THE SECTION, “ELECTRICAL CONNECTIONS”.
TROUBLESHOOTING
SYMPTOM
Fan will not start
SOLUTION
- Check to make sure the wall switch is turned on.
- Check circuit fuses or breakers.
- Caution! Make sure the power is turned off before performing the following steps.
- Remove canopy and check wire connections.
- Check wall control transmitter connections (if applicable).
SYMPTOM
Fan Sounds Noisy
SOLUTION
- Allow a 24-hour “break in” period. Most noises associated with a new fan will go away during this time.
- Make sure the screws that attach the fan blade holder to the motor hub is tight.
- Make sure outlet box is secured to building structure, if necessary use the wood screws provided to further secure outlet box to joist.
- Make sure hanger bracket is secure to the outlet box, screws are tight.
SYMPTOM
Fan Wobble
SOLUTION
- NOTE: All blade sets are grouped by weight.
- Make sure outlet box is secured to building structure, if necessary use the wood screws provided to further secure outlet box to joist.
- Make sure hanger bracket is secure to the outlet box, screws are tight.
SPECIFICATIONS
These are typical readings. Your actual fan may vary. They do not include amps and wattage used by the light(s).
| Fan Size | Speed | Volts | Amps | Watts | RPM | N.W. | G.W. | C.F. |
| 54″ | Low High | 120 120 | 0.17 0.52 | 7 63 | 65 224 | 7.93 kgs | 9.03 kgs | 1.62’ |

Ceiling fan airflow is measured in cubic feet per minute (CFM).
Power use is measured in watts. To maximize energy savings:
- Choose a fan with high airflow efficiency (CFM/watt).
- Use ENERGY STAR® rated bulbs in your fan.
- Switch off your fan when you leave the room.
- Measure according to the DOE-approved test method.
For any additional information about your Minka Aire Ceiling fan, please write to:
1151 W. Bradford Court, Corona, CA 92882
For Customer Assistance Call: 1-800-307-3267
©2017 Minka Lighting, Inc. Manual design and all elements of manual design are protected by U.S. Federal and/or State Law, including Patent, Trademark, and/or Copyright laws.




















