
INSTALLATION MANUAL
21841/05 Malta 52 Inch 3 Blade DC Ceiling Fan
THIS CEILING FAN MUST BE INSTALLED BY A QUALIFIED ELECTRICIAN AND AN AN ELECTRICAL SAFETY CERTIFICATE MUST BE ISSUED ON COMPLETION OF THE INSTALLATION
Congratulations on the purchase of your new quality Brilliant Ceiling Fan. Before first using it, it is most important that you read and follow the instructions in this Installation Manual, even if you feel you are quite familiar with this type of product.
Find a place and keep this manual handy for future reference.
| Model Name: MALTA 52″ 3 BLADE DC CEILING FAN | ||
| Code | Colour | Size |
| 21841/05 | Matt White | 52″ (1320mm) |
| 21841/06 | Matt Black | 52″ (1320mm) |
| Model Name: MALTA 52” 3 BLADE DC CEILING FAN WITH LED CCT LIGHT | ||
| Code | Colour | Size |
| 21841/05 | Matt White | 52″ (1320mm) |
| 21841/06 | Matt Black | 52″ (1320mm) |

IMPORTANT SAFEGUARDS
Read all instructions carefully, even if you feel you are quite familiar with this type of appliance. When using electrical appliances, in order to reduce the risk of fire, electric shock, and/or injury, these basic safety precautions should always be followed:
- This appliance MUST be installed by a Qualified Electrical Contractor in accordance with the local regulations, and all local, state, and national electrical codes. Any alterations or additions to building wiring must be completed by a licensed electrical contractor or person authorized by legislation to work on the fixed wiring of any electrical installation.
- The ceiling fan must be connected to a 220-240V AC 50Hz power supply.
- All electrical work must only be undertaken after disconnection of the power by removing fuses or turning off the circuit breaker, to ensure all pole isolation of the electrical supply.
- The fan must be earthed.
- The fan must be installed so that the blades are more than 2.1 metres above the floor.
- The structure that the ceiling fan is connected to must be capable of supporting a weight of at least 45kg. The fixing must be able to support the moving weight of the fan and must not twist or work loose.
- Make sure that the installation site will not allow the rotating fan blades to come into contact with any object and that there is a minimum clearance of 150mm (6”) from the blade tip to the wall or ceiling. Please note that the bigger this clearance is the better the airflow from your fan will be.
- DO NOT use outdoors unless covered. Refer to Warranty terms for Alfresco use.
- DO NOT connect the fan motor to a dimmer switch. This may damage the motor. Use ONLY the provided wall controller (If applicable).
- This appliance is not intended for use by young children or infirm persons without supervision.
- Young children should be supervised to ensure they DO NOT play with the appliance.
- It is not recommended that ceiling fans and gas appliances be operated in the same room at the same time.
- Suggest turning the fan speed to a lower rate (eg. #1 or #2) before reversing the fan direction. This will prevent any damage to the motor of the fan or controller.
- Do not insert anything into the fan blades whilst they are spinning. This will damage the blades and upset the balance of the fan causing the unit to wobble.
- After the fan is completely installed make sure that all base and fan blade fixations are secured and tightened to prevent any problems.
- Because of the fan’s natural movement, some connections may loosen. Check the support connections, brackets and blade attachments twice a year to make sure they remain secured. If any are loose, tighten.
- DO NOT use a solid-state dimmer-type fan controller. Use ONLY the provided switch controller for fan speed control (If applicable).
- An all-pole disconnection incorporated in the fixed wiring is to be provided, such as a n all-pole switch or a supply cord fitted with a plug.
- If the remote control is installed, remove the wall controller.
- Beware of height installation closure.
- A blade balancing kit is included. Ensure blades are balanced immediately after installation to reduce wobble and noise
IMPORTANT NOTE:
The important safeguards and instructions given in this manual are not meant to cover all possible conditions and situations that may occur. It must be understood that common sense, caution, and care are factors that cannot be built into any product. The persons caring for and using the unit must supply these factors.
SUGGESTED TOOLS NEEDED

WARNING
- To avoid fire or electric shock, follow all wiring instructions carefully.
- Turning off the wall switch is not sufficient. To avoid possible electrical shock, be sure electricity is turned off at the main fuse box before wiring.
- Do not install or use fan if any part is damaged or missing.
- This product is only designed to use only those parts supplied with this product and/or any accessories designated specifically for use with this product by Brilliant Lighting. Substitutions of parts or accessories not designated for use with this product by Brilliant Lighting could result in personal injury or property damage.

UNPACKING
PREPARATION:
- Unpack your ceiling fan carefully, and dispose of the packaging materials thoughtfully. Place all parts and components, on a cloth or soft surface to avoid damage. DO NOT lay the motor housing on its side, the housing may get damaged.
- Before commencing installation, check that all parts are included. NB: You may need to remove all foam packaging material to ensure there are no missing components.

INSTALLATION
CHOOSING A SUITABLE LOCATION:
- Ceiling fans should be installed in the middle of the room, with a safe distance of at least 2.1m from the floor, and 150mm from the wall.
- An extension rod may be required for rake ceiling installation.

CAUTION: Before installing the fan, make sure you have turned OFF the electricity supply.
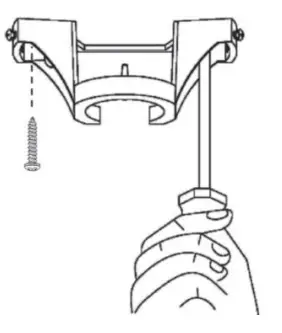
MOUNTING THE HANGING BRACKET
- Secure the hanging bracket to the ceiling joist or suitable structure that is capable of carrying a load of at least 45kg, with the two long fixing screws provided. Ensure that at least 30mm of the screw is threaded into the support.
NB: The fixing screws included are designed for use when the ceiling fan is secured onto timber joists. For all other surfaces, additional and suitable fixing screws for that surface will need to be purchased.

NOTE: Ensure building cable will enter the canopy close to the terminal block. DO NOT enter the building cable direct on top of the hanging ball area.
- Make sure that the position of the installation will not allow the blades to come into contact with any object. The fan must be mounted so that the tips of the blades are at least 2.1 meters above the floor.
ELECTRICAL CONNECTIONS
- The building cable should enter the canopy about 10-15mm from the terminal block.
- Connect the mains supply L-Active, N–Neutral & Earth cable to the terminal at mounting bracket as per marking on it. Ensure connections are firm. For your convenience, and to assist in easy installation & cleaning, your ceiling fan is connected with Brilliant’s easy connect system. Simply connect the male and female couplings, and then ensure the remote control receiver and all excess wiring is retained inside the ceiling canopy. Ensure installed a wall isolation switch (NOT INCLUDED).

ATTACH BLADE
- To attach the blades on to the fan motor, place the blade aligned with the mounting holes on the blade mounting bracket (Fig 1). With ‘THIS SIDE UP’ (Fig 1a) marking on the blade and attaching to the fan motor then securing it in place using the screws provided.
- Repeat the above steps to attach the rest of the blades and tighten them firmly. DO NOT OVER TIGHTEN the screw, this will damage the blades, but ensure it is secure.
- Before attaching the motor top cover loosen and remove the screws on the rod adaptor. (Fig 2)
- Attach the motor top cover using the screws provided. Ensure screws are tightened firmly. (Fig 2)

ATTACH LIGHT KIT (Apply for Fan come with the light kit)
- Before attaching the light kit housing loosen and remove the light kit housing fixed screws on the light kit mounting plate.
- To attach the light kit housing place the light kit housing on the mounting plate and align the light kit housing with the mounting holes and replace the screws previously removed to secure the light kit housing. (Fig 3) (Note: If needed please adjust the stopping nut to prevent the light kit housing contact with the blades)
- Attach the light kit by connecting the plugs. (Fig 4) The light kit come with 3 magnet stands which are used to attach the light kit to the housing.
- Attached is the diffuser by twisted until it locks and is secure. (Fig 5)

ATTACH MOTOR HOUSING BOTTOM COVER
- Attached is the motor housing bottom cover by twisting until it locks and secures. (Fig 6)
- Attaching the motor housing bottom cover ensures it will not touch the fan blades. If it touched the fan blade, then need to try to adjust the stopping nut by lower it down. (Fig 6a) Try as many time as possible until the gap between the cover and the blades are around 3 to 4 mm.

ATTACH DOWNROD AND YOKE COVER

- After detaching the hanging ball from the download, route the motor wires through the download. (Fig 7)
- Align the cross pin holes in the downrod with the holes in the downrod coupling. (Fig 8)
- Install the cross pin and secure it with the cotter pin. The cross pin must go through the holes in the download coupling and the holes in the downrod. (Fig 8)
- Tighten the 2x download jam screws to make sure the download is secured. (Fig 9)
- Insert yoke cover, canopy screw cover, and canopy. Then insert the hanging ball through the download and insert the cross pin back into the download removed previously. (Fig 8)
- Tighten the jam screws back to the hanging ball and ensure it is tight and secure. (Fig 9)

HANGING THE FAN

- Carefully lift the fan, and place the downrod ball assembly into the mounting bracket ensuring that the ball correctly locks into place.
- Refer to the following section detailing ‘Electrical Connection’ on page 7 for details on how to wire this product correctly.
- After the fan has been wired to the power supply, carefully position all excess cable inside the boundaries of the hanging bracket.

- Carefully slide the canopy up to cover the hanging bracket and ball joint, taking care not to damage any wires. Once in position, secure the canopy with the screws provided (Fig. 10).
- Suggest keeping the Common mode noise filters at the opposite side of the terminal block.
- Move the canopy screw cover up to cover the screws at the canopy (Fig. 11).
BALANCING
- This fan includes a blade balancing kit. Upon initial installation, the balance kit should be used on the fan blades to reduce wobble.
- The balance kit includes instructions on how to perform the balancing procedure.
- Balancing the fan and reducing wobble will result in quieter operation and optimum performance.
REMOTE CONTROL – WITHOUT LIGHT KIT
OPERATIONS

- Choose a suitable location and install the wall mount remote control holder (9).
- Drill two holes in the wall using the holes in the wall mount remote control holder as a template. Note: exercise caution to avoid drilling into existing electrical wiring!
- Use screws and a suitable fixture system to attach the bracket to the wall securely. NOTE: Ensure the wall mount holder is level.
- Remove the battery cover and insert a 2x AAA battery into the remote control transmitter and ensure the battery orientation is correct. Replace the battery cover removed previously.
SETUP
The remote control transmitter and receiver have been factory pre-set/paired and are ready to be used immediately. If require to re-pairing the transmitter and receiver, follow the below instruction:
- Turn the ceiling fan main switch power Off for 10 seconds.
- Turn the ceiling fan main switch power on, and will hear a Beep sound then within 3 seconds press and hold the light button
and speed number ‘3’ button. - Wait until the receiver emitted twice Beep sound then let go of the button and the pairing process is completed.
- If the pairing process is un-successfully, then repeat steps 1 to step 3. (Note: Ensure the batteries have enough power)
NOTE:
After pressing the timer (2H, 4H, or 8H) button, if press any button will clear the timer function. Require not to press any button after setting the timer function.
SETUP FOR MULTIPLE FANS
The remote control transmitter can be used to control multiple receivers.
- On the ceiling fan you want to pair, turn the main switch power OFF for at least 10 seconds.
- Turn the ceiling fan main switch power on, and will hear a Beep sound then within 3 seconds press and hold the light button ‘ ’ and speed number ‘3’ button.
- Wait until the receiver emitted twice Beep sound then let go of the button and the pairing process is completed.
- If the pairing process is un-successfully, then repeat steps 1 to step 3.
REMOTE CONTROL – WITH LIGHT KIT
OPERATIONS

- Choose a suitable location and install the wall mount remote control holder (9).
- Drill two holes in the wall using the holes in the wall mount remote control holder as a template. Note: exercise caution to avoid drilling into existing electrical wiring!
- Use screws and a suitable fixture system to attach the bracket to the wall securely. NOTE: Ensure the wall mount holder is level.
- Remove the battery cover and insert a 2x AAA battery into the remote control transmitter and ensure the battery orientation is correct. Replace the battery cover removed previously.
SETUP
The remote control transmitter and receiver have been factory pre-set/paired and are ready to be used immediately. If require to re-pairing the transmitter and receiver, follow the below instruction:
- Turn the ceiling fan main switch power Off for 10 seconds.
- Turn the ceiling fan main switch power on, and will hear a Beep sound then within 3 seconds press and hold the light button
and speed number ‘3’ button. - Wait until the receiver emitted twice Beep sound then let go of the button and the pairing process is completed.
- If the pairing process is un-successfully, then repeat steps 1 to step 3. (Note: Ensure the batteries have enough power)
NOTE:
After pressing the timer (2H, 4H, or 8H) button, if press any button will clear the timer function. Require not to press any button after setting the timer function.
SETUP FOR MULTIPLE FANS
The remote control transmitter can be used to control multiple receivers.
- On the ceiling fan you want to pair, turn the main switch power OFF for at least 10 seconds.
- Turn the ceiling fan main switch power on, and will hear a Beep sound then within 3 seconds press and hold the light button ‘ ’ and speed number ‘3’ button.
- Wait until the receiver emitted twice Beep sound then let go of the button and the pairing process is completed.
- If the pairing process is un-successfully, then repeat steps 1 to step 3.
MAINTENANCE
CARE & CLEANING
- Periodic cleaning of your ceiling fan is the only maintenance required.
- Use a soft brush or lint-free cloth to avoid scratching the finish. Please turn off the electricity when you do so.
- Do not use water when cleaning your ceiling fan. It could damage the motor and create the possibility of an electrical shock.
- The motor has a permanently lubricated ball bearing, and as such is maintenance-free.
NOISE
- The manufacturer warranty covers actual faults that may develop, but NOT minor complaints, e.g. hearing slight noise from motor in operation – ALL ELECTRIC MOTORS ARE AUDIBLE TO SOME EXTENT, more so, when the fan is operating at low speeds.
WOBBLE
- Ceiling fans are mounted very securely on steel brackets with rubber cushioning or with ball joints to allow free movement.
- Ceiling fans are designed to move during operation because they are not generally rigidly mounted – if they were, they could generate excessive ceiling vibration and stress on their mountings.
- Movement of a couple of centimeters is quite OK and does not suggest the fan will fall down.
- Please note that all ceiling fans are not the same, even in the same model – some may move more or less than others.
NORMAL WEAR AND TEAR:
- Threaded components working slightly loose or blade carriers even slightly bent due to vigorous cleaning or bumping can cause extra wobble and noise. THIS IS NOT COVERED UNDER WARRANTY but a little care and maintenance can reduce or prevent this problem.
RIPPLE CONTROL FILTER:
- In parts of Australia (NSW and QLD), the power company superimposes a signal voltage onto the main household voltage. This signal voltage is used to remotely control consumers’ electric hot water heaters and other devices throughout the surrounding area.
- Unfortunately, this signal can appear at the ceiling fan as a loud intermittent “hum”. If this noise is apparent please contact your local Electricity service provider on how they can assist to provide rectification, usually in the form of a mains supply ripple filter to filter out this signal.
TROUBLESHOOTING
| TROUBLE | PROBABLE CAUSE | SUGGESTED REMEDY |
| Fan/Light will not start | A. Fuse or circuit breaker has blown. | A. Check main and branch circuit breakers |
| B. Loose wire connections to the fan. | B. Check line wire connections to the fan. | |
| C. Speed controller not in the correct position. | C. Check the speed controller’s position. | |
| Fan wobbles | A. Fan blades are not horizontal to the ceiling. | A. Re-tighten all screws on the blades. Do not make any adjustments by applying pressure up or down on blades. |
| B. Blade screws are loose. | B. Make sure all screws are tightened. | |
| Fan sounds noisy | A. Loose fan blades. | A. Retighten all screws on the fan. |
| B. Ceiling fan not secured against the ceiling. | B. Retighten all screws in the hanging bracket. | |
| C. Incorrect speed controller. | C. Change the speed controller to the one supplied with the unit. | |
| Mechanical noise | A. Fan has not settled in full. | A. Allow at least 8 hours to settle in the period. |
| Remote Control | A. Remote control not respond | A. Check the battery’s orientation is correct. B. Replace with new batteries. |
TECHNICAL DATA
| MODEL NUMBER | SIZE | RATED VOLTAGE | RATED POWER FOR MOTOR | LIGHT POWER |
| 21841 | 52 INCH | 220-240V AC 50Hz | 30W | N/A |
| 21843 | 52 INCH | 220-240V AC 50Hz | 30W | 16W CCT |
SPARE PARTS
| Remote Control kit | 16W LED CCT Array | Frosted Glass Light Diffuser | 52” ABS Blade Set | Extension Rod With & Without Light kit |
| 21841SP001 (W/O Light Kit) 21843SP001 (With Light Kit) | 21843SP002 | 21843SP003 | 21841SP052 (MATT WHITE) 21841SP062 (MATT BLACK) | 18627/55 (MATT WHITE) 18627/06 (MATT BLACK) |
WARRANTY
Please note, this warranty voids any other warranties supplied with this product and complies with the new consumer guarantee requirements.
The benefits conferred by this warranty are in addition to all implied warranties, other rights, and remedies in respect of the product, which the consumer has under Australian Consumer Law. The original purchaser of this Brilliant Ceiling Fan is provided with the following warranty subject to the Brilliant Warranty terms and conditions as found on the Brilliant website and the following conditions.
Brilliant Lighting (Aust) Pty Ltd warrants this ceiling fan motor for a period of 6 years from the date of purchase, the first 3 years are covered by an In-home warranty. All parts deemed defective in workmanship or materials will be replaced free of charge. Remote controllers, Wall controllers, and Light fittings are subject to Limited warranty status.
| PARTS | TOTAL WARRANTY PERIOD | IN-HOME SERVICE PERIOD |
| Ceiling Fan Motor | 6 YEARS | 3 YEARS |
| Remote Controller Set | 2 YEARS | 2 YEARS |
| Light Fittings | 2 YEARS | 2 YEARS |
*Consumable items such as Batteries and Light Globes will not be covered by this warranty. This warranty is in addition to any other rights and remedies of the customer under any law. In applications not intended for household, personal or domestic use, liability is limited to replacement or reimbursement of product only.
The warranted use of fans outdoors are limited to Enclosed Alfresco areas where conditions are similar to indoor installations.
The warranty conditions for fans installed in Enclosed Alfresco areas are as follows:
* Fan must be shielded from wind and rain (enclosed area, min. 1.5m from edge of eave/roof).
* The warranty will cover open circuit motor faults, and remote control faults if not related to outdoor exposure.
* The Warranty will not cover outdoor-related issues such as rusting, or failure clearly caused by water, moisture or wind.
* The Warranty will not cover the external appearance or finish of any part of the ceiling fan.
* The Warranty will not cover wooden blades. These are recommended only to be used indoors.
The warranty does not cover Ripple Control noise/interference (identified by a periodic or intermittent hum). This must be addressed with your energy service provider.
The warranty does not cover noises or faults due to poor installation or failure to balance fans as per instructions.
Our goods come with guarantees that cannot be excluded under the Australian Consumer Law. You are entitled to a replacement or refund for a major failure and compensation for any other reasonably foreseeable loss or damage. You are also entitled to have the goods repaired or replaced if goods fail to be of acceptable quality and the failure does not amount to a major failure.
Any claim under this warranty must be made within the warranty period of the date of purchase of the product. To make a warranty claim please refer to the Warranty Claim Form on the Brilliant Website: www.brilliantlighting.com.au

This warranty is given by:
Brilliant Lighting (Aust) Pty. Ltd.
ABN 37 006 203 694
956 Stud Road Rowville, VIC 3178
Phone: 03 9765 2555
Email: [email protected]
MADE IN CHINA

















