CARRO WGS-523A1L 52 Inch 3-Blade Smart Ceiling Fan

READ INSTRUCTIONS CAREFULLY FOR SAFE INSTALLATION AND FAN OPERATION. IF UNCERTAIN, COUNSULT A QUALIFIED ELECTRICIAN.
THANKYOU FOR YOUR PURCHASE
Thank you for purchasing a Carro Home product. To ensure correct function and safety, please read and follow all the instructions before using the product.
SAFETY GUIDELINES:
- To avoid possible electric shock, turn off the electricity at the main fuse box or circuit panel before you begin the fan installation, servicing the fan or installing any accessories.
- Read all instructions and safety guidelines carefully before installing your fan and follow all the instructions.
- Make sure all electrical connections comply with the local codes or ordinances and the National Electrical Code. If you are unfamiliar with electric wiring, please consult a qualified and licensed electrician.
- Make sure you have a location selected for your fan that allow clear space for the blades to rotate, and at least seven (7) feet of clearance between the floor and the fan blade tips. The fan should be mounted at least thirty (30) inches from walls and/or other upright structures.
- WARNING: The outlet box and ceiling support joist used must be securely mounted, and capable of supporting at least 100 pounds. To reduce the risk of fire, electric shock or personal injury, mount to the outlet box marked acceptable for fan supported and use mounting screws provided with the outlet box. The box must be supported directly by the building structure.
- WARNING: To reduce the risk of fire, electric shock or personal injury, mount to outlet box marked “acceptable for fan support” and use mounting screws provided with the outlet box. Most outlet boxes commonly used for the support of lighting fixtures are not acceptable for fan support and may need to be replaced. Consult a qualified electrician if in doubt.
- Electrical diagrams are for reference only. Light kits that are not packed with the fan. It must be UL listed and marked suitable for use with the fan model you are installing. Switches must be UL. general use switches. Refer to the instructions packaged with the light kits and switches for proper assembly.
- After installation is complete, check that all connections are firmly secured.
- After making electrical connections, spliced conductors should be turned upward and pushed up carefully into outlet box. The wires should be placed apart with the grounded conductor and the equipment-grounding conductor on opposite side of the outlet box.
- WARNING:To reduce the risk of electrical shock and fire, do not use this fan with any solid-state fan speed control device, or rheostat.
- Do not separate the reverse switch until the fan has come to a complete stop.
- Do not insert anything into the fan blades while they are rotating.
- WARNING: To reduce the risk of personal injury, do not bend the blade brackets (also referred to as “flanges”) during assembly or after installation. Do not insert objects in the path of the blades.
- To avoid personal injury or damage to the fan and other items, be cautious when working around or cleaning the fan.
- Do not use water or detergent when cleaning the fan or fan blades. A dry dust cloth or lightly dampened cloth will be suitable for most cleaning.
NOTE: The important safety precautions and instructions on the manual are not meant to cover all possible conditions and situations that may occur. It is understood that common sense and caution are necessary factors during the installation and operation of the fan. NOTE: This product is not intended for use by persons (including children) with reduced physical, sensory or mental capabilities that are different or impaired, or lack of experience and/or knowledge, unless such persons are supervised and/or trained to operate the appliance by a person responsible for their safety.
NOTE: Children should be supervised to ensure that they do not use appliances as a toy.
NOTE: You must install a switch or circuit breaker that disconnects all power poles of at least 3 mm between each pole.
BEFORE YOU START
Contact a licensed electrician if you are uncomfortable performing electrical work. A licensed electrician must install the fan if required by local code. Do not use the fan with a dimmer switch. Turn off power at breaker.
Tools and Materials Required
Product instruction
INSTALLING THE FAN
Tools Required: Phillips screwdriver, pair of pliers, straight slot screwdriver, adjustable wrench, step ladder, and wire cutters.
INSTALLING THE MOUNTING BRACKET:
The ceiling fan must be installed in a location so that the blades are 12″(300mm) spacing from the tip of the blade to the nearest objects or walls. When hanging the Fan REMEMBER to turn off the power. Follow the instruction below to hang your fan properly:
- For concrete ceiling, drill two holes in the ceiling and secure the mounting bracket to the ceiling with two <l>0.32″(8mm) (distance between the two holes should be appropriate) expansion screws, flat washers, nuts provided and tighten with a spanner.

- For wood ceiling, Secure the mounting bracket to the ceiling is capable of carrying a load of at least 1001bs(45kgs) with two long mounting screws and washers provided. Be sure at least 0.12″(30mm) of the screw is threaded into the support.

- For installing to outlet box, secure the outlet box directly to the building structure. Use appropriate fasterners and building materials. The outlet box and its support must be able to fully support the moving weight of the fan(at least 1 00lbs). Use a UL listed metal outlet box. Do not use a plastic outlet box. Figure 1 & 2 examples to mount the outlet box.

PREPARING FOR INSTALLATION
MOUNTING BRACKET INSTALLATION
- Unpack and inspect fan carefully to be certain all contents are included. Turn off power at fuse box to avoid possible electrical shock.
- Use metal outlet box suitable for fan support (must support 35 lbs). Before attaching fan to outlet box, ensure the outlet box is securely fastened by at least two points to a structural ceiling member (a loose box will cause the fan to wobble).

- Install mounting bracket to outlet box in ceiling using the screws and washers provided with the outlet box.

MAKE THE ELECTRIC CONNECTIONS:
WARNING: To avoid possible electrical shock, be sure electricity is turned off at the main fuse box before wiring.
- Connection between fan and house. Connect Black(hot) wire from house to the Black wire from fan. Connect White(neutral) wire from house to White wire from fan. Connect Blue wire from fan to Light(Hot) wire from house. Connect all green grounded wires to Grounded wire from House. Secure the wire connections with the wire nuts provided.
- Connection between wall control and house. Connect Black wire from wall control to Black(Hot) wire from house. Connect White wire from wall control to White(Neutral) wire from house, using wire nuts provided.

- Connection between fan motor and light kit. Connect the two wires from LED module to the black and blue wires from fan with wire nuts provided.
INSTALLING THE CANOPY
Loosen the 2 screws on the bottom of mounting bracket but do not remove them. Raise the canopy up and align the keyholes on the bottom of the canopy with the 2 screws on the bottom of mounting bracket. Rotate the canopy until both screws from the mounting bracket drop into the slot recesses. Tighten screws securely.
INSTALLING THE BLADE
Align the 3 holes from the blade to the blade bracket ,secure blade with 3 screws and washers provided. Follow the same process for the remaining blades. Shown as below figure.
Insert one fan blade had locked with blade bracket into the blade slot on the motor housing and secure with 2 screws through a long hole in the connecting plate. Securely tighten screws. Repeat process with other blades. Shown as below figure.
INSTALLING THE LIGHT KIT
Insert the 9P terminal well, align the 4 holes on the light kit with the pillar hole on the connecting plate, and lock the screws.
INSTALLING THE GLASS
Raise the glass shade up against the LED light kit and secure it to the fan by turning glass shade clockwise until snug. DO NOT OVERTIGHTEN. NOTE: The LED integrated had pre-installed on the light kit
WALL CONTROL INSTALLATION::
- Carefully tuck the wire connections from wall control inside wall outlet box.
- Secure the wall control with two wall control screws provided.
- Attach the wall control cover over the wall control and secure with two wall control cover screws provided.
- Then snap in the wall plate

USING YOUR CEILING FAN
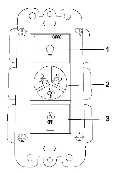
WALL CONTROL
Turn on the power and check the operation of the fan
- Lamp Switch
- Speed Control
- Fan Shutdown
Reverse function
Slide the forward/reverse switch on the switch box to get desired airflow direction.
Installation is now complete. Turn on the power switch as Fig 6.2. Then the fan lights are on. Test and pair your fan immediately using the remote control
WARNING: TO REDUCE THE RISK OF PERSONAL INJURY, DO NOT BEND THE BLADE ARM WHILE INSTALLING, BALANCING THE BLADES, OR CLEANING THE FAN. DO NOT INSERT FOREIGN OBJECTS BETWEEN ROTATING FAN BLADES.
NOISE
When it is quiel(especially at night) you may hear occasional small noises. Slight power fluctuations and frequency signals superimposed In the electrlclty for off-peak hot water control, may cause a change In fan motor nolae. This Is normal. Pleaae allow a 24-hour “breaking-In’ period, most nolaes associated with a new fan disappear during the time.
CARE AND CLEANING
- Periodic cleaning of your ceiling fan is the only maintenance required. Use a soft brush or lint free cloth to avoid scratching the paint finish. Please make sure to tum off electricity power before you clean your fan.
- Do not use water when clean Ing your cell Ing fan. It could damage the motor or the blades and create the possibility of an electrical shock.
- Motor has permanently lubricated ball bearing. No need to oil.
NOTE: MAKE SURE THE POWER IS OFF AT THE ELECTRICAL PANEL BOX BEFORE YOU ATTEMPT ANY CLEANING OR REPAIRS.
APP Control Connection
- First download the free Carro Home app from the App Store or Google Play or scan the QR Code as below.
- Open the Carro Home app to create your account. The account with “Carro Home” can be registered through E-mail or mobile phone.
Connect the device to the Carro Home app {Four ways connection):
- Bluetooth connect (WIFI & Bluetooth on) ..,
- Press ·+· button into the device list, then a window will pop up to show you some devices can be connected.
- Click “Go to add” (If you click “Do not add” in mistake, please see “Do not add” steps).
- Choose the device.
- Connect to your home WIFI, then back to the app and wait for connect. Do not add a step:
- Select “Electrlcal'(smart switch) or “Air Clrculatlon”(smart cell Ing fan) on the sidebar menu then select “Ceiling Fan Switch’ or ‘Ceiling Fan• and tap next.
- Connect to your home WIFI and tap “Next” to wait for connect.
- Auto Scan (WIFI & Bluetooth on)
- Press ·+· button into the device list.
- Tap ‘Auto Scan” on the top.
- Wait for the device comes out and tap “Next”.
- Press”+” button to add device
- Connect to your home WIFI.
- Wait for connecting.
- WIFI connect-EZ Mode (WIFI on & Bluetooth off)
- Press + button to select “Electrical”(smart switch) or “Air Circulation”(smart ceiling fan) on the sidebar menu then select “Ceiling Fan Switch” or “Ceiling Fan and tap next.
- Connect to your home WIFI (Only for 2.4Ghz).
- EZ Mode is set as default, just tap “Next” button to wait for the connection to complete.
- WIFI connect-AP Mode {WIFI on & Bluetooth off)
- Smart ceiling fan: Press and hold the WIFI button on the remote for 5 seconds till hear beep into AP Mode.
Smart switch: Press and hold the “OFF” button for 10 seconds till the indicator light blinking slowly to into AP Mode. - Press”+” button to select “Electrical”(smart switch) or “Air Circulation”(smart ceiling fan) on the sidebar menu then select “Ceiling Fan Switch” or “Ceiling Fan• and tap next.
- Connect to your home WIFI (Only for 2.4Ghz).
- Choose AP Mode.
- Press “Next” button to go to connect the fan’s WI Fl signal.
- Choose the fan’s WIFI signal “CarroHome-XXXX” then back to the app.
- Wait for connecting.
- Smart ceiling fan: Press and hold the WIFI button on the remote for 5 seconds till hear beep into AP Mode.
- Connect the device to the Alexa:
- Make sure you have connected the device to the app and working normally.
- Open Alexa app, go to the skill to search “Carro Home” skill.
- Link the skill, log in with your Carro Home app account and password, then authorize and connect with Carro Home app.
- Then the Alexa will find out the device automatically.
- Connect the device to the Google Home
- Make sure you have connected the device to the app and working normally.
- Open Google Home app, Set up a device, choose “Works with Google”.
- Search “Carro Home”, log in with your Carro Home app account and password, then authorize and connect with Carro Home app.
- Then the Google Assistant will find out the device automatically.
- Connect the device to the Siri shortcuts
- Make sure you have connected the device to the app and working in functional.
- Tap ·smart” on the main menu.
- Tap”+” button.
- Tap “launch Tap To Run
- Tap “Run the device·
- Choose the device you want to control by Siri
- Select the function you want to control by Siri.
- Then save it.
- Add to Siri, choose the scene you just made, Add to Siri .
- Enter the sentence you want to say to make the device works, Add to Siri.
Care and cleaning
- Check the support connections, brackets, and airfoil attachments twice a year. Make sure they are secure. Because of the fan’s natural movement, some connections may become loose over time.
It is not necessary to remove the fan from the ceiling. - Clean your fan periodically. Use only a soft brush or lint-free cloth to avoid scratching the finish.
The plating is sealed with a lacquer to minimize discoloration or tarnishing. - (Optional) Apply a light coat of furniture polish to the wood blades.
- (Optional) Cover small scratches with a light application of shoe polish
Do not:
- Use water when cleaning. Water could damage the motor, or the wood, or possibly cause an electrical shock.
- Apply oil to your fan or motor. The motor has permanently lubricated sealed ball bearings. Note:Power off the fan before product maintenance or cleaning the fan.
FCC Statement
NOTE: This equipment has been tested and found to comply with the limits for a Class B digital device, pursuant to part 15 of the FCC Rules, These limits are designed to provide reasonable protection against harmful interference in a residential installation. This equipment generates, uses and can radiate radio frequency energy and, if not installed and used in accordance with the instructions, may cause harmful interference to radio communications. However, there is no guarantee that interference will not occur in a particular installation. If this equipment does cause harmful interference to radio or television reception, which can be determined by turning the equipment off and on, the user is encouraged to try to correct the interference by one or more of the following measures:
- Reorient or relocate the receiving antenna.
- Increase the separation between the equipment and receiver.
- Connect the equipment into an outlet on a circuit different from that to which the receiver is connected.
- Consult the dealer or an experienced radio/TV technician for help.
WARNING: Changes or modifications to this unit not expressly approved by the party responsible for compliance could void the user’s authority to operate the equipment
Troubleshooting
| SYMPTOM | POSSIBLE SOLUTION |
|
Fan not spinning | 1. Make sure the fan is getting power. 2. Check your circuit breaker or fuse panel and wall switch for functionality. 3. Fan wires are connecting with the house wires correctly. 4. Make sure the fan blades spin freely. 5. Check the power to the breaker from your control and try working your ceiling fan manually. (Normal switch only for the fan power on/off) |
| Fan light not working | 1.Make sure the LED light kit/ light bulb are connected well. |
|
The fan is noisy and wobbling | 1.Check if the blade screws are NOT rubbing against the round plastic part of the motor. 2.Check the pin wire are NOT connected against the moving part. 3.Check the coupling cover is NOT hitting the motor. 4.Check the down rod is NOT slanted. 5. Tighten any loose screws on the light kit, fan blades, motor coupling, down rod, brackets and mounting hardware. 6. Confirm the hanger ball is firmly seated in the mounting bracket. 7. The ceiling beam must meet the minimum tensile test strength of 30KG for installation. a.Make sure the airfoils and brackets are NOT bent or deformed. 9. Verify the wire connections are not rattling against each other. 10. Verify the fan blades are not cracked. If the fan blades are cracked, replace the damaged blades with a new blade set from the same brand as your ceiling fan to ensure compatibility. 11.Change the fan blades position 12. The light kit is NOT slanting and hitting the motor. 13. Check and make sure all blade ares screwed firmly into blade holders. |
| Unable to pair switch and app | 1. Check ifthe wires are connected in the right position or not. 2. The WiFi must be 2.4Ghz, incompatible with 5Ghz WiFi or combine with 5Ghz. 3.Connect with correct app “Carro Home”. 4. Make sure your smart switch operate well with the fan. |
| Fan or light turning on or off by themselves | 1.Confirm the circuit breaker is not malfunctioning. 2.Verify the wire connections are not frayed. 3.Check the app is not set the timer or schedule 4.Cutthe fan power for 10 minutes then power on again. |
Your fan may occasionally jerk forward and backward upon start up. This is normal and does not affect fan operation.
Try these troubleshooting steps before contacting Customer Service
Carro USA Inc 1431 S. Baker Ave. Ontario CA91761
Tel: 888-253-2374
www.smafan.com
[email protected]

















