WGS-523AL Smart Ceiling Fan
Instruction Manual
Models: WGS-523AL
Technical Parameter: AC 120V 60HZ
Smart ceiling fan INSTALLATION GUIDE
please read and follow the instructions carefully before using this product
The product image shown here is indicative only.
The actual product you receive may differ.
Read and Follow These Safety Precautions
- Turn off electricity at the main switch before wiring or servicing the fan in order to avoid possible electrical shock.
- All wiring must be in accordance with the National Electric Code (ANSI/NFPA70-1999) and local electrical codes. Electrical installation should be performed by a qualified licensed electrician.
- After making the wire connections, the wires should be spread apart with the grounded conductor and the equipment-grounding conductor on the one side of the outlet box and the ungrounded conductor on the other side of the outlet box.
- The splices after being made should be turned upward and pushed carefully up into the outlet box.
- Conductor of a fan identified as a grounded conductor to be connected to the grounded conductor of power supply, conductor of a fan identified as an ungrounded conductor to be connected to an ungrounded conductor of power supply, conductor of fan identified for equipment grounding to be connected to an equipment-grounding conductor.
- The fan should not be mounted in an area where it might get wet.
- To reduce the risk of fire, electric shock, or personal injury, mount to the outlet box marked “Acceptable for Fan Support” and use mounting screws provided with the outlet box.
The outlet box and its support must be able to support the moving weight of the fan (at least 35lbs). - For safety and the best operating results, we recommend that you have a qualified electrician assemble and install your fan.
- WARNING: To reduce the risk of fire or electric shock, do not use this fan with any solid-state speed control device.
- To reduce the risk of personal injury, do not bend the blade brackets when installing the brackets, balancing the blades, or cleaning the fan. Do not insert foreign objects in between rotating fan blades.
- Check downrod length to ensure blades are at least 7 feet (2.1m) above the floor.
Troubleshooting Steps
Problem A: Fan Will Not Start
- Check fuse or circuit breaker and replace it if necessary
- Turn off the electrical power and check all wire connectors.
- See operation instructions.
Problem B: Fan is Excessively Noisy
- Check if all screws in the fan assembly are tight and properly seated.
- Check and make sure the mounting bracket is installed properly.
- Check and make sure the light kit and glass are installed properly and tight.
Problem C: Fan Wobbles
- Check and make sure all blades are screwed firmly into blade holders.
- Check and make sure all blade holders are screwed firmly into the motor.
- Check the weight of the blades. All our blades are weighed on electronic scales. The weight is marked on the reverse side of the fan blade near the motor end. All of the blades should be the same weight to prevent the fan from wobbling.
- Use the enclosed balancing kit if needed
Problem D: Unable to pair switch and app
- The WIFI must be 2.4Ghz, The app is incompatible with 5Ghz WIFI
- Press and hold the OFF button for 8 seconds until LEDs start blinking on the switch button to pair with App again. Using the AP mode will improve your success rate for the WiFiconnection.
Before Assembly
- Make sure that the fan voltage (120) is compatible with your own electrical system.
- Check to make sure that your carton contains all the parts mentioned in the parts list.
NOTE: The box can be used as a workspace to prevent any damage to the ornamental surface.
CAUTION: Before installing, choose a location for mounting the fan where the blades have at least 7 feet of clearance from all objects and floor. Mount an outlet box to the ceiling or use an existing box.
CAUTION: Do not mount the fan to sheetrock or drywall-type materials. To ensure proper support, use the two #1 wood screws to secure the mounting bracket to the joist or beam. If the location you choose does not have a suitable support beam, install a 2″x 4″ brace between ceiling joists for proper support.
Screw Package
S1. Blade Screws & Washers
S2. Wire Nuts
S3. Wood Screws & Flat Washers
S4. 5/32-Screws & Lock Washers
Screw Package for Smart Switch
S6. Wall Switch Cover Screws
S7. Wall Switch Screws
S8. White Wire
S9. Wire Nuts
Turn off circuit breakers and wall switches to the fan supply line lead.
Preparation & Caution
Important: When using an existing outlet box, be sure the box is securely attached to the building structure and can support the full weight of the fan. Failure to do so can result in serious injury or death.

IMPORTANT: If using the angle mount method, check to make sure the ceiling angle is not steeper than 25. Angles greater than 25° will require a 35° angle adapter.

- Check to make sure blades are at least 30 from any obstruction.
- Check downrod length to make sure blades are at least 7.1′ above the floor.
Installing Mounting Bracket

Mounting options
Drop-mount (for flat ceilings)
This method is preferred if the ceiling is sloped or vaulted, or if the ceiling is extra high, requiring the need of a downrod.

Installing Drop-mount

- Loose the two downrod set screws and remove the clip and connection pin from the downrod coupling. Insert the downrod through the canopy and cover, and pull lead wires through the downrod.
- Insert downrod into downrod coupling, Make sure to align holes in the downrod with the holes in the coupling. Insert the clip into the connection pin until it snaps into place. Tighten the screws in the downrod coupling.
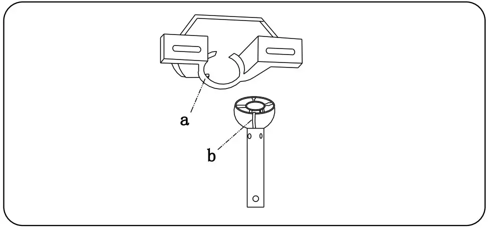
Installing Hugger mount

- Carefully lift the fan assembly onto the mounting bracket.
- Rotate the fan until the notch(b) on the Nylon Ball fits against the ridge(a) on the mounting bracket.
- With the mounting bracket holding the fan assembly, follow wiring instructions.
WARNING: Failure to hold the fan assembly may result in serious injury or death.
Assembly
- Unhook the assembly from the mounting bracket.
- Hold the assembly by the canopy and raise up to align the two holes in the canopy with the holes in the mounting bracket.
- Tighten the loosened screws. Now re-secure the screws and washers which were removed.

- Locate 9 blade attachment screws and washers in the hardware pack. Slide the blade through the center band and align holes. Insert 3-blade attachment screws and washers with fingers. Tighten securely with a screwdriver. Repeat for the remaining blades.

- Remove 1 screw from the motor plate on the underside of the motor and partially loosen the other 2 screws.
- Align slotted holes in the fitter plate with loosened screws in the motor plate, allowing Molex to come through the center hole in the fitter plate. Twist the fitter plate to lock. Re-insert the screw that was previously removed and securely tighten all 3 screws with a crosshead screwdriver.

Light Kit Installation
- Remove 1 screw from the motor plate on the underside of the motor and partially loosen the other 2 screws.
- Connect the blue wire from the motor assembly to the black wire from the LED light kit. Connect white wire from motor assembly to white wire from LED light kit. Make sure Molex connections snap together completely.

- Gently push up on the glass shade and turn to the RJGHT (clockwise) until it slides completely into place
- NOTE: Pull down VERY GENTLY on the glass shade to make sure it’s properly fitted.


Make wire connections using wire nuts:
Fan wire connection:
- Connect blue wire from fan to blue wire from ceiling outlet box.
- Connect black wire from fan to black wire from ceiling outlet box.
- Connect the white wire from the fan to the white wire (neutral) from the ceiling outlet box.
- Connect green ground wires from downrod and bracket to ground wire (green or bare copper) from ceiling outlet box.
Wall switch connection:
- Take out the white wire and wire nut from the screw bag. Stick this white wire to the switch by the provided screw. Then connect tightly this white wire to the neutral wire from the wall by a wire nut.
(If the length of the neutral wire from the wall is long enough, connect it to the switch directly.) - Connect tightly the remaining wires from the wall to the switch by the provided screws as per the above wiring diagram.
Note: If the wiring in your wall outlet box does not resemble any of these configurations, consult a qualified electrician.
WARNING: Be sure no bare wire or wire strands are visible after making a connection.

Wall Switch Installation:
Carefully tuck the wire connections from the wall switch inside the wall outlet box.
Secure the wall switch with two wall switch screws provided.
Attach the wall switch cover over the wall switch and secure it with two wall switch cover screws provided. Then snap in the wall plate.
Operation
NOTE: If the fan indicator light is green and the fan is in the OFF position.
If the fan indicator light is red and the fan is in the ON position.
If the fan indicator light is blinking and the switch is ready to pair with the pp.
If you are unable to pair the switch and App, press and hold the “OFF” button for 8 Seconds until LEDs start blinking slowly on the switch button to pair with App again. Using the AP mode will improve your success rate for the WIF connection.
Cleaning: Clean with a damp cloth. DO NOT use chemical cleaners.
Forward and Reverse Direction Function
This ceiling fan is equipped with a Reverse Switch for downward or upward airflow.
NOTE: Do not use the Reverse Switch when the fan blades are in motion.
Forward function
On this setting, the fan will turn counterclockwise to create a cooling effect. Use this function during warmer weather to circulate the hot air away from your living space.
Reverse function
On this setting, the fan will turn clockwise. Use this function during cooler weather to re-circulate warm air.
Maintenance
- Because of the fan’s constant spinning movement, some connections may become loose. Check the support connections, brackets, and blade attachments twice a year.
Make sure they are secure. - There is no need to oil your fan. The motor has permanently-lubricated bearings.
Care and Cleaning
- Dust your fan periodically with a soft, dry cloth. Do not use harsh cleaners or materials as they may damage the unit.
- To prevent bending the blades during cleaning, support the blades so that no pressure is applied to them.
Caution!
Do not allow water to come in contact with fan blades or the ceiling fan.
Doing so will create fire and/or shock hazards, damaging property.
APP control Connection (Wifi and Bluetooth):
- First, download the free Carro Home app from the App Store or Google Play or scan the QR Code below.
- Open the Carro Home app to create your account. The account with Carro Home” can be registered through E-mail or Mobile phone.
- Connect the device to the Carro Home app (Four ways connection):
https://a.smart321.com/carrohomesmartfan
- Bluetooth connect (WI FI& Bluetooth on)
a.Press+” button into the device list, then a window will pop up to show you some devices that can be connected.
b. Click “Go to add” (If you click “Do not add” by mistake, please see “Do not add”steps).
c.Choose the device.
d. Connect to your home WIFI, then back to the app and wait for connecting.
Do not add” steps:
a. Select “Electrical”(smart switch) or “Air Circulation”(smart ceiling fan) on the sidebar menu
then select “Ceiling Fan Switch” or Ceiling Fan” and tap next.
b.Connect to your home WIFI And tap Next” to wait for connecting. - Auto Scan(WIFI& Bluetooth on)
a.Press, the “button into the device list.
b. Tap Auto Scan” on the top.
c. Wait for the device comes out and tap “Next”.
d.Press, the “button to add a device.
e. Connect to your home WIFI
f. Wait for connecting. - WIFIeonneet-EZ Mode(WIFIon & Bluetooth off )
a. Press the +” button to select “Electrical”(smart switch) or “Air Circulation”(smart ceiling fan) on the sidebar menu then select “Ceiling Fan Switch” or “Ceiling Fan” and tap next.
b. Connect to your home WIFI (Only for 2.4Ghz).
e.EZ Mode is set as default, just tap the Next”button to wait for the connection to complete. - WIFIeonneet-AP Mode(WIFIon & Bluetooth off)
a. Smart ceiling fan: Press and hold the WIF] button on the remote for 5 seconds till hearing a beep into AP Mode.
Smart switch: Press and hold the OFF” button for 10 seconds till the indicator light blinks slowly into AP Mode.
b.Press+ the”button to select “Electrical”(smart switch) or “Air Circulation”(smart ceiling fan) on the sidebar menu then select Ceiling Fan Switch” or “Ceiling Fan” and tap next.
c. Connect to your home WIFI (Only for 2.4Ghz).
d. Choose AP Mode.
e.Press the “Next” button to go to connect the fan’s WIFI signal.
f. Choose the fan’s WIFI signal “CarroHome-XXXX” and then back to the app.
g. Wait for connecting. - Connect the device to Alexa:
a. Make sure you have connected the device to the app and working normally.
b. Open the Alexa app, and go to the skill to search “Carro Home” skill.
c. Link the skill, log in with your Carro Home app account and password, then authorize and connect with the Carro Home app.
cl. Then Alexa will find out the device automatically. - Connect the device to the Google Home
a. Make sure you have connected the device to the app and working normally.
b. Open the Google Home app, Set up a device, and choose “Works with Google”.
e. Search Carro Home, log in with your Carro Home app account and password, then authorize and connect with the Carro Home app.
d. Then the Google Assistant will find out the device automatically. - Connect the device to the Siri shortcuts
a. Make sure you have connected the device to the app and working functionally.
b. Tap “Smart” on the main menu.
c.Tap +”button.
d. Tap “launch Tap To Run”.
e. Tap “Run the device”.
f. Choose the device you want to control by Siri.
g. Select the function you want to control by Siri.
h. Then save it.
I. Add to Siri, choose the scene you just made, and Add to Siri.
j.Enter the sentence you want to say to make the device work, Add it to Siri.
FCC/IC Information
This device complies with part 15 of the FCC Rules and Industry Canada license-exempt RSS standard(s).
Operation is subject to the following two conditions:
- This device may not cause interference, and
- this device must accept any interference, including interference that may cause undesired operation. Modifications not expressly approved by Carro USA Inc. could void the user’s authority to operate this equipment.
Note: This equipment has been tested and found to comply with the limits for a Class B digital device, pursuant to part 15 of the FCC Rules. These limits are designed to provide reasonable protection against harmful interference in a residential installation. This equipment generates, uses, and can radiate radio frequency energy and, if not installed and used in accordance with the instructions, may cause harmful interference to radio communications. However, there is no guarantee that interference will not occur in a particular installation. If this equipment does cause harmful interference to radio or television reception, which can be determined by turning the equipment off and on, the user is encouraged to try to correct the interference by one or more of the following measures:
- Reorient or relocate the receiving antenna.
- Increase the separation between the equipment and receiver.
- Connect the equipment into an outlet on a circuit different from that to which the receiver is connected.
- Consult the dealer or an experienced radio/TV technician for help.
Carro USA Inc.
1431 S.Baker Ave. Ontario CA 91761
Tel: 888-253-2374
www.smafan.com
[email protected]






















