
Installation guide
Thermostat
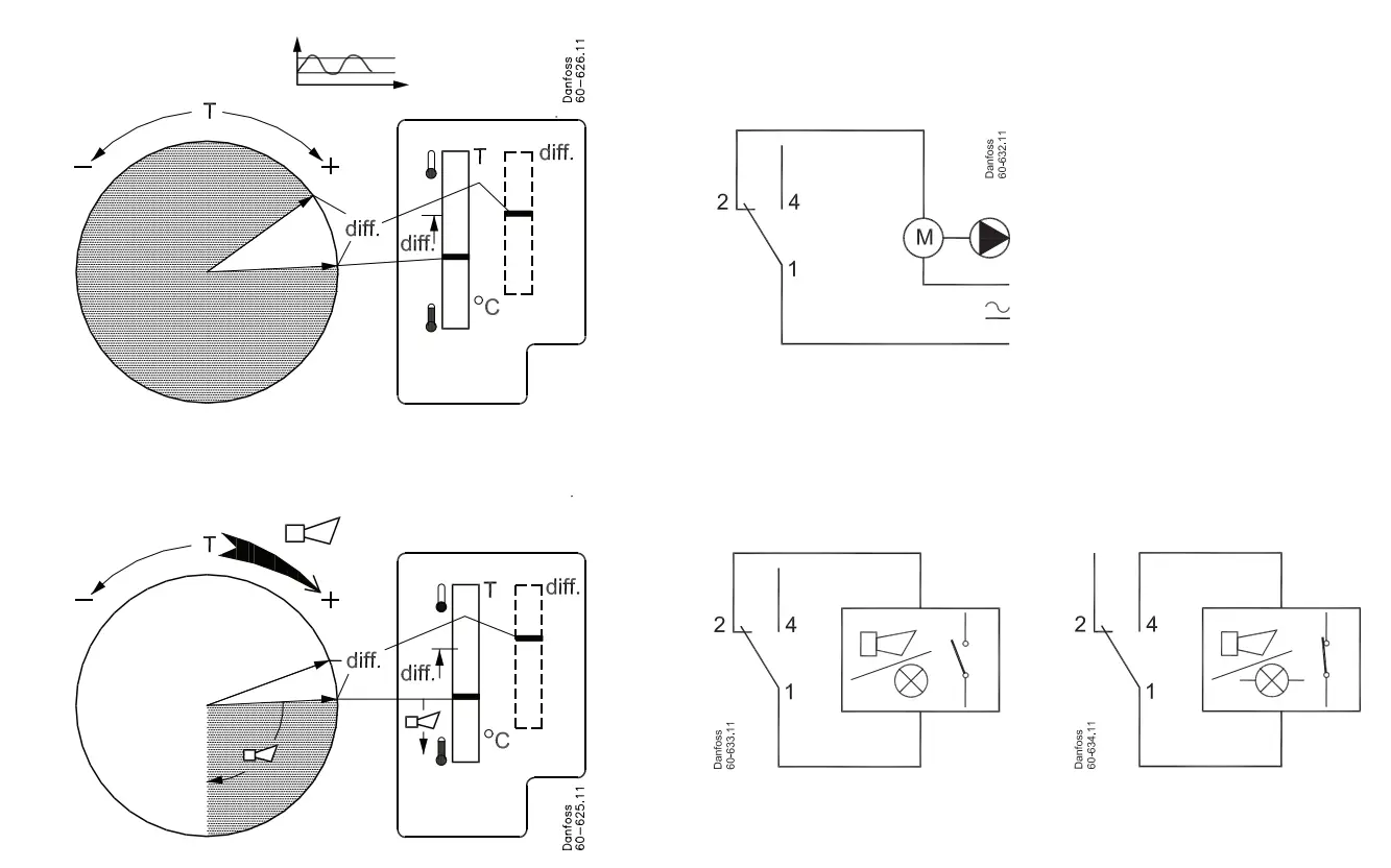
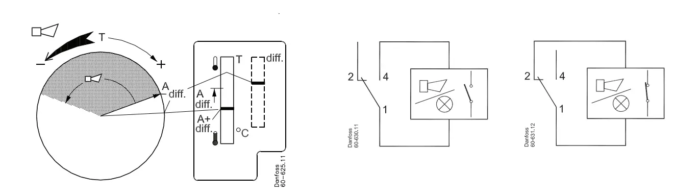
Types KPS 76 – KPS 83
KPS 76 Thermostat




| Type | Code no. | Diff. [°C] |
| KPS 83 | 060L313966 | 18 |
CAUTION: Disconnect power supply before wiring connections are made or service to avoid possible electrical shock or damage to equipment. Do never touch live parts with your fingers or with any tool.


![]()



















