XPOtool 61852 Multi Purpose Bending Device

The information contained in this document may alter at any time without prior notice. No part of this document may be copied or otherwise duplicated without prior written consent. All rights reserved. WilTec Wildanger Technik GmbH cannot be held liable for any possible mistakes in this operating manual, nor in the diagrams and illustrations shown. Although WilTec Wildanger Technik GmbH has made every possible effort to ensure that this operating manual is complete, accurate, and up-to-date, errors cannot be ruled out entirely.
If you have found an error or wish to suggest an improvement, we look forward to hearing from you. Send us an e-mail to: [email protected]
or use our contact form: https://www.wiltec.de/contacts/
The most recent version of this manual in several languages can be found in our online shop: https://www.wiltec.de/docsearch
Our postal address is:
WilTec Wildanger Technik GmbH
Königsbenden 12
52249 Eschweiler Germany
To return your goods for exchange, repair, or other purposes, please use the following address.
Attention: To allow for a trouble-free complaint or return, it is important to contact our customer service team before returning your goods.
Retourenabteilung
WilTec Wildanger Technik GmbH
Königsbenden 28
52249 Eschweiler Germany
E-mail: [email protected]
Phone: +49 2403 55592–0
Fax: (+49 2403 55592–15)
Introduction
Thank you for choosing to purchase this quality product. To minimise the risk of injury, we ask you to always take some basic safety precautions when using this product. Please read this operating manual carefully and make sure that you understand it.
Keep these operation instructions in a safe place.
Intended use
- This manual desktop pipe bending machine allows you to perform a large number of bends to flat or massive round material in an economic way.
- It may be applied to produce anchor screws, U-bolts, pipe clamps, handles, and more. Its weight is small enough to use the machine as mobile device on lorries or trailers.
Technical specifications
| Item number | 61852 | 61899 |
| Height (㎝) | 98 | 22 |
| Size (㎜) | 255×255 | |
| Mounting holes ⌀ (㎜) | 4 pieces with 15.87 each | |
| Weight (㎏) | 21.3 | 16.3 |
| For flat steel (with bending radius) (H×D) (㎜) | 50×6 | |
| Handle length (㎝) | 81 (handle fully inside) /114 (handle fully extended) | |
| Bending forms/moulds (㎜) | 25.4 (D1~1″) / 31.75 (D1~1¼″) / 2× 38.1 (D1~1½″) / 44.45 (D1~1¾″) 50.8 (D2 ~2″) / 63.5 (D1~2½″) / 76.2 (D3~3″) | |
| Bending radius (㎜) | 12.7 | |
Important safety information
Warning: Read and understand all instructions. Non-compliance with any of the following instructions might lead to serious injuries.
- The warnings, safety advises, and instructions cannot cover all possible situations or conditions probably arriving during use of the device. Therefore, always make sure to use the device with caution, pay attention to your surroundings, and use the tool in a safe way and with common sense.
- Never allow anyone to use or assemble the device that has not read the entire user’s manual and developed a proper comprehension of the functions of the device.
- The device must not be modified in any way. Unauthorized modifications might impair the functionality and/or safety of use and reduce the lifetime of the product. The product has been designed to serve in a well-defined way.
- Use the tool that matches the respective job to do. Never try to use a small device for a job that should be done with large industrial devices. The tool will do a safer and quicker job when used for its intended purpose.
Safety in your working area
- Before every use, inspect your working area. Keep your working area clean, tidy, and well illuminated. Untidy, damp, or dark working area invites accidents.
- Make sure that the tool does not get in contact with any power source. Accidental contact might lead to electrical shocks.
- Keep children and bystanders away from your working area while using the device. Do not allow children to use the device.
- Pay attention to all sorts of power cables, circuits, water conduits, and other mechanical dangers in the working area. Some of these dangers, hidden under or behind the working surface, might not be visible. This can lead to injury and/or damage.
Personal safety
- Always pay attention and fully concentrate on your work. Therefore, always use the device with caution. Do not use the device when being tired or under the influence of alcohol, drugs, or medicine. A moment of inattention, the small it be, might lead to serious injuries during use of the device.
- Wear appropriate clothing. Do not wear loose clothing or jewellery. Tie long hair together, as it could get into moving parts. Keep hair, clothing, and gloves away from moving parts.
- Wear safety goggles with side protection or a protection that covers the entire face to be protected from metal particles ejected. Use a dust mask when performing work that generates a lot of dust. Also wear non-slip shoes, a hard hat, and robust gloves. Use dust collecting devices and, if necessary, wear an ear protection. This applies to all persons within the working area.
- Do not stoop down too far. Ensure a safe stand and keep your balance.
- Secure the work pieces with clamps and a vice, not with your hand. When doing so, you will have both hands free to use the device.
Use and maintenance
- Do not apply too great a force when using the device. Devices and tools work more safely and more reliably when being used for their respective intended purpose. Plan your work and use the suitable devices and tools for it.
- Before operating the device, check it for damaged parts. Thoroughly check if the device or tool functions properly and can be used as intended. Immediately replace damaged parts. Never use the device if parts are damaged.
- Store the device when it is not used. Keep it in a dry, safe location and out of children’s reach. Before storing or re-using the device or tool, check it for damages.
- Only use accessories approved by the manufacturer for being appropriate for use on other tools. Accessories that can be used on a certain tool might cause injuries when being used on another tool.
Special safety instructions
- Always make sure that the bending machine is fixed to a flat surface being able to absorb the weight and operational forces. Should the bending device shift during bending, serious injuries may follow.
- Keep away from moving parts during use. Keep your fingers and hands away from them.
- Before use, check every single bolt. Make sure that all bolts are inserted as far as possible.
- Make sure that the work piece is long enough. Its length must be sufficient to ensure the work piece not slipping off the stop block and bending tool. Otherwise, serious injuries can follow.
Main components and accessories

| Letter | Name | Qty. |
| A | Base | 1 |
| B | Bow-type lever | 1 |
| C | Handle | 1 |
| D | Bending support | 1 |
| E | Bending tool | 1 each |
| F | Stop bolt M10×6 | 1 |
| G | Support bolt M9×11 | 1 |
| H | Stop block | 1 |
| I | Long spacer | 1 |
| J | Angle bending block | 1 |
Assembly
The assembly described hereunder applies for both the desktop bending machine and floor-mounted bending machine.
- When unpacking the components for the first time, check if all parts necessary are present; refer to parts list.
- Screw the foot/base to a stable surface.
- Place the two small spacers (6) on two of the upper-side holes of the foot/base, as shown in the figure.
- Place the bending support (4) onto the small spacers, securing it with the help of the screws (5), washers (3, 7), and the nuts (8) according to
and exploded view. - Place the long distancer (1) between the two rear bores of the bending support and fix the entire assembly to the foot/base with the help of screws (2), washers (3, 7), and nuts (8).
- Place the bow-type lever (15) between the flanges of the bending device and secure it with the long hinge pin (9).
| № | Name | № | Name |
| 1 | Base | 3 | Bending support |
| 2 | Short spacer | 4 | Long spacer |
Before every use
- Check the bending machine for used or damaged parts. Make sure that the device is free from residues that could impair its function.
- Regularly check the push device for proper fixing. Re-fix it if necessary.
- Make sure that the handle (17) has been installed properly.
Operation
Performing a simple radius bending
- Choose the bending tool matching the radius of the work piece to be bent. Install it as centring tool to the hinge pin (9) fixing the bow-type lever (15) to the bending support (4) .

№ Name № Name 1 Supporting bolt 4 Centring tool 2 Bow-type lever 5 Work piece 3 Stiffening form 6 Stop block - Mount the supporting bolt (13) to the stop block (10) with the help of the residual hinge pins (9).
Note: Make sure that the offset bore of the stop block is as far from the bending tool as possible to ensure that the block does not turn during bending. - Choose a bending tool that fixes the work piece to the centring tool and prevents it from slipping. After that, mount it as stiffening form with the help of the short hinge pin (14). Make sure that the stiffening form is as near as possible to the work piece.
- Place the work piece between the bending tools and stop block (10) (Fig. 4).
- To limit the bending range, mount the stop bolt (11) into the corresponding bore of the outer ring of the bending angle (Fig. 5).
- Bend the work piece by pulling the lever in your direction.

Performing a simple angle bending
- Mount the supporting bolt (13) and angle bending block (18) to the bending support (4) as shown in Fig. 6,
making sure that the block supporting bolt is mounted as near as possible to the angle bending block.№ Name № Name 1 Supporting bolt 2 Angle bending bolt - Depending on the desired angle and the proportion between the angle bending block (18) and bow-type lever (15), choose two bending tools that keep the work piece properly against the angle bending block, and install them as shown.

- To limit the bending range, mount the stop bolt (11) into the corresponding bore of the outer ring of the bending support (4) as shown in Fig. 7.
- Pull the lever into your direction to bend the work piece.
After every use
Remove residues before bending the next work piece.
Maintenance
- It is recommended to check the general condition of every device before every use. Keep your device in a good working condition by planning and performing regular repair and maintenance (according to procedure described in the present user’s manual). Keep the handles proper, dry, and free from oil and lubricating agents.
- Regularly lubricate the mobile parts of the device.
- Regularly check the bending device for damaged or used parts.
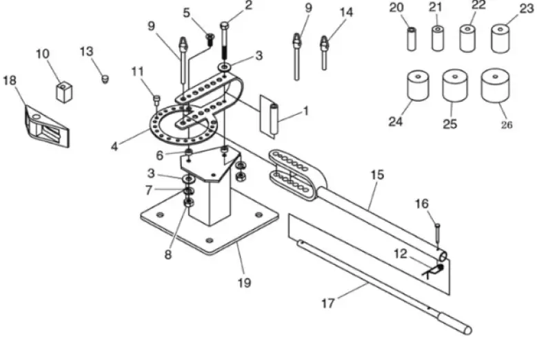
Exploded view and parts list
| № | Name | Qty. | № | Name | Qty. |
| 1 | Long spacer M10×69 | 1 | 14 | Short hinge pin M15×75 | 1 |
| 2 | Hexagonal head screw M10 1.5×120 | 1 | 15 | Bow-type lever | 1 |
| 3 | Flat washer 10 mm | 1 | 16 | Clevis pin | 1 |
| 4 | Bending support | 1 | 17 | Handle | 1 |
| 5 | Flat SCR HDD screw M10 1.5×35 | 1 | 18 | Angle bending block | 1 |
| 6 | Short spacer M11×6 | 1 | 19 | Base/foot | 1 |
| 7 | Spring washer 10 mm | 1 | 20 | Bending tool 2.54 cm (1″) | 1 |
| 8 | Hexagon head nut | 1 | 21 | Bending tool 3.17 cm (1¼″) | 1 |
| 9 | Long hinge pin M15×100 | 1 | 22 | Bending tool 3.81 cm (1½″) | 1 |
| 10 | Stop block | 1 | 23 | Bending tool 4.44 cm (1¾″) | 1 |
| 11 | Stop bolt | 1 | 24 | Bending tool 5.08 cm (2″) | 1 |
| 12 | R pin | 1 | 25 | Bending tool 6.35 cm (2½″) | 1 |
| 13 | Supporting bolt | 1 | 26 | Bending tool 7.62 cm (3″) | 1 |
Important Note:
Reproduction and any commercial use (of parts) of this operating manual, requires a written permission of WilTec Wildanger Technik GmbH.

and exploded view.

making sure that the block supporting bolt is mounted as near as possible to the angle bending block.



















