XPOtool 61495 2-In-1 Brush Cutter User Manual
Introduction
Thank you for purchasing this quality product. To minimise the risk of injury we urge that our clients take some basic safety precautions when using this device. Please read the operation instructions carefully and make sure you have understood its content.
Keep these operation instructions safe.
Notes on types of warnings in the manual
This mark indicates instructions which must be followed to prevent accidents which could lead to serious bodily injury or death.
This mark indicates instructions which must be followed, or it leads to mechanical failure, breakdown, or damage.
This mark indicates hints or directions useful in the use of the product.
Warning label on the machine

| No | Definition | No | Definition |
| 1 | Read owner’s manual before operating this machine. | 3 | Warning/Attention |
| 2 | Wear head, eye and ear protection. | 4 | Keep all others persons 15 m away from the brush cutter. |
If warning seals peel off or become soiled and impossible to read, you should contact the dealer from which you purchased the product to order new seals and affix the new seal in the required location.
Never remodel your brush cutter. We shall not warrant the machine, if you use a remodelled brush cutter or you do not observe the proper usage described in the manual.
Explosion view and parts list

| No | Name | No | Name |
| 1 | Fuel tank | 9 | Hale bracket |
| 2 | Starter | 10 | Throttle lever |
| 3 | Air cleaner | 11 | Throttle cable |
| 4 | Stand | 12 | Outer pipe |
| 5 | Engine switch button | 13 | Safety guard |
| 6 | Housing | 14 | Gear case |
| 7 | Hanger | 15 | Blade |
| 8 | Handle |
Symbols on the machine
For safe operation and maintenances, symbols are carved in relief on the machine. According to these indications, please be careful not to make a mistake.
The port to refuel the “MIX GASOLINE”
Position: fuel tank cap
The direction to close the choke
Position: AIR CLEANER COVER
The direction to open the choke
Position: AIR CLEANER COVER
Safety precautions
Before using the device
- Read this owner’s manual carefully to understand how to operate this unit properly

- This product has been designed for use in cutting grass, and it should never be used for any other purpose.
- You should never use the product when under the influence of alcohol, when suffering from exhaustion or lack of sleep.

- Avoid running the engine indoors. The exhaust gases contain harmful carbon monoxide.
- Never use the product under circumstances like those described below:
- when the ground is slippery or when other conditions exist which might make it not possible to maintain a steady posture;
- at night, at times of heavy fog, or at any other times when your field of vision might be limited and it would be difficult to gain a clear view of the area;
- during rain storms, during lightning storms, at times of strong or galeforce winds, or at any other times when weather conditions might make it unsafe to use this product.
- When using this product for the first time, learn to handle it from skilled worker.
- Lack of sleep, tiredness, or physical exhaustion results in lower attention spans, and this in turn leads to accidents and injury. Limit the amount of time of using the machine continuously to somewhere around 10 min per session and take 10–20 min of rest between work-sessions. Also try to keep the total amount of work performed in a single day under 2 hours or less.

- Be sure to keep this manual handy so that you may refer to it later whenever any questions arise.
- Never allow children or anyone unable to fully understand the directions given in this manual to use this brush cutter.

Working gear and clothing

- When using the product, you should wear proper clothing and protective equipment as follows:
- (1) Helmet
- (2) Protection goggles or face protector
- (3) Thick work gloves
- (4) Non-slip-sole work boots
- (5) Ear protectors
- And you should carry with you
- description
- properly locked fuel tank
- spare blade
- things to notify your working area shutter band, warning signs .
- Never use the product when wearing pants with loose cuffs, when wearing sandals, or when barefoot.

Working considering handling of fuel
- The engine of this product is designed to run on a mixed fuel which contains highly flammable gasoline. Never store cans of fuel or refill the fuel tank in any place where there is a boiler stove, wood fire, electrical sparks, welding sparks, or any other source of heat or fire which might ignite the fuel.

- Smoking while operating the product or refilling its fuel tank is extremely dangerous. Always be sure to always keep lit cigarettes away from the product.
- When refilling the tank always turn off the engine first and take a careful look around to make sure that there are no sparks or open flames anywhere nearby before refuelling.
- If any fuel spillage occurs during refuelling, use a dry rag to wipe up spills before turning the engine back on again.
- After refuelling, screw the fuel cap back tightly onto the fuel tank and then carry the product to a spot 3 m or more away from where it was refuelled before turning on the engine.
Things to check before using your brush cutter
- Before beginning work, look around carefully to get a feel for the shape of the land or grass to be trimmed and whether or not there are any obstacle which might get in the way white working, and remove any obstacles, which can be cleared away.

- The area within a perimeter of 15 m of the person using the brush cutter should be considered a hazardous area into which no one should enter while the brush cutter is in use, and when necessary yellow warning rope, warning signs should be placed around the work area. When work is to be performed simultaneously by two or more persons always check the presence and locations of others to maintain a distance each person.

- Make sure that there are no loose screws or bolts. fuel leaks, ruptures, dents, or any other problems, which might interfere with safe operation. Be especially careful to check that there is nothing wrong with the blades or with the joints by which the blades are attached to the brush cutter.

- Never use blades that are bent, warped, cracked, broken or damaged in any way.

- Keep the blade always sharp.
- Filling the cutting edges, keep the end corner sharp and round the root of the edge.
- Check the boll to fasten the blade and be sure the blade turns smoothly without abnormal noise
Notes on starting the engine
- Take a careful look around to make sure that no obstacles exist within a perimeter of 15 m or less around brush cutter.
- Place the body of the brush cutter onto the ground in a flat clear area and hold it firmly in place so as to ensure that neither the blades nor the throttle come into contact with any obstacles when the engine starts up.
- Place the throttle into the idling position when starting the engine.
- After starting up the engine, if the blades continue to rotate even after the throttle has been moved fully back, turn off the engine and check the throttle wire and other parts.
Kickback safety precautions
A dangerous reaction may occur when the spinning blade contacts a solid object in the critical area.
This is called kickback. As a result, the operator can lose control of the unit, which can cause serious or fatal injury. Avoid kickback, observe the safely precautions below strictly:
- Before beginning work, clear your working area.
- When using your brush cutter do not grip other parts except the handles.
- When using your brush cutter never take your eyes off, if you need to place the throttle into the idling position.
- When using your brush cutter do not let the unit get close to your feet nor raise the unit above your waist.
Transportation
- Make sure the appropriate blade cover is in place.
- When transporting by car fix the unit firmly using a rope, do not transport by bicycle or motorcycle because it is dangerous.
- Never transport the brush cutter over rough roads over long distances without first removing all fuel from the fuel tank, as doing so might cause fuel to leak from the tank.
Operation safety precautions
- Grip the handles of the brush cutter firmly with both hands. If you suspend the work, place the throttle into the idling position.

- Always be sure to maintain a steady even posture while working.
- Maintain the speed of the engine at the level required to perform cutting work and never raise the speed of the engine above the level necessary.

- If the grass gets caught in the blade during operation or if you need to check the unit or refuel the tank always be sure to turn off the engine.
- If the blade touches a hard object like a stone immediately stop the engine and check if something is wrong with the blade. If so replace the blade by new one.
- If someone calls out while working always be sure to turn off the engine before turning around.
- Never touch the spark plug or plug cord while the engine is in operation.
It may result in being subjected to an electrical shock. - Never touch the muffler spark plug or other metallic parts of the engine while the engine is in operation or immediately after shutting down the engine. Doing so may result in serious burns.
- When you finish cutting in one location and wish to continue work in another spot turn off the engine and turn the unit as the blade faces away from your body.

Maintenance safety precaution
- Perform the maintenance and checking operations described in this manual at regular intervals.
If any parts must be replaced or any maintenance or repair work not described in this manual must be performed, contact a representative from the store nearest authorized servicing dealer for assistance. - Under no circumstances should you ever take apart the brush cutter or alter it in any way. Doing so might result in the brush cutter becoming damaged during operation or the brush cutter becoming unable to operate properly.
- Always be sure to turn off the engine before performing any maintenance or checking procedures.
- When sharpening removing the blade with proper tools and equipment to prevent injury.
- When replacing blade or any other parts or when replacing the oil or any lubricants always be sure to use only products which have been certified by for use with the brush cutter.
Set up
Engine and main pipe

Align the hanger and the fuel tank using attached 4 socket screws secure the connection firmly with equal force (F1).
| No | Name | No | Name |
| 1 | Fuel tank | 3 | Main pipe |
| 2 | Bolt |
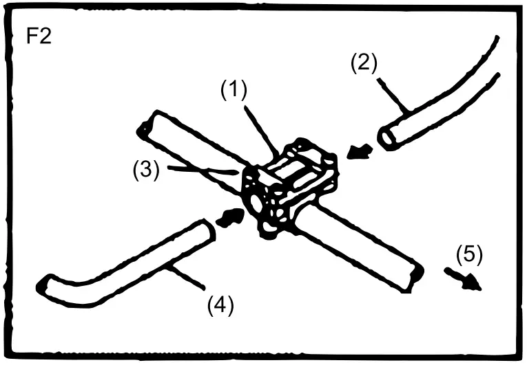
Handle (F2)

- Loosen the 4 bolts on the handle bracket.
- Insert the right handle throttle lever is attached and the left handle assembly into the bracket and re-tighten the bolts securely.
| No | Name | No | Name |
| 1 | Handle bracket | 4 | Left handle |
| 2 | Right handle | 5 | Engine side |
| 3 | Bolt |
Safety guard (F3)

Attach the safety guard to the gear case and fix it with the clamp and 2 bolts M5×25 securely.
| No | Name | No | Name |
| 1 | Bolt | 3 | Main pipe |
| 2 | Clamp | 4 | Safety guard |
Throttle wire (F4)

After fitting up the wire make sure that the throttle cable is put in the throttle lever. If not, it is very dangerous because the engines rotate after releasing the throttle.
- Hook the cable end into the hole of the throttle lever.
And set the cable in the lever as shown in the picture. - Wrap the band so as the throttle wire is fixed with the handle.
| No | Name | No | Name |
| 1 | Hole | 2 | Throttle wire |
Adjusting the throttle cable (F5)

- After releasing the throttle lever pull the throttle wire.
The normal play is 1 or 2 mm when measured at the carburettor side end. - If the play is too short or too long, take off the air cleaner cover, loosen the lock nut and adjust the play.
| No | Name | No | Name |
| 1 | Adjust nut | 2 | Lock nut |
Installing the metal blade (F6)

- Set the inner holder to the gear shaft and fix with the attached L-shaped bar.
- Put the blade on the inner holder with letters to the gear case and match correctly the hole of the blade to the projection of the inner holder.
- Set the outer holder to the gear shaft with the hollowed face to the blade.
- Put the attached bolt cover on the outer holder and secure it with the bolt left screw together with the spring washer and the washer.
| No | Name | No | Name |
| 1 | Nut | 6 | Gear shaft |
| 2 | Spring washer | 7 | Bar |
| 3 | Washer | 8 | Inner holder |
| 4 | Outer holder | 9 | Gear case |
| 5 | Blade |
Installing the nylon cutter (option) (F7)

- Set correctly the inner and the outer holder to the gear shaft.
- Screws the attached bold M8, left into the gear shaft and secure it with the spanner.
- Screw the nylon cutter into the bolt by fixing the inner holder with the L-shaped bar and tighten it manually.
- Keep bolts and washers to install the blade carefully.
| No | Name | No | Name |
| 1 | Gear case | 3 | Nylon cutter |
| 2 | Bolt | 4 | Nylon cord |
Fuel
Gasoline is highly flammable. Avoid smoking or flames
- Wipe up all spills before starting the engine.
- Make sure to stop the engine and allow it cool before refuelling the unit.
- Keep open flames away from the area where fuel is handled or stored.
Never use oil for 4-cycle engine use or water cooled 2-cycle engine. It can cause spark plug fouling exhaust port blocking or piston ring sticking.- Mixed fuels which have been left unused for a period of one month or more may clog the carburettor result in the engine failing to operate properly. Put remained fuel into an airtight container and keep it in the dark and cool room.

Mix a regular grade gasoline leaded or unleaded and a qualityproven motor oil for air-cooled 2-cycle engines.
RECOMMENDED MIXING RATIO
GASOLINE:OIL = 25:1
Operation
Starting the engine
Before starting the engine inspect the entire unit for loose fittings or fuel leaks and the cutting attachment is properly installed and securely fastened.

- a Turn the cap to the fuel tank to make sure that it is fixed on tightly F8 .
| No | Name | No | Name |
| 1 | Cap | 2 | Fuel tank |

- b Open the fuel tank cock F9 .
- c Move the choke lever to the closed position F9 .
When restarting immediately after stopping the engine move the choke lever to the open position.
| No | Name | No | Name |
| 1 | Choke lever | 4 | Open |
| 2 | Fuel cock | 5 | Close |
| 3 | Close | 6 | Open |

- d Set the throttle lever to the starting position (F10) .
When restarting immediately after stopping the engine move the throttle lever to the idling position.
| No | Name | No | Name |
| 1 | Idling | 3 | Full throttle |
| 2 | Starting (⅓–½ open) | ||

- e While holding the unit firmly pull out the starter rope quickly F11 .
- f After the engine has started open the choke gradually.
- g Allow the engine to run for 2 to 3 min to warm up.
Stopping the engine
- Return the throttle lever to the idling position.
- Push the engine switch button.
Equipping the shawl band (F12)

- a Equip the attached shawl band.
- b Turn on the engine return the throttle lever to the lowest speed position and put the shawl band hook to the hanging part of the machine.
- c Adjust the length of the shawl band so that the blade may be parallel to the ground in the working position. To prevent stack during operation turn up the extra part of the band from the buckle.
Cutting operation
Metal blade usage

- a Always cut by guiding the head from your right to left.
- b A metal blade cut best up to the point ⅓ from the edge. Use that area for cutting shrubs tough and thick weeds. For cutting young grass you can use up to ⅔ from the tip of blade.
- c Adjust the engine speed according to the cutting objects. Cut the young grass at middle speed and cut shrubs or tough and thick weeds at high speed.
Operating at low speed makes it easier for grass weeds or twigs to be caught up in the blades and it makes the shaft and clutch wear down more quickly.
| № | Name | № | Name |
| 1 | For boughs/trees | 3 | Cutting direction |
| 2 | For grass/weeds | 4 | Rotation direction |
Nylon cutter usage
- Nylon cord consumes large power. Please note that the engine rotation should be in operation.
- Nylon cutter cut grass with the power of cord rotation. If you try to cut grass for the length of cord at one 50 % as large as when using metal blade. time rotation speed becomes lower due to resistance and you cannot cut well. In case of large resistance get the nylon cutter away from grass once make the rotation speed higher and cut a small amount of grass at one time.
- If you try to cut grass by swinging the brush cutter in the reverse way from left to right scraps fly in the direction away from the body, so you can avoid getting your clothes dirty.
Maintenance
Blade

- a After 25 hours of service, sharpen each cutting edge and make sure the bottom corner is rounded.
- b Do not cool the blade with water in case of using grinder. If may cause cracks on blade.
Air filter

Check and clean the filter element in warm soapy water if required. Dry completely before installing. If the element is broken or shrunk replace with a new one.
| No | Name | No | Name |
| 1 | Cover | 3 | Screen |
| 2 | Filter element | 4 | Body |
A clogged air filter may increase fuel consumption while cutting down the engine power. If you operate the brush cutter without the air filter or with a deformed filter element will quickly ruin the engine.
Fuel filter
Take the filter out of the fuelling port using a small wire hook. Disconnect the filter assembly from the fuel pipe and unhook the retainer to disassemble it. Clean the components with gasoline.
A clogged fuel fitter may cause poor acceleration of the engine.
Spark plug

- a Remove and inspect the spark plug and clean the electrodes, if necessary, with brush.
- b The spark gap should be adjusted to 0.6–0.7 mm.
Intake air cooling vent
Check the intake air-cooling vent and the area around the cylinder cooling fins and remove any waste which has attached itself to the brush cutter.
Note that failing to do so could cause the muffler to become overheated and that this in turn could cause the brush cutter to catch on fire.
Gear case

- a Supply multi-purpose grease after every 25 hours of use.
- b Remove the cutter holders to arrange for old grease.
Muffler
- Remove the muffler insert a screwdriver into the vent and wipe away any carbon build-up. Wipe also away any carbon build-up on the muffler exhaust vent.
- Tighten all screws bolts and fittings.
- Check to see it any oil or grease has worked its way in between the clutch, lining and drum and if it has, wipe it away. Using oil-free lead-free gasoline.
- Remove the float cabin of the carburettor and clean the inside.
Adjusting carburettor
A wrong adjustment may cause damage to your unit. If the engine does not run well after adjusting the carburettor, please contact the shop where you purchased the product.
Idle adjustment screw (F17)

- a This is the screw to adjust the engine rotation when the throttle lever is set to the lowest speed position.
- b If you turn right clockwise the rotation increases and left counter-clockwise decreases.
- c In case the blade continues to rotate or engine stops when you return the throttle lever completely to the original position, make a readjustment.
| No | Name | No | Name |
| 1 | Idle adjustment screw | 3 | Low |
| 2 | High |
Maintenance before storing
- Brushing off dirt form the machine check damage or stack of each part if you find out abnormalities, repair them for the next use.
- Extract fuel from the tank and loose the drain screw of the float cabin to extract fuel, turn on the engine and leave it running until it stops naturally.
- Remove the spark plug and put in 1–2 cc of 2-cycle oil in the engine. Draw the starter rope 2–
- times, set the plug back and stop it at the contraction position.
- Apply anti-rust oil to the metal parts such as the throttle wire put the security cover on the blade and keep the machine indoor avoiding dampness.
The information contained in this document may alter at any time without previous notice. It is prohibited to copy or spread any parts of this document in any way without prior written allowance. All rights reserved.
The WilTec Wildanger Technik GmbH cannot be held accountable for any possible mistakes in this operating manual, nor in the diagrams and figures shown.
Even though, the WilTec Wildanger Technik GmbH has undergone biggest possible efforts to ensure that the operating manual is complete, faultless, and up to date, mistakes cannot be entirely avoided.
If you should find a mistake or wish to make a suggestion for improvement, we look forward to hearing from you.
Send an e-mail to: [email protected] or use our contact form:
https://www.wiltec.de/contacts/
The most recent version of this manual in various languages can be found in our online shop via:
https://www.wiltec.de/docsearch
Our postal address is:
WilTec Wildanger Technik GmbH
Königsbenden 12
52249 Eschweiler
Germany
To return orders for exchange, repair, or other purposes, please use the following address. Attention!
To allow for a smooth execution of your complaint or return, it is important to contact our customer service team before returning the goods.
Returns Department
WilTec Wildanger Technik GmbH
Königsbenden 28
52249 Eschweiler
E-mail: [email protected]
Tel: +49 2403 55592–0
Fax: +49 2403 55592–15
Important notice:
The reprint or reproduction, even of excerpts, and any commercial use, even in part, of this instruction manual require the written permission of WilTec Wildanger Technik GmbH.
https://www.XPOtool.com
The Tool Experts


































