GASOLINE BRUSH CUTTER
4554

SPECIFICATIONS
| Model | 4554 |
| Related output power | 1350W |
| Engine model | 1E44F-5 |
| Engine Type | 2-Stroke |
| Fuel Capacity | 900ml |
| Displacement | 51.7cc |
| Working Pole Diameter | 26mm |
| Shaft Type | Whole Shaft |
| Power Source | Gasoline |
| Two-cycle Oil/Gasoline Mixing Ratio | 1:25 |
| Transmission Shaft | 9 Teeth |
| Max Speed | 7500RPM |
| Weight | 8.2kg |
| Spplied in | Ronin Color Box |
| Includes | 3T metal blade, Nylon trimming head, Guard, Shoulder harness, Mixing oil bottle, Tool kit bag |
PARTS LIST

INTENDED USE
This production is only used for cutting grass, bush, arbore scent shrub and clumps. Any other of use the brush cutter unmentioned in this manual could involve danger for your personal
NOTE: Before using this product, please read this manual carefully to understand the proper use of your unit.
INTRODUCTION
This manual contains safety information to make you aware of the hazards and risks associated with the machine and how to avoid them. This machine is intended for trimming and brush cutting. It is important that you read and understand these instructions thoroughly before attempting to start or operate this equipment. Save these instructions for future reference.
SYMBOLE
Because a Brush cutter is high-speed, fast cutting power tool, special safety precaution must be observed to reduce the risk of personal injury. Read this manual carefully. Be familiar with the controls and the proper use of the unit. Know how to shut it off, and how to unhook a unit quickly.
Wear appropriate hearing and eye protection while operating this machine.
Wear anti-vibration, thick and slip-resistant work gloves
Wear security and slip-resistant footwear
Read operator’s instruction book before operating this machine and follow all warnings and safety instructions
Check the condition of working area to avoid any accident by hitting hidden obstacles such as stumps, stones, cans, or broken glass
Beware of blade thrust
Beware of thrown objects
Keep bystanders at least 15m away from the operating person
Do not use saw blades! Never modify the cutter in any way. Improper use of any cutter can cause SERIOUS OR FATAL PERSONAL INJURY
Guaranteed sound power level according to noise directive 2000/14/EC and 2005/88/EC: 113 dB(A) The engine uses two-stroke fuel, a mixture of gasoline and 2-stroke lubricant 40:1
The safety alert symbol is used to identify safety information about hazards that can result in personal injury. A signal word (DANGER, WARNING, or CAUTION) is used with the alert symbol to indicate the likelihood and the potential severity of injury.
DANGER Indicates a hazard which, if not avoided, will result in death or serious injury
WARNING Indicates a hazard which, if not avoided, could result in death or serious injury
CAUTION Indicates a hazard which, if not avoided, could result in minor or moderate injury
NOTICE Indicates a situation that could result in damage to the product
SAFETY RULES & PRECAUTIONS
Proper safety precautions must be observed. Like all power equipment this unit must be handled carefully. DO NOT EXPOSE YOURSELF OR OTHERS TO DANGER. Follow these general rules. Do not permit others to use this machine unless they are thoroughly responsible and have read, and understand the machine manual and are trained in its operation.
Always wear safety goggles or visor for eye protection. Dress properly, do not wear loose clothing or jewelry that could become caught in moving parts of the unit. Safe, sturdy, nonskid footwear should always be worn. Long hair should be tied back. It is recommended that legs and feet be covered to protect from flying debris during operation.
Use the anti-vibration (AV) glove.
Keep the AV system well maintained. An unbalanced blade or trimmer due to excess wear will increase cutting time and the vibrations transmitted to your hands. A machine with loose components or with damaged or worn AV buffers will also tend to have higher vibration levels. All the above mentioned precautions do not guarantee that you will not sustain white finger disease or carpal tunnel syndrome. Therefore, continual and regular users should monitor closely the condition of their hands fingers.
If any of the above symptoms appear, seek medical advice immediately.
- Inspect the entire machine for loose parts (nuts, bolts, screws, etc.) and any damage. Repair or replace as necessary before using the machine. DO NOT USE any attachment with this power head other than the ones recommended by our company. Serious injury to the operator or bystanders could result as well as damage to the machine.
- The blade guard and front handle guard is very important to the machine. It must be screwed up on the machine before the initial use.
These guards must always be fixed when operating the machine. Check these guards before each use. If any damage (crack, break, etc.) on the guard, contact with your dealer for replacing it.
If use of non-conformant replacement guards, or remove or modify these guards could result in serious injury to the operator or bystanders. - Keep the handles free from oil and fuel.
- Always use proper handles and shoulder strap when cutting.
- Do not smoke while mixing fuel or filling tank.
- Do not mix fuel in an enclosed room or near open flames. Assure adequate ventilation.
- Always mix and store the fuel in a properly marked container that is approved by local codes and ordinances for such usage.
- Never remove the fuel tank cap while the engine is running.
- Never start or run the engine inside a closed room or building. Exhaust gas contain dangerous carbon monoxide.
- Never attempt to make engine adjustments while the unit is running and strapped to the operator. Always make engine adjustments with the unit resting on a flat, clear surface.
- Do not use the unit if it is damaged or poorly adjusted. Never remove the machine’s guard.
- Inspect the area to be cut and remove all debris that could become entangled in the nylon cutting head. Also remove any objects that the unit may throw during cutting.
- Keep children away. Onlookers should be kept at a safe distance from the work area, at least 15 METER (50 FEET)
- Never leave the machine unattended.
- Do not use this unit for any job other than those for which it is intended as described in this manual.
- Do not overreach. Keep proper footing and balance at all times. Do not run the unit while standing on a ladder or on any other unstable footing location. Appropriately use the harness provided when operating the machine.
- Keep hands and feet clear of the nylon cutting head or blade while unit is in use.
- Do not use this type of machine for sweeping away debris.
- Do not use the unit when you are tired, ill or under the influence of medication, drugs or alcohol.
- Use nylon cutting head which is free of damage. If a stone or any other obstacle is hit, stop the engine and check the nylon cutting head. A broken or unbalanced nylon cutting head must never be used.
FOLLOW INSTRUCTION FOR CHANGING ACCESSORIES
- Do not store in a closed area where fuel vapors can reach an open flame from hot water heaters, furnaces, etc. Store in a locked, wellventilated area only.
- Ensure safe and proper performance of your product. These parts are available from your dealer. The use of any other accessories or attachments may cause a potential hazard or injury to the user, damage to the machine.
- Clean the machine completely, especially, the fuel tank, its surroundings, and the air cleaner.
- When refueling, be sure to stop the engine and confirm that it is cooled down. Never refuel when the engine is running or hot. When gasoline spills, be sure to wipe it up completely dispose of those materials before starting the engine.
- Stay clear of other workers or bystanders by at least 15 meters/50 feet.
- Whenever approaching an operator of the machine, carefully call his attention and confirm that the operator stop the engine. Be careful not to startle or distract the operator which can cause an unsafe situation.
- Never touch the nylon cutting head or blade when ever the engine is running. If it is necessary to replace the protector or cutting attachment, be sure to stop the engine and confirm that the cutting device has stopped running.
- The engine should be turned off when the machine is moved between work areas.
- Be careful not to hit the nylon cutting head against stones, or the ground. Unreasonable rough operation will shorten the life of the machine as well as create an unsafe environment for yourself and those around you.
- Pay attention to loosening and overheating of parts. If there is any abnormality of the machine, stop operation immediately and check the machine carefully. If necessary, have the machine serviced by an authorized dealer. Never continue to operate a machine which may be malfunctioning.
- In start-up or during operation of the engine, never touch hot parts such as the muffler, the high voltage wire or the spark plug.
- After the engine has stopped, the muffler is still hot. Never place the machine in any places where there are flammable materials (dry grass, etc.), combustible gasses or combustible liquids.
- Pay special attention to operation in the rain or just after the rain as the ground may be slippery.
- If you slip or fall to the ground or into a hole, release the throttle lever immediately.
- Be careful not to drop the machine or hit it against obstacles.
- Before proceeding to adjust or repair the machine, be sure to stop the engine and detach the spark plug.
- When the machine is placed in storage for a long time, drain fuel from the fuel tank and carburetor, clean the parts, move the machine to a safe place and confirm that the engine is cooled down.
- Make daily inspection before use and after dropping or other impacts to identify significant damage or defects to assure safe and efficient operation. For a thorough inspection of your machine, please contact the dealer.
- Keep the machine away from fire or sparks.
- It is believed that a condition called Raynaud’s phenomenon, which affects the fingers of certain individuals may be brought about by exposure to vibration and cold. Loss of color and numbness in the fingers. The following precautions are strongly recommended because the minimum exposure which might trigger the ailment is unknown. Keep your body warm, especially the head, neck, feet, ankles, hands and wrists. Maintain good blood circulation by performing vigorous arm exercises during frequent work breaks and also by not smoking. Limit the hours of operation. Try to fill each day with jobs where operating the brush cutter or other hand-held power equipment is not required. If you experience discomfort, redness and swelling of the fingers followed by whitening and loss of feeling, consult your physician before further exposing yourself to cold and vibration.
- Always wear ear protection, loud noise for long time can make hearing debase even lost hearing.
- Total face and head protection must be wearing to prevent damage from plummet or branch.
- Wear no-slip heavy duty work gloves to improve your grip on the brush cutter handle. Gloves also reduce the transmission of machine vibration to your hands.
WARNING The cutter area is still dangerous while the machine is coasting to a stop
ASSEMBLY INSTRUCTION
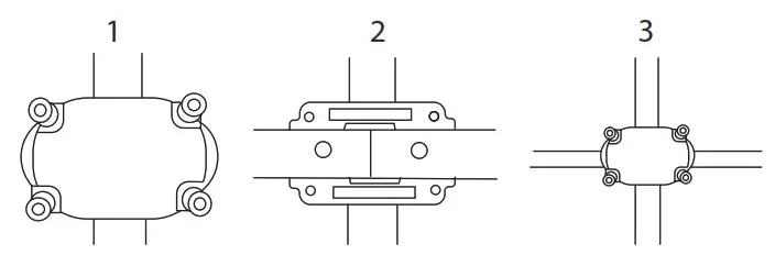
- INSTALLING HANDLE
Installing “D” handle
Refer to the pic 1~3, loose and take off the 4 screw and the upper clamp, Install the handle in to the middle clamp, then locked the screw - INSTALLING PLASTIC GUARD
1, Move the 2 screw from the guard
2, Aim at the thread hole with the clamp and guard
3, Tighten the screw .
. - INSTALLING HARNESS
1, Adjust the harness hanger in a comfortable piston.
2, Buckle the harness at the hanger
REPLACE THE METAL BLADE TO STRING HEAD
- .DISASSEMBLY METAL BLADE
1, Align the hole on the gear box to the slot on the flange washer
2, Use pin to through the hole and slot and hold the flange washer
3, loose the nut and remove the metal blade and cup washer - ASSEMBLY STRING HEAD
4, Install the flange washer and cup washer on the spline shaft.
5, Align the hole on the gear box to the slot on the flange washer.
6, Use pin to through the hole and slot and hold the flange washer.
7, Install the string head and tighten it.
USE THE DOUBLE-SHOULDER HARNESS
- INSTALL THE HARNESS
Put the harness on your shoulders and position the snap joint on front of your waist and connect the snap joint. - SPREAD THE LOAD ON YOUR SHOULDERS
Tension the side straps so that the weight is evenly distributed across both shoulders. - CORRECT HEIGHT
Adjust the hanger position so that the unit can hang on correct position. - HOOK INSTALLATION
Attach the belt hook to the hook on the pipe to control the weight of the machine with the help of the belt and Keep the device
WARNING & CAUTION
- EXCESSIVE VIBRATION
STOP ENGINE IMMEDIATELY Excessive vibration of blade means that it is not properly installed-stop engine immediately and check blade. Blade not properly installed will cause injury.
RULES FOR SAFE OPERATION
WARNING! All models trimmers and brush cutters can throw small stone, metal or small objects as well as the material being cut. Read these “Rules for Safe Operation” with care. Follow the instructions in your operator’s manual.
Read the operator’s manual carefully. Be thoroughly familiar with the controls and proper use of the unit. Know how to stop the unit and shut off the engine. Know how to unhook a harnessed unit quickly. Never allow anyone use unit without proper instruction. Be sure the operator wears the foot, leg, eye, face and hearing or thrown objects. Keep the area clear of bystanders, children and pets. Never allow children to operate or play with the unit. Do not allow anyone to enter the operating DANGER ZONE with you. The danger zone is an area 15 meters in radius (about 16 paces) or 50 feet. Insist that persons in the RISK ZONE beyond the danger zone wear eye protection from thrown objects. If the unit must be used where there are unprotected people, operate at a low throttle speed to reduce the risk of thrown objects. Move the stop switch to “O” position when the engine idles, insure it reliable before cutting. Only may continue to operate the unit when stop switch is in good condition. Routines for checking that the cutting attachment stops turning when the engine idles.
WARNING! In addition to head, eye, face and ear protector shoes to protect your feet improve your footing on slippery surfaces. Do not wear ties, jewelry, or loose, dangling clothing which could be caught in the unit. Do not wear open-toed footwear, or go bare-foot or bare legged. In certain situations you must wear total face and head protection.
DANGER ZONE: NO PERSON EXCEPT OPERATOR ALLOWED 15 METERS RADIUS DANGER ZONE. EYE, EAR, FACE, FOOT, LEG AND BODY PROTECTION MUST BE WORN BY OPERATOR. PERSONS IN ZONE OR RISK BEYOND DANGER ZONE SHOULD WEAR EYE PROTECTION AGAINST THROWN OBJECTS. RISK DIMINISHES WITH DISTANCE FROM DANGER ZONE.

CUTTING WITH A NYLON HEAD
WARNING! Tilting the head to the wrong side will shoot the debris TOWARDS you. If the line head is held flat to the ground so that cutting occurs on the whole line circle, debris will be THROWN at you, drag will slow the engine down, and you will use up a lot of line.
WARNING! The proper debris shield must be in place on the unit when nylon cutting line is used, the cutting line can flap around if too much line is exposed. Always use the plastic debris shield with cut-off knife when using nylon cutting heads.
WARNING! Use only quality nylon monofilament line of the diameter 2.5mm. Never use wire or wire-reinforced line in place of nylon trimmer line. Load your nylon line cutting head only with nylon trimmer line of the proper diameter.
WARNING! Use extreme caution when operating over bare spots and gravel, because the line can throw small rock particles at high speeds. Debris shields on the unit cannot stop objects which bounce or ricochet off hard surfaces. For nearly all cutting, it is good to tilt the line head so that contact is made on the part of the line circle where the line is moving AWAY from you and the debris shield. (See appropriate) This results in the debris being thrown AWAY from you.
TRIMMING
Tilt the head slowly to direct debris away from you. If cutting up to a barrier such as fence, wall or tree, Approach from an angle where any debris ricocheting off the barrier will fly away from you, Move the line head slowly until the grass is cut right up the barrier, but do not jam (overfeed) the line into the barrier. If trimming up to a wire mesh or chain linked fence be careful to feed only up to wire. If you go too far the line will snap off around the wire. Trimming can be done to cut through weed stems one at a time. Place the trimmer line head near the bottom of the weed-never high up which could cause the weed to chatter and catch the line. Rather than cut the weed right through, just use the very end of the line to wear through the stem slowly.

SCALPING AND EDGING
Both of these are done with the line head tilted at a steep. Edging is trimming the grass back where it has spread over a sidewalk or drive way. During both edging and scalping, hold the unit a steep angle and in a position where the debris, and any dislodging dirt and stones, will not come back towards you even if it ricochets off the hard surface. Every operator must find for himself the angles which suits his body size and cutting situation.

CUTTING WITH A BLADE
• SCYTHING WEEDS
This is cutting by swinging the blade in a level arc. It can quickly clear areas of field grass and weeds. Scything should not be used to cut large, tough weeds or woody growths.
NOTE Do not use a brush blade to cut trees which exceed a diameter of 1/2 to 3/4 inches. Scything can be done in both directions, or just in one way which results in the debris being thrown away from you. That is using the side of the blade that it is rotating away from you. Tilt down the blade slightly on this same side. You will be hit by some debris if you scythe in both directions. Cut only with the side of the blade that the debris is moving away from you. If kickback occurs, the blade may be dull, the material so thick and hard that you should use other tool instead of this machine. Do not force the blade to cut. Do not change the angle of cut after into the wood. Avoid using any pressure or leverage which could cause the blade to bind or crack.
FUEL & OIL MIXTURE
CAUTION
- Never fill the fuel tank to the very top.
- Never add fuel to the tank in a closed non-ventilated area.
- Do not add fuel to this unit close to an open fire or sparks.
- Be sure to wipe off spilled fuel before attempting to start engine.
- Do not attempt to refuel a hot engine.
Fuel used for this model is a mixture of unleaded gasoline and approved engine lubricant. When mixing gasoline with two-cycle engine oil, use only gasoline which contains NO ETHANOL or METHANOL(Types of Alcohol) Use Branded 89 octane or higher. Unleaded gasoline known to be of good quality. This will help to avoid possible damage to engine fuel lines and other engine parts.
NOTE
MIXTURE RATIO IS 40:1
GASOLINE-40PART OIL-1 PART Fuel mixture at the rate other than 40:1 may cause damage to the engine, Ensure mixture ratio is correct.
• FUEL
The engine uses two-stroke fuel, a mixture of gasoline and 2-stroke lubricant 40:1
IMPORTANT Two-stroke fuel may separate. Shake fuel container thoroughly before each use. Stored fuel ages. Do not mix more fuel than you expect to use within a month.
- GASOLINE
Use branded 89 octane or higher unleaded gasoline known to be of good quality. - STORING FUEL
Store fuel only in a clean, safe, approved container. Check and follow local ordinances. on type and location of storage container. - FUEL AND OIL MIXTURE
Inspect fuel tank making sure that it is clean and fill with fresh fuel. Use a mixture of 40:1
PREPARING FOR OPERATIONS
DO NOT MIX GASOLINE AND OIL DIRECTLY IN THE ENGINE FUEL TANK.
IMPORTANT -Failure to follow proper fuel mix instructions may cause damage to the engine.
- When preparing fuel mixture, mix only the amount needed for the job you are to do. Do not use fuel that has been stored longer than one months. Fuel mixture stored longer than this will cause hard starting and poor performance. If fuel mix has been stored longer than this time. It should be removed and filled with fresh mixture.
WARNING - Never fill the fuel tank to the very top.
- Never add fuel to the tank in a closed non-ventilated area.
- Do not add fuel to this unit close to an open fire or sparks.
- Be sure to wipe off spilled fuel before attempting to start engine
- Do not attempt to refuel a hot engine
• CHECK POINTS BEFORE OPERATION
- Check for loose bolts. Nuts and fittings.
- Check the air cleaner for dirt. Clean the air filter of all dirt. Etc. before operation.
- Check to be sure that protector is securely in place.
- Check to be sure that is not leak.
- Check to be sure the blade is not running in idling speed.
WARNING The engine exhaust from this product contains chemicals known to cause cancer, birth defects, or other reproductive harm.
OPERATIONS
- ENGINE STARTING AND STOPPING PROCEDURES

- STARTING COLD ENGINE
Move the stop switch to “I” position.
1.
Give a gentle push on the primer pump repeatedly (7-10times) until fuel comes into the primer pump. 10X
2. Pull choke lever up to close choke.
3. Pull starter handle until engine flash fires.
4.
Push choke lever down to open choke (excessive cranking with choke lever will cause flooding engine making it difficult to start). Pull starter handle until engine starts.
5. Allow engine to warm up for a few minutes before using.
6. Allow engine to warm up for a few minutes before using. - STARTING WARM ENGINE
If fuel tank was not run dry, pull starter. One to three times and should start. - DO NOT USE CHOKE
If fuel tank was run dry, after refilling repeat steps 3 thru 6 in. STARTING COLD ENGINE. STOPPING THE ENGINE
– Move switch to “O” position
MAINTENANCE & CARE
- AIR FILTER
- Accumulated dust in the air filter will reduce engine efficiency. Increase fuel consumption and allow abrasive particles to pass into the engine. Remove the air filter as often as necessary to maintain in a clean condition.
- Light surface dust can readily be removed by tapping the filter. Heavy deposits should be washed out in suitable solvent.
- Remove filter cover by loosening air filter cover knob.
- ADJUSTING CARBURETOR NOTE
Do not adjust carburetor unless necessary. If you have trouble with the Carburetor, see your dealer. Improper adjustment may cause engine damage. - FUEL FILTER
- Fuel tank is fitted with a filter. Filter is situated at the free end of fuel pipe and can be picked out through fuel port with a piece of hooked wire or the like.
- Check the fuel filter periodically. Do not allow dust to enter into fuel tank. Clogged filter will cause difficulty in starting engine or abnormalities in engine performance.
- When filter is dirty, replace the filter.
- When the inside of the fuel tank is dirty, it can be cleaned by rinsing the tank out with gasoline.
- CHECK SPARK PLUG
Do not attempt to remove the plug from a hot engine in order to avoid possible damage to the threads.
TROUBLE SHOOTING
- Clean or replace the plug if fouled with heavy oily deposits.
- Replace the plug if the center electrode is worn rounded at the end.
- Spark gap 0.6-0.7mm (.023″.028″)
- Fastening torque = 145-155kg.cm (125-135in.lb)
• TRANSPORT
- The engine should be turned off when the unit is moved between work areas.
- After the engine has stopped, the muffler is still hot. Never touch hot parts such as the muffler.
- Confirm that the fuel is not leaked from tank.
WARNING Always cover the metal blade with the transportation guard while transportation and storage.
• EXTENDED STORAGE
- Inspect, clean and repair unit if necessary.
- Remove all fuel from tank.
- Start engine-This will consume all fuel in fuel line and carburetor.
- Remove spark plug and pour one tea spoon of clean motor oil into spark plug hole of cylinder-replace spark plug.
- Store in clean, dry, dust free area.
FAILURES such as difficulty in starting engine, irregularity in functions and abnormality in performance can normally be prevented if careful attention is paid to all operating instructions and maintenance procedures.
NOTE
Should the engine not function properly, check the following:
- That the fuel system is in good condition and fuel is flowing to the engine.
- The ignition system is in good condition and the spark plug, sparks correctly;
- Compression of the engine is adequate.
• FAILURE TO START
- Dispose of fuel in tank.
- Insure that fuel is fresh and clean.
- Check fuel filter to make sure it is clean. (Replace filter if necessary).
- Make sure air filter elements are clean.
- Install new, properly gapped spark plug.
- When there is serious trouble with the unit, do not try to repair it yourself but have your distributor or dealer do it for you.
TROUBLESHOOTING GUIDE
• FAILURE TO START
| Symptom | Probable Cause | Remedy | |||
| cylinder compress pressure normal | spark plug spark normal | fuel system abnormality | these is no fuel in tank fuel filter obstruct | Add fuel in tank Clean fuel filter | |
| fuel system normal | fuel | fuel is too dirty there is water in fuel there is s too much mixture ratio is improper | instead fuel tear down spark plug and dry it mixture peroration | ||
| fuel system normal | high voltage wire spark normal | spark plug | spark plug fouled with oily deposits Spark plug insulation damage Spark gap is too large or small | – clean the oil deposits – replace spark plug g – adjust spark gap 0.6-0.7mm | |
| high voltage spark abnormality | – high voltage wire breach or break off – coil looseness | – replace or tighten – tighten | |||
| fuel system normal | Ignition System normal | compress press is shortage | piston ring attrite piston ring is broken piston ring cementation spark plug looseness conjoint surface of the cylinder and crank cast leak | replace a new replace eliminate tighten eliminate | |
| Compress normal | High voltage wire and spark Plug contact badness Stop switch failure or short circuit | tighten the spark plug cap repair or replace | |||
• LOW OUTPUT
| symptom | probable cause | remedy |
| flameout when speedup the smoke is thin, carburetor spout backward | fuel filter obstruct, fall short of fuel muffler fouled with oily deposits | clean fuel filter clean fuel road adjust carburetor clean the oily deposits |
| compress press is short- age | piston piston ring cylinder attrite | replace piston piston ring |
| engine leak | Conjoint surface of the Cylinder and crank cast leak | repair |
| the end of two crank shaft leak | the seal is bad | replace seal |
| engine overheats burning room fouled with oily deposits | avoid use it for long time high speed and heavy load clean the oily deposits |
• ENGINE RUNNING UNSTABLE
| symptom | probable cause | remedy |
| there are metal knock sound | piston piston ring cylinder attrite piston pin piston attrite bearing of crank shaft attrite | replace piston piston ring replace piston pin piston replace bearing |
| there are metal knock sound | engine overheat burning room fouled with oily deposits gasoline branded is unfit | avoid use it for long time high speed and heavy load clean the oily deposits replace require branded octane |
| engine ignition break off | there is water in fuel spark gap is wrong coil gap is wrong | instead fuel adjust spark gap 0.6- 0.7mm adios coil nab 0.3-0.4mm |
• THE ENGINE SUDDENLY STOPPED
| probable cause | remedy |
| fuel is used up spark plug fouled with oily deposits and short circuit high voltage wire fall off | add fuel clean the oily deposits connect |
Refer to the pic 1~3, loose and take off the 4 screw and the upper clamp, Install the handle in to the middle clamp, then locked the screw
.
















