60691 OEM Puck System
Gooseneck Safety Chain Anchors
Instruction Manual
WARNING: NEVER EXCEED YOUR VEHICLE MANUFACTURER S RECOMMENDED TOWING CAPACITY
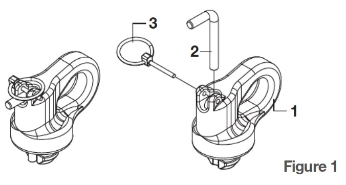
PARTS LIST
| Item# | Qty | Description |
| 1 | 2 | Safety chain anchor |
| 2 | 2 | 10mm pin |
| 3 | 2 | 5mm lynchpin |
WARNINGS
Periodically check all gooseneck components to ensure that fasteners are tight and that structural components are sound.
Vehicle performance, such as braking, handling, acceleration, and turning radius, can be drastically affected by the trailer. Allow additional time and space for stopping, changing lanes, passing, and turning.
Do not tow more than one trailer at a time.
This may cause a loss of control.
Severe bumps can damage your towing system.
Avoid or drive slowly over rough terrain.
CURT Manufacturing, LLC, warrants this product to be free of defects in material and/or workmanship at the time of retail purchase by the original purchaser. If the product is
found to be defective, CURT Manufacturing, LLC, may repair or replace the product, at their option, when the product is returned, prepaid, with proof of purchase. Alteration to, misuse of, or improper installation of this product voids the warranty. CURT Manufacturing, LLC’s liability is limited to the repair or replacement of products found to be defective and specifically excludes liability for incidental or consequential loss or damage.

60691 safety chain loops shown properly installed
Always install both safety chain loops in rear-most under-bed mounts
OPERATION
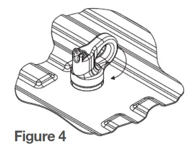
Step 1
Align safethe ty chain anchor with the rear-most under-bed mount on both sides. See figure 3.
Note:
Always install both safety chain anchors in the rear-most under-bed mounts.
Step 2
Lower the safety chain anchor into the under-bed mount and rotate 90°. See figures 3 and 4.
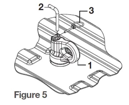
Step 3
Insert a 10mm pin into the top of the safety chain anchor and lock it into position using the 5mm lynchpin.
See figures 5 and 6. Note: Both the 10mm pin and 5mm lynchpin must be fully inserted and engaged.
Step 4
When safety chain anchors are not in use, remove from the under-bed mounts and store them in a dry, clean area.
![]() | ![]() |
![]() | ![]() |
MAINTENANCE
Keep the 60691 safety chain anchor pins lubricated.
Use silicone spray or equivalent to prevent wear and rust.
Keep the anchor and under-bed truck
mounts free of dirt and other foreign debris.
Note: Failure to maintain your towing system could result in poor performance and/or catastrophic failure.
BEFORE TOWING FOR THE FIRST TIME
Verify adequate turning clearance between the truck cab/box corners and trailer(s).
Check truck box clearance. There should be a minimum clearance of 6″ between the bottom of the trailer(s) overhang and the top of the box sides.
Verify all anchors are properly installed and secured with lynchpins.
Verify the trailer safety chain length. Too much slack in the chain may prevent maintaining control in the event of separation. Leave only enough slack to allow full turning without interference.
Verify the trailer attachments to the safety chain anchors are secure (cannot be shaken free during towing).
Ensure the safety chains and hooks are rated to the load capacity of the trailer.
BEFORE TOWING EVERY TIME
Ensure all fasteners are tight and that all structural components are sound.
Note: Do not tow the trailer with worn or damaged parts.
Attach trailer chains securely to 60691 safety chain anchors.
Ensure the trailer weight does not exceed any part of the towing system. Be sure the load is heavier towards the front of the trailer while not exceeding the hitch vertical weight rating. Be sure the trailer load is secured to prevent shifting and centered from left to right.
Note: Never load the trailer heavier behind the trailer axle(s).
Check tires to ensure they are inflated to the proper specification. Follow vehicle and trailer recommendations.
Verify trailer lights, electric brakes, and breakaway switches are working properly.
CURTMFG.COM
NEED ASSISTANCE?
1.877.287.863
4 • 60691-INS-RA • PAGE 2






















