
RH520A Humidity+Temperature Chart Recorder with Detachable Probe
Instruction Manual
RH520A Humidity+Temperature Chart Recorder with Detachable Probe
USER MANUAL
Paperless Humidity/Temperature Chart Recorder
Model RH520A
Additional User Manual Translations available at www.extech.com
Introduction
Congratulations on your purchase of the Extech RH520A Temperature + Humidity Chart Recorder. The RH520A measures and displays Temperature, Humidity, and Dew Point.
The remote (detachable) probe senses the ambient conditions while the LCD displays graphs and provides a numerical representation of the readings. Programmable audio-visual alarms alert the user when ambient conditions reach alarm presets. The optional alarm module permits automatic relay switching when alarm presets are reached.
The RH520A Internal Memory can store up to 49,152 measurements for later transfer to a PC. Careful use of this instrument will provide years of reliable service.
CAUTIONS
- This device is not a toy, it contains hazardous objects as well as small parts that children can swallow. Contact a physician immediately if an object is swallowed.
- Do not leave batteries or packing materials unattended; they can be dangerous to children.
- If the device is to be unused for an extended period, remove the batteries to prevent them from draining.
- Expired or damaged batteries can cause cauterization in contact with the skin. Use protective gloves when necessary.
- Do not short-circuit batteries or discard them in a fire.
FCC Compliance
This equipment has been tested and found to comply with the limits for a Class B digital device, pursuant to part 15 of the FCC Rules. These limits are designed to provide reasonable protection against harmful interference in a residential installation. This equipment generates, uses, and can radiate radio frequency energy and, if not installed and used in accordance with the instructions, may cause harmful interference to radio communications. However, there is no guarantee that interference will not occur in a particular installation. If this equipment does cause harmful interference to radio or television reception, which can be determined by turning the equipment off and on, the user is encouraged to try to correct the interference by one or more of the following measures:
- Reorient or relocate the receiving antenna.
- Increase the separation between the equipment and receiver.
- Connect the equipment into an outlet on a circuit different from that to which the receiver is connected.
- Consult the dealer or an experienced radio/TV technician for help.
WARNING Changes or modifications not expressly approved by the party responsible for compliance could void the user’s authority to operate the equipment.
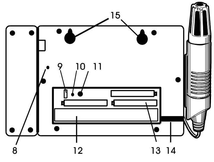
RH520A Description

- Remote sensor
- Sensor cable
- LCD Display
- Swivel keypad / table-top stand
- PC interface jack
- Universal alarm module jack
- AC adaptor jack

- DATA RESET button (clears recorded measurement data and alarm history)
- Temperature units select switch (C or F)
- PROGRAMMING RESET button (clears programming changes but retains measurement data and alarm history)
- Display CONTRAST adjust
- Sensor cable storage area
- `AA’ 1.5V batteries
- Sensor cable run
- Wall mount holes
DISPLAY DESCRIPTION

- Temperature measurement graph
- Internal memory usage meter
- Vertical axis scale limits
- Cursor / Alarm indicators
- Push-button lock-out status indicator
- Time display
- Relative Humidity (RH) measurement graph
- Date display
- Function indicators
- Numerical temperature reading display
- Numerical RH reading display
- Battery status indicator
VIEW
Return the LCD to the Standard
View Escape from any setting function without storing value changes
Scrolls’ highest and lowest (MAX/MIN) readings when in Standard View
ALARM
Display or Set alarm values
TIME
Display a reading stored at a specific
Time and Date Set and Display the recording Sampling Rate
Set the Time and Date
SET
Used in combination with other buttons to set new parameter values
Stores new parameter values and returns to the Standard View
TEMP
Used in combination with other buttons to set the vertical graph range
Used in combination with other buttons to set temperature alarm values
Used in combination with the RH button to display Dew Point
RH
Used in combination with other buttons to set the vertical graph range
Used in combination with other buttons to set RH alarm values
Used in combination with the TEMP button to display Dew Point
Right, left, down, and up arrow buttons for scrolling data and navigating the display
KEYPAD QUICK REFERENCE (ALSO SHOWN ON THE REAR OF THE RH520A HOUSING)
| Key-press | Function | Second / Alternate Keystrokes |
| VIEW | Selects view mode | VIEW modes: Normal, TEMPmax, RHmax, TEMPmin, Ramin |
| SET | Saves new settings | VIEW to cancel, exit mode |
| ARROW KEYS | Scroll through selections | Movers cursor through stored points |
| TIME | View reading at specific time/date | Arrow keys to select, VIEW to exit |
| TEMP + RH | View Dew Point temp. | VIEW to exit |
| ALARM | Step back through ALARM points | ALARM selects next Alarm, VIEW to exit |
| SET + TEMP + ALARM | Enters Set TEMP Alarm mode | ALARM selects HIGH/LOW, SET to save |
| SET + RH + ALARM | Enters Set RH Alarm mode | ALARM selects HIGH/LOW, SET to save |
| TIME + VIEW | View Sample Rate | VIEW to exit |
| SET + TIME + VIEW | Enter Set Sample Rate mode | SET to save, VIEW to exit |
| SET + TIME | Enter Set Time/Date mode | SET to save, VIEW to exit |
| SET + TEMP + UP | Enter Set TEMP Vertical Scale mode | TEMP selects upper/lower, SET to save |
| SET + RH + UP | Enter Set RH Vertical Scale mode | RH selects upper/lower, SET to save |
Getting Started
POWER
- The RH520A runs on battery power or an AC adaptor (5VDC 500mA). Battery power consists of three (3) `AA’ batteries. See the Battery Replacement section of this manual when changing/installing the batteries. Note: Batteries and adaptors are supplied.
- Plug the AC adaptor in the AC adaptor jack shown in the Description section. The batteries will act as a battery backup in the event of an AC power failure.
- Once the batteries are installed or the adaptor is properly connected, the RH520A will begin displaying.
- In the unlikely event that the AC power AND the battery backup fail, the RH520A will require a “Programming Reset” to reset the display. Press the RESET button located inside the battery compartment. “Reset” clears all settings. Time, Date, and logging interval need to be entered. The measurement data and alarm history, however, will still be retained in the non-volatile memory.
- The 5-segment battery life indicator allows the user to track the status of the battery. When all 5-segments are dark, the battery is fully charged. Segments switch off as the battery ages. When the battery indicator has only one segment left the batteries must be replaced immediately.
NOTE: Always set the Date, Time, and Sample rate immediately after batteries have been installed or after the RESET button in the battery compartment has been pressed. Then press the Data Reset button on the rear face of the meter for >4 seconds to clear any recorded data.
MOUNTING THE RH520A
The RH520A can be used in the following ways:
- Placed on a tabletop where the swivel keypad is employed as the table stand
- Wall mounted using the rear mounting holes
MEASUREMENT PROBE
The probe is attached to the meter with a 1-meter cable and can be used stored in the RH520A probe cradle or remotely. The probe cable length can be easily extended with an RJ45 cable and a gender changer.
PUSH-BUTTON LOCK-OUT SECURITY FEATURE
The RH520A can be secured from tampering by having its push buttons locked.
- Press for approx. 1 second and release the UP, DOWN, LEFT, and SET arrow buttons simultaneously to lock out the push buttons.
Note: The security lock-out can only be performed from the main view screen. If a scroll key or the time button was pressed prior to setting up the lock-out, the user must scroll back to the main screen. - Press for approx. 1 second and release the UP, DOWN, LEFT, and SET arrow buttons simultaneously to restore the operation of the push-buttons
Programming the RH520A
SETTING THE TIME AND DATE
- From the Standard View, press the SET and TIME buttons simultaneously
- The SET indicator will appear
- Use the UP and DOWN arrow buttons to set the time
- Use the LEFT and RIGHT arrow buttons to step through the minutes, hours, AM/PM/24-Hour, day, month, and year parameters If AM or PM is selected, the date format will be MONTH-DAY-YEAR If 24-hour is selected, the date format will be DAY-MONTH-YEAR
- Press SET at any time to store the new value and revert to the Standard View 6. Press VIEW at any time to return to the Standard View without storing any changes
Important: After powering on the unit and setting the Date, Time, or Sample Rate you MUST clear the internal data memory. If you do not clear the internal data memory you will not get the correct Time and Date stamps (2004) with your recorded data. Press the Data Reset button on the rear face of the meter for >4 seconds.
CLEARING THE INTERNAL MEMORY
Press the RESET button (located inside the battery compartment) to clear the display and measurement parameters (sample rate, vertical resolution), and to reset the display.
Press the DATA RESET button (located on the back of the unit) to clear all the stored readings, the MAX/MIN values, and the Alarm history.
SELECTING THE UNIT OF MEASURE FOR TEMPERATURE (oC/oF)
The oC/oF switch, located inside the battery compartment, is used to select the unit of measure for temperature displays
SETTING THE VERTICAL RESOLUTION FOR THE TEMPERATURE GRAPHIC DISPLAY
- Press the SET, TEMP, and UP arrow buttons simultaneously
- The upper-temperature range indicator will flash, and the SET icon will appear
- Use the UP-DOWN buttons to change the upper-temperature value (5° increments).
- Press the TEMP button and the lower temperature range indicator will flash
- Use the UP-DOWN buttons to change the lower temperature value (5° increments) Note that the upper and lower temperature values cannot overlap, and the upper value cannot be less than zero
- Press the TEMP button to toggle upper and lower range values
- Press the SET button at any time to store a value and return the instrument to the Standard View
- Press VIEW at any time to return to the Standard View 8
SETTING THE VERTICAL RESOLUTION FOR THE RH GRAPHIC DISPLAY
- Press the SET, RH, and UP arrow buttons simultaneously
- The upper RH range indicator will flash, and the SET icon will appear
- Use the UP-DOWN buttons to change the upper RH value in 10% increments
- Press the RH button and the lower RH range indicator will flash
- Use the UP-DOWN buttons to change the lower RH value in 10% increments
- Note that the upper and lower RH values cannot overlap
- Press the RH button to toggle upper and lower range values
- Press the SET button at any time to store a value and return the instrument to the Standard View
- Press VIEW at any time to return to the Standard View
SETTING THE RECORDING SAMPLE RATE
The Sampling Rate is the rate at which the RH520A automatically records measurements
- Press the SET, VIEW, and TIME arrow buttons simultaneously from the Standard View
- The current Sample Rate (in minutes) will appear in the numerical temperature display area
- The whole minute’s area of the numeric display will flash
- The MIN and the SET icons will switch on. All other TEMP and RH indicators and numeric displays will switch off
- The projected TIME and DAYS representing the moment the internal memory will be full (based on the sample rate) is displayed in the TIME and DATE display areas.
- Use the UP-DOWN arrow buttons to increment/decrement the rate. Use the LEFT-RIGHT arrow buttons to step through the units of time
- Sample rates can be set from 0.1 minutes (6 seconds) up to 199.9 minutes
- Press the SET button at any time to save changes and return to Standard View
- Press VIEW at any time to return to the Standard View without saving the changes
SETTING THE TEMPERATURE ALARM LIMITS
- Press the SET, TEMP, and ALARM buttons simultaneously from the Standard View
- The ALARM, SET, and MAX indicators will switch on. All of the RH indicators will switch off
- Use the UP-DOWN arrow buttons to increment/decrement the HIGH-temperature alarm limit. Use the LEFT-RIGHT arrow buttons to step through the decades
- Press the ALARM button. The MIN (low alarm) indicator will switch on
- Use the UP-DOWN arrow buttons to increment/decrement the LOW-temperature alarm limit. Use the LEFT-RIGHT arrow buttons to step through the decades
- The HIGH and LOW alarm limits cannot overlap
- Use the ALARM button to toggle between the HIGH and the LOW alarm limits
- Press the SET button at any time to save changes and return to the Standard View
- Press VIEW at any time to return to the Standard View without saving the changes
SETTING THE RH ALARM LIMITS
- Press the SET, RH, and ALARM buttons simultaneously from Standard View
- The ALARM, SET, and MAX indicators will switch on. All of the TEMP indicators will switch off
- Use the UP-DOWN arrow buttons to increment/decrement the HIGH RH alarm limit. Use the LEFT-RIGHT arrow buttons to step through the decades
- Press the ALARM button. The MIN (low alarm) indicator will switch on
- Use the UP-DOWN arrow buttons to increment/decrement the LOW RH alarm limit. Use the LEFT-RIGHT arrow buttons to step through the decades
- The HIGH and LOW alarm limits cannot overlap
- Use the ALARM button to toggle between the HIGH and the LOW alarm limits
- Press the SET button at any time to save changes and return to Standard View
- Press VIEW at any time to return to the Standard View without saving the changes
Display Modes
STANDARD VIEW
The Standard View is the display state of the RH520A when it is turned on. Refer to the diagram in the display description section of this manual for a representation of the Standard View. To reach the Standard View at any time, press the VIEW button. Note that the display automatically reverts to the Standard View five (5) minutes after the last button press.
CURSOR
The CURSOR location is indicated by a small diamond located between the two graphs. See diagram. There is one diamond for each horizontal pixel in the graph (64 positions). The date, time, and measurements for the data point selected by the cursor are shown in the Time/Date and numerical measurement display fields.
- Each press of the RIGHT ARROW button will move the cursor to the right. When the cursor reaches the right-side limit, the graph will move to the left. Holding the button down will speed up the scrolling rate. When the cursor reaches the oldest (last) reading, it will stop.
- Each press of the LEFT ARROW button will move the cursor to the left. When the cursor reaches the left side limit, the graph will move to the right. Holding the button down will speed up the scrolling rate. When the cursor reaches the newest (latest) reading, it will stop.
- Each press of the UP ARROW button will shift the graph to the next set of 64 values; to the left of the ones currently displayed (the cursor will not move).
- Each press of the DOWN ARROW button will shift the graph to the next set of 64 values; to the right of the one displayed (the cursor will not move).

MAX-MIN DISPLAYS
- Press the VIEW button in the Standard View to display the highest (MAX) and lowest (MIN) temperature and RH readings from all the stored measurement records.
- When viewing the highest readings, the MAX indicator will switch on. When viewing the lowest readings, the MIN icon will switch on.

- The cursor will move to the location of the MIN or MAX reading within the graph. If not within the graph currently displayed, the cursor will move to the right-most position and the graph will shift accordingly so that the relevant data point can be viewed.
- Use the VIEW button to step through the highest and lowest temperature readings and then the highest and lowest RH readings. When the MAX or MIN indicator is ON under the temperature reading digits, the display is showing the MAX or MIN temperature. When the MAX or MIN indicator is ON under the RH reading digits, the display is showing the MAX or MIN relative humidity.
ALARM DISPLAYS
- Press the ALARM button from the Standard View to analyze the most recent alarm activity (temperature or humidity), if any. The ALARM display icon and the relevant upper (temperature) or lower (RH) graph pixel will flash.
- The cursor will move to the location within the graph. If not within the graph currently displayed, the cursor will move to the right-most position and the graph will shift accordingly so that the relevant data point can be viewed.
- Press the ALARM button again to view the second most recent set of Alarms (if no alarms, the Standard View will appear)
- Press the ALARM button again to view the third most recent set of Alarms (if no alarms, the Standard View will appear)

- This procedure can continue until no further alarms exist and pressing the ALARM button will only bring up the Standard View
- In the example diagram, the RH520A is showing a high-temperature alarm (MAX and ALARM indicators on).
USING THE CLOCK TO SORT THROUGH STORED READINGS
- Press the TIME button in the Standard View mode
- Use the ARROW buttons to select the time of day.
- The temperature and humidity readings for the selected Time will display.
- Press VIEW to return to the Standard View.

DEW POINT DISPLAY
Press the TEMP and the RH buttons simultaneously to view the Dew Point reading. The DEW POINT display icon will switch on above the temperature. See the diagram below. Press VIEW to return to the standard view mode.
SAMPLE RATE DISPLAY
- Press the VIEW and the TIME buttons simultaneously from the Standard View mode
- Both numerical displays will switch off so that the LCD can show only the sample rate in minutes (the MIN display icon will switch on)
- The projected TIME-DAYS that the internal memory will be full (based on the current sample rate) is displayed in the TIME and DATE display areas
- To change the sample rate, refer to the programming section of this manual.
- Press the VIEW button to return to the Standard View

Factory Default Settings
- Default LCD mode: Standard View
- Temperature Graph Vertical Resolution: -20 to 40oC
- RH Graph Vertical Resolution: 0 to 100%
- TEMP and RH Alarm Limits: 0 (low) and 100 (high)
- Sample Rate: One (1) reading stored per minute
Alarm Conditions and the Alarm History
When in Standard View mode:
- If the ALARM display icon is flashing an Alarm condition currently exists.
- If the ALARM display icon is ON steady there are past Alarms to view in the Alarm history.
- Use the ALARM button to view the Alarm history as described elsewhere in this manual. If an Alarm is tripped, press the ALARM button to silence it.
- Press and hold the SET button for 2 seconds to clear an alarm through the external relay module.
When in Alarm View or Time View mode:
- If the ALARM display icon is flashing the cursor is currently on an Alarm condition.
- If the ALARM display icon is ON steady there are past Alarms to view in the Alarm history.
Use the cursors or the ALARM button to view the Alarm history as described elsewhere in this manual.
Note that the Alarm display icon and the external alarm relay module can be controlled separately as indicated in the statements above.
Battery Replacement
The 5-segment battery life indicator allows the user to track the status of the battery. When all 5-segments are dark, the battery is fully charged. Segments switch off as the battery ages. When the battery indicator has only one segment left the batteries must be replaced immediately.
- Open the battery compartment on the rear of the instrument
- Remove the old batteries and replace them with three (3) heavy-duty alkaline `AA’ batteries observing polarity
- Replace the battery compartment cover securely
- The RH520A will require a “Programming Reset” to reset the display. Press the RESET button located inside the battery compartment. “Reset” clears all settings. Time, Date, and logging interval need to be entered. The measurement data and alarm history, however, will still be retained in the non-volatile memory.
You, as the end user, are legally bound (Battery ordinance) to return all used batteries and accumulators; disposal in the household garbage is prohibited! You can hand over your used batteries/accumulators, gratuitously, at the collection points in our branches in your community or wherever batteries/accumulators are sold!
Disposal
Follow the valid legal stipulations in respect of the disposal of the device at the end of its lifecycle
Specifications
| Display | Graphical LCD |
| Temperature Range/Accuracy | -17 to 50oC (0.0 to 120.0oF) / ±1.0oC (1.8oF) -28 to -17oC (-20.0 to 0oF) / 3oC (±5.4oF) 50 to 60oC (120.0 to 140oF) / 3oC (±5.4oF) |
| Humidity Range/Accuracy | 10 to 95%/±3.0% RH |
| Dew point temperature | -28 to 60oC (-20.0 to 140.0oF) |
| Internal memory storage | 49,152 complete reading sets |
| Sampling interval | Selectable recording rate: 0.1(6 seconds) to 199.9 minutes |
| Graph scaling | User selectable in 5oC/F in 10% increments |
| Low battery indication | 5-segment battery indicator |
| Alarm output | 3.5mm Mono Phone Plug, Maximum: 3.4mA @ 5 VDC, Minimum Output Voltage: 2.5 VDC |
| Power supply | Three (3) `AA’ batteries and AC adaptor (included) DC 5V 500mA, 3.5mm x 1.35 mm plug |
| Battery life | 4 weeks typical, using alkaline batteries |
| Operating Temperature | CONTROL MODULE and DISPLAY: 0 to 50oC (32 to 120oF) SENSOR: -28 to 60oC (-20 to 140oF) |
| Operating Humidity | CONTROL MODULE and DISPLAY: 90% RH max. SENSOR: 95% RH max. |
| Dimensions | 127 x 196 x 23mm (5.0 x 7.7 x 0.9″) |
| Weight | 357g (12.6oz) |
Transfer logged data using the PC Interface
Software installation procedure and operational instructions are located in the RH520A software available on the www.Extech.com/Software web page.
Copyright © 2013-2019 FLIR Systems, Inc.
All rights reserved including the right of reproduction in whole or in part in any form
www.extech.com
























