TREND A800026-1-R Mini Pendant Light

OVERVIEW
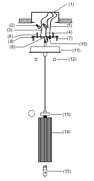
- OUTLET BOX
- WIRE CONNECTOR
- BLACK WIRE
- WHITE WIRE
- GROUND WIRE
- BOX SCREW
- MOUNTING SCREW
- HEX NUT
- MOUNTING BAR
- GROUND SCREW
- CANOPY
- BALL NUT
- GLASS HOLDER
- K9 CRYSTAL
- G9 BULB
INSTALLATION INSTRUCTIONS
Please read carefully and save these instructions, as you may need them at a later date.
CAUTION
- WARNING: Risk of Fire. Consult a qualified electrician to ensure correct branch circuit conductor. Min 90ºC supply conductors.
- Turn off the main power at the circuit breaker before installing the fixture, in order to prevent possible shock.
GENERAL
- All electrical connections must be in accordance with local and National Electrical Code (N.E.C.) standards. If you are unfamiliar with proper electrical wiring connections obtain the services of a qualified electrician.
- Remove the fixture and the mounting package from the box and make sure that no parts are missing by referencing the illustrations on the installation instructions.
ASSEMBLY AND INSTALLATION
- Secure the mounting bar(9) to the outlet box(1) with box screws(6).
- Pull the outlet wire and ground wire out from the outlet box. Make wire connections with wire connector(2)
- Black wire from light to Black wire (3) from power source.
- White wire from light to White wire(4) from power source.
- Loop the ground wire(5) to mounting bar(9) with a ground screw (10).
- Attach the canopy(11) against the outlet box (1). Secure with the ball nut (12) and mounting screw(7).
- Loosen the glass holder (13), and slide the crystal (14) up the cable.
- Insert G9 bulb (15, not included) into socket.
- Slide the crystal back down the cable and tighten the glass holder (13).
DO NOT USE BARE HANDS TO TOUCH THE G9 BULB.
INSTALLATION IS NOW COMPLETE


















