TREND TP30001 Pendant Light

INSTALLATION INSTRUCTIONS
Please read carefully and save these instructions, as you may need them at a later date
CAUTION
WARNING: Risk of Fire .Consult a qualified electrician to ensure correct branch circuit conductor . Min 90ºC supply conductors
.Turn off the main power at the circuit breaker before installing the fixture, in order to prevent possible shock .
GENERAL
All electrical connections must be in accordance with local and National Electrical Code (N.E .C.) standards . If you are unfamiliar with proper electrical wiring connections obtain the services of a qualified electrician .
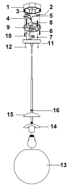
Remove the fixture and the mounting package from the box and make sure that no parts are missing by referencing the illustrations on the installation instructions
ASSEMBLY AND INSTALLATION
- Thread two mounting screws (8) to the mounting bar(9) and secure with the hex nut(7).
- Secure the mounting bar(9) with box screws (10) to the outlet box(1).
- Pull out the outlet wire and ground wire from the outlet box(1).Make wire connections
–Ribbed /White wire (w/o marking) from light to white wire(2) from power source
–Smooth /Black wire (w/o marking) from light to black wire(3) from power source.
–Loop the ground wire(4) to mounting bar(9) with a green screw(6). - Attach the canopy(11) against the outlet box(1),secure with the ball nut(12).
- Install bulb: (bulb not included) (Do not exceed the maximum capacity that’s recommended on the sockets).
- Put the Lamp Body(14) into the Glass (13), then secure the Cap(15) over the Glass (13) with Finger Nut (16).

- OUTLET BOX
- WHITE WIRE
- BLACK WIRE
- GROUND WIRE
- WIRE CONNECTOR
- GREEN SCREW
- HEX NUT
- MOUNTING SCREW
- MOUNTING BAR
- BOX SCREW
- CANOPY
- BALL NUT
- GLASS
- LAMP BODY
- CAP
- FINGER NUT
INSTALLATION IS NOW COMPLETED




















