TREND TP30100 1 Light Pendant Light Instruction Manual
TP30100 INSTALLATION INSTRUCTIONS
Please read carefully and save these instructions, as you may need them at a later date.
CAUTION
WARNING: Risk of Fire. Consult a qualified electrician to ensure correct branch circuit conductor. Min 90ºC supply conductors.
Turn off the main power at the circuit breaker before installing the fixture, in order to prevent possible shock.
GENERAL
All electrical connections must be in accordance with local and National Electrical Code (N.E.C.) standards. If you are unfamiliar with proper electrical wiring connections obtain the services of a qualified electrician. Remove the fixture and the mounting package from the box and make sure that no parts are missing by referencing the illustrations on the installation instructions.
ASSEMBLY AND INSTALLATION
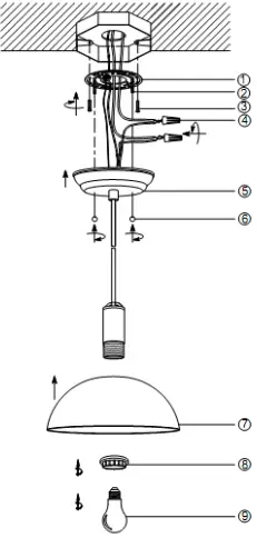
- Secure the mounting bar(1) to the outlet box with box screws(3).
- Pull out the outlet wire and ground wire from the outlet box. Make wire connections with Wire Connector(4)
- Black wire from light to Black wire from power source.
- White wire from light to White wire from power source.
- Loop the ground wire to mounting bar(1) and secure with a ground screw.
- Secure the canopy(5) to the outlet box using the ball nut(6) and mounting screw(2).
- Put the shade (7) over the socket and secure it with the socket ring(8).
- Insert the bulb (9, not included) into socket.
Do not exceed maximum suggested wattage – Max.60W
DO NOT USE BARE HANDS TO TOUCH THE BULB.
INSTALLATION IS NOW COMPLETE
Product Overview

- MOUNTING BAR
- MOUNTING SCREW
- BOX SCREW
- WIRE CONNECTOR
- CANOPY
- BALL NUT
- METAL SHADE
- SOCKET RING
- BULB



















