TREND TP30030 Mini Pendant Light
INSTALLATION INSTRUCTIONS
Please read carefully and save these instructions, as you may need them at a later date.
CAUTION
WARNING: Risk of Fire. Consult a qualified electrician to ensure correct branch circuit conductor. Min 90ºC supply conductors.
Turn off the main power at the circuit breaker before installing the fixture, in order to prevent possible shock.
GENERAL
All electrical connections must be in accordance with local and National Electrical Code (N.E.C.) standards. If you are unfamiliar with proper electrical wiring connections obtain the services of a qualified electrician.
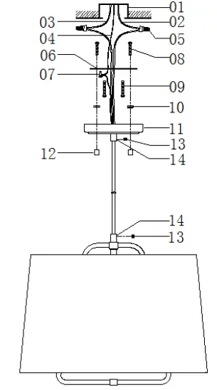
Remove the fixture and the mounting package from the box and make sure that no parts are missing by referencing the illustrations on the installation instructions.
ASSEMBLY AND INSTALLATION
- Thread canopy screws (09) through mounting bar(06) and secure with hex nuts (10).
- Attach mounting bar (06) to outlet box (01) with box screws (09).
- Adjust the wire to desired length and use lock screw (13) on wire lock (14) to secure the length.
- Make wire connection with white wire (02) and black wire (03). Use wire connectors (05) to secure the connections. Secure ground wire (04) and ground wire from the fixture to mounting bar (06) with ground screw (07).
- Attach the canopy(11) against the outlet box(01) and secure with the ball nut(12).
PARTS LIST

- OUTLET BOX
- WHITE WIRE
- BLACK WIRE
- GROUND WIRE
- WIRE CONNECTORS
- MOUNTING BAR
- GROUND SCREW
- CANOPY SCREW
- BOX SCREW
- HEX NUTS
- CANOPY
- BALL NUT
- LOCK SCREW
- WIRE LOCK





















