FHWS80121 Kettering Wicker Round Lp Fire Pit
User Guide
Item #0000 000 000 Model #FHWS80121
USE AND CARE GUIDE
KETTERING WICKER ROUND LP FIRE PIT
Questions, problems, missing parts? Before returning to the store, call Home Decorators Collection Customer Service.
8 a.m. – 7 p.m., EST, Monday – Friday, 9 a.m. – 6 p.m., EST, Saturday
1-800-986-3460 HOMEDEPOT.COM/HOMEDECORATORS
THANK YOU
We appreciate the trust and confidence you have placed in Home Decorators Collection through the purchase of this fire table. We strive to continually create quality products designed to enhance your home. Visit us online to see our full line of products available for your home improvement needs. Thank you for choosing Home Decorators Collection!
Safety Information
READ ALL INSTRUCTIONS BEFORE USE. SAVE THESE INSTRUCTIONS.
WARNING: FOR OUTDOOR USE ONLY: (outside, non-enclosed area). Do Not Use For Cooking. Installation and service must be
performed by a qualified installer, service agency, or the gas supplier.
WARNING: FOR YOUR SAFETY: If the information in this manual is not followed exactly, a fire or explosion may result causing
property damage, personal injury or loss of life. Installation and service must be performed by a qualified installer, service agency or gas supplier. INSTALLER: Leave this manual with the appliance. CONSUMER: Retain this manual for future reference. If you are assembling this unit for someone else, give this manual to him or her to read and save for future reference.
WARNING: FOR YOUR SAFETY: Do NOT store or use gasoline or other flammable vapors or liquids in the vicinity of this or any other appliance. An LP cylinder not connected for use shall not be stored in the vicinity of this or any other appliance.
WARNING: Improper installation, adjustment, alteration, service or maintenance can cause property damage, injury or death. Read the installation, operationg and maintenance instructions thoroughly before installing or servicing this equipment.
DANGER CARBON MONOXIDE HAZARD
This appliance can produce carbon monoxide which has no odor.
Using it in an enclosed space can kill you. Never use this appliance in an enclosed space such as camper, tent, car or home.
DANGER: Do NOT leave this appliance unattended while it is in operation.
WARNING: Fuels used in liquefied propane gas appliances, and the products of combustion of such fuels, can expose you to chemicals including benzene, which is known to the state of California to cause cancer and cause birth defects or other reprodctive harm.
For more information go to: www.p65warnings.ca.gov.
DANGER
FIRE OR EXPLOSION HAZARD
If you smell gas:
- Shut off gas to appliance.
- Extinguish any open flame.
- If odor continues, leave the area immediately.
- After leaving the area, call your gas supplier or fire department.
Failure to follow these instructions could result in fire or explosion, which could cause property damage, personal injury, or death.
CALIFORNIA PROPOSITION 65: Handling the brass material on this product can expose you to lead, which is known to the State of California to cause cancer and birth defects or other reproductive harm. Wash hands after handling.
For more information go to www.P65Warnings.ca.gov.
ANSI Z21.97-2017-/CSA 2.41-2017 Outdoor Decorative Gas Appliances
ATTACH YOUR RECEIPT HERE
Serial Number………………………….
Purchase Date………………………………..
WARNING: Fire table is for outdoor use only.
Installation and repair should be done by a qualified service person. The appliance should be inspected before use and at least annually by a qualified service person. More frequent cleaning may be required as necessary. It is imperative that the control compartment, burners and circulating air passageways of the appliance are kept clean.
WARNING: Failure to follow the dangers, warning and cautions in this manual may result in serious bodily injury or death, or in a fire or an explosion causing damage to property.
IMPORTANT NOTICE Read and understand all warnings and precautions prior to assembly and use of your gas fire table. Improper installation, adjustment, alteration, service or maintenance can cause injury or property damage. The installation of this unit must adhere to local codes or either the National Fuel Gas Code, ANSI Z223. 1/NFPA54 or CAN/CGA-B149.1 Natural Gas and Propane Installation Code.
Minimum clearance from unit to combustible materials: 61 ft. (155.4 cm) from the top; 48 ft. (121.9 cm) from all sides and back. Do not locate this fire table under any overhead enclosures.
IF YOU SMELL GAS
- Do not try lighting any appliance.
- Do not touch any electrical switch; do not use any phone in your building.
- Immediately call your gas supplier from a neighbors phone.
- Follow the gas supplier’s instructions.
- If you cannot reach your gas supplier, call the fire department.
Children and adults should be alerted to the hazards of high surface temperatures and should stay away to avoid burns or clothing ignition. Young children should be carefully supervised when they are in the area of the appliance. Clothing or other flammable materials should not be hung from the appliance or placed on or near the appliance. Any guard, barrier, or other protective device removed for servicing the appliance shall be replaced prior to operating the appliance.
- Keep these instructions for future reference. If you are assembling this unit for someone else, give this manual to him or her to read and keep for future reference.
- This gas fire table must be used ONLY outdoors in a well-ventilated space and shall NOT be used inside a building, garage, or any other enclosed area.
- DO NOT use this outdoor gas fire table for indoor heating. TOXIC carbon monoxide fumes can accumulate and cause asphyxiation.
- NEVER LEAVE this gas fire table unattended when in use.
- This unit is to be used with propane gas only! (sold separately)
- Do not attach a remote gas supply to this unit.
- Only use propane gas for this unit.
- Converting this unit to natural gas is dangerous. This conversion kit shall be installed by a qualified service agency in accordance with the manufacturer’s instructions and all applicable codes and requirements of the Authority having jurisdiction. The maximum inlet natural gas pressure for this outdoor fire table is 10 1/2 in. wc; the minimum inlet natural gas for this outdoor fire table is 3 1/2 in wc.
- Do not use a flame to check for gas leaks.
- Do not store or use gasoline or other flammable vapors and liquids within 25 ft. (7.62 m) of this or any other appliance.
- Do not store any combustible materials in the base enclosure.
- The use of alcohol, prescription or non-prescription drugs may impair an individual’s ability to properly assemble or safely operate this outdoor fire table.
- DO NOT use in an explosive atmosphere. Keep gas fire table area clear and free from combustible materials, such as gasoline. This outdoor fire table is not to be installed or used in or on recreational vehicles and/or boats. Always use in accordance with all applicable local, provincial and national codes. Contact your local fire department for details on outdoor burning. Use the same precautions you would with any open fire when using this outdoor fire table.
- DO NOT burn solid fuels such as: wood, charcoal briquettes, lump charcoal, manufactured logs, driftwood, trash, leaves, paper, cardboard, plywood, or painted, stained or pressure-treated wood in this outdoor fire table.
- DO NOT paint or color any part of this heating unit.
- DO NOT use this outdoor fire table until it is COMPLETELY assembled and all parts are securely fastened and tightened.
- DO NOT store another LP gas tank within 10 ft. (3.05 m) of this outdoor fire table while it is in operation.
- DO NOT use this outdoor fire table near automobiles, trucks, vans or recreational vehicles.
- DO NOT use this outdoor fire table under any overhead structure or near any unprotected combustible constructions.
- Avoid using near or under overhanging trees and shrubs. Always use this outdoor fire table on a hard, level, non-combustible surface such as concrete, rock or stone. An asphalt or blacktop surface may not be acceptable for this purpose.
- DO NOT use this appliance if any part has been under water. Immediately call a qualified service technician to inspect the appliance and to replace any part of the control system and any gas control that has been under water.
- DO NOT set the protective cover over the unit until it is turned off and completely cooled down.
- DO NOT use in windy conditions. Keep all electrical cords away from a hot outdoor fire table. Certain areas of this outdoor fire table when in use will become too hot to touch.
- Do not touch hot surfaces until the unit has cooled unless you are wearing protective gear such as insulated pot holders or heat-resistant gloves or mittens to avoid burns.
- DO NOT attempt to move or store this outdoor fire table until all parts are cool.
- DO NOT lean over this outdoor fire table when lighting or when in use. Use only the regulator and hose assembly provided. The replacement regulator and hose assembly shall be that specified by the manufacturer.
- DO NOT attempt to disconnect the gas regulator from the tank or any gas fitting while the outdoor fire table is in use. Always shut off the supply at the tank valve and disconnect regulator from the tank when the fire table is not in use.
- DO NOT sit on the fire table when the unit is in operation.
- DO NOT throw anything onto the fire when the unit is in operation.
- Glass beads are very hot; please keep children and pets at a safe distance.
- It is essential to keep the outdoor fire table valve compartment, burners, and circulating air passages clean. Inspect outdoor fire table before each use.
- Check for leaks after not using the unit for long periods of time.
- Prior to each fire table operation, check the hose for evidence of excessive abrasion or wear by looking through the visual check hole. If the hose is damaged, cracked or cut, it must be replaced before using the gas fire table. The hose assembly can only be replaced with a hose assembly specified by the manufacturer. Please call the service center at 1-800-986-3460.
- Before each use, remove the glass beads. Examine the burner and its components. If dirty, clean with a soft brush and soapy water solution. Also examine the area around the burner. Any dirt or foreign material, such as spider webs or nests in this area, should be removed. If it is evident that the burner is damaged, the fire table must not be used. The burner assembly cannot be replaced. Please contact the service center at 1-800-986-3460 for technical support.
- Place the hose out of the pathways where people may trip over it (if using external tank). Do not place the hose in areas where it may be subjected to accidental damage.
ATTENTION: Any alteration of the outdoor fire table that is not specifically directed in the operations manual will void manufacturer warranty.
PROPANE (LP) DANGERS AND WARNINGS
LP GAS
LP gas is flammable and hazardous if handled improperly. Familiarize yourself with its hazards before using any LP gas product.
PROPANE HAZARDS
- Flammable, explosive under pressure, heavier than air and settles in pools in low areas.
- In its natural state, propane has no odor. For your safety, an odorant has been added.
- Contact with propane could burn your skin.
- Propane is extremely flammable and hazardous if handled improperly.
LP GAS WARNINGS
- Cylinders must be stored outdoors in a well-ventilated area out of reach of children.
- Disconnected cylinders must have threaded valve plugs tightly installed and must not be stored in a building, garage or any other enclosed area.
- Never use a propane cylinder with a damaged body, valve, collar or footing.
- Dented or rusted propane cylinders may be hazardous and should be checked by your propane gas supplier.
- Be sure to use only one 20 lb (9.1 kg) LP gas cylinder with a Type 1 valve with this appliance as required by the American National Standards Institute (ANSI) and the Canadian Standards Steering Committee.
- Only tanks marked “propane” may be used.
- The installation of this unit must adhere to local codes or either the National Fuel Gas Code, ANSI Z223. 1/NFPA54, or CAN/CGA-B149.1, Natural Gas and Propane Installation Code.
- LP gas tank must be arranged for vapor withdrawal.
- The LP gas tank must have a listed overfilling prevention device (OPD) and a QCCI Type I (CGA810) LP gas tank connection.
- The LP gas tank must have a tank collar to protect the tank valve.
- Never use an LP gas tank with a damaged body, valve, collar, or footing. Dented or rusted LP gas tanks may be hazardous.
- The LP gas tank should not be dropped or handled roughly.
- Tanks must be stored outdoors out of the reach of children. Do NOT store in a building, garage, or any other enclosed area.
- Never store your LP gas tank where temperatures can reach over 125°F (52°C).
- Do not store the LP gas cylinder in direct sunlight or near a source of heat or combustion.
- Never keep a filled LP gas tank in a hot car or car trunk. Heat will cause the gas pressure to increase, which may open the relief valve and allow gas to escape.
- Place dust cap on valve outlet whenever the LP gas tank is not in use. Only install the recommended type of dust cap on the LP gas tank and the LP gas tank valve. Other types of caps or plugs may result in leakage of propane.
- Do not store a spare LP gas cylinder under or near this appliance.
- Never fill the LP gas cylinder beyond 80% full.
- If the information in (a) and (b) is not followed exactly, a fire causing death or serious injury may occur.
- LP gas cylinders should be filled only by a certified LP gas dealer.
- The pressure regulator is set for 11 in. wc (2.74 kPa).
- The maximum inlet propane gas pressure for this outdoor fire table is 250 PSI; the minimun inlet propane gas pressure for this outdoor fire table is 25 PSI.
- The maximum inlet natural gas pressure for this outdoor fire table is 10.5 in. wc.
- The minimum inlet natural gas pressure for this outdoor fire table is 3.5 in. wc.
- Never attempt to attach this appliance to the self-contained LP gas system of a camper trailer, motor home or house.
- Always use the pressure regulator and hose assembly provided with the appliance to connect to a LP gas cylinder. Never connect to an unregulated LP gas supply. For technical support contact the service center at 1-800-986-3460.
- Hand turn the manual gas control valve. Never use tools. If the valve will not turn by hand, do not try to repair it. Call a certified gas technician. The use of force or any self-attempted repair may result in a fire or explosion.
- Constructed and marked in accordance with the U.S. Department of Transportation (D.O.T.) Specifications for LP-Gas Cylinders,or the Standard for Cylinders, Spheres and Tubes for Transportation of Dangerous Goods and Commission, CAN/CSA-B339, as applicable.
When Connecting Your Gas Cylinder
- Before connecting, be sure that there is no debris caught in the head of the gas cylinder, head of the regulator valve or in the ports.
- Connect regulator valve and hand-tighten firmly. Disconnect the propane cylinder from the regulator valve when the fire table is not in use. DO NOT obstruct the flow of combustion air and ventilation air to the burner.
HOSE AND REGULATOR ASSEMBLY AND REPLACEMENT
- This fire table comes equipped with a standard LP gas hose and regulator including the appliance side connection for a CGA No. 791 Cylinder Connection Device. The LP gas hose and regulator supplied with this fire table must be used. Only a hose and regulator specified by manufacturer can be used for replacement.
- The CGA No. 791 connection incorporates a magnetic flow limiting device that acts to limit the flow of gas if a leak is detected between the regulator and the burner valve.
- If the burner valve is open prior to the LP gas cylinder service valve being opened, the connection will interpret this free flow of gas to be a leak.
- The connection safety feature will reduce gas flow from the regulator to the appliance to a minimal level.
- Be sure that the burner control valve is closed prior to opening the LP gas cylinder service valve to ensure that the connection flow limiting device is not triggered mistakenly.
- If the connection flow limiting device is triggered mistakenly, close the LP gas cylinder service valve and the burner valve, wait 10 seconds to allow the device to reset, open the cylinder service valve, then open the burner valve and light the fire table as per lighting instructions.
- Be sure to protect the hose from any hot surfaces. Serious danger may result if the hose contacts any hot surface.
- Regular maintenance of the hose and regulator:
- Inspect the hose before each use of the fire table. If the hose shows signs of cracks, abrasions, cuts or damage of any kind, do not operate the appliance. Fix or replace the hose as required before using the appliance. For assistance with repair or replacement of the hose, call the service center at 1-855-HD-HAMPTON. Use only replacement parts from the manufacturer.
- Inspect the seal inside the CGA No. 791 service valve on the LP gas cylinder when replacing the cylinder or at least once per year. If there is any indication of damage, have the seal replaced by a certified gas dealer before operating the appliance.
- Do not use tools to tighten the CGA No. 791 connection nut onto the LP gas cylinder service valve. Hand tighten only.
- Be careful to not cross the threads on the connection when tightening the CGA No. 791 connection onto the LP gas cylinder service valve.
- A leak test should always be performed after attaching the connection to LP gas cylinder service valve. See Step 5, “Tank/Gas Line connection Leak Test”, in the “Operation” section of this manual.
- For connection instructions, see Steps 12 in the “Operation” section of this manual.
GLASS BEADS WARNING
- Glass beads may have sharp edges. Wear safety glasses and gloves when handling.
- If changing or substituting the glass beads with other media, use lava rocks/pumice stones/glass shards/glass beads available from your local authorized dealer/distributor.
- Pour the glass beads evenly into the burner area (with the exception of the screen, if applicable). The glass beads should be 1/2 to 1 in. (1.2 to 2.5 cm) above the burner.

CAUTION:
Do not exceed a height of 1 in. (2.5 cm) above the burner when placing glass beads or other media. Ensure no media covers the igniter screen. Store any excess glass beads in a safe location.
- Keep away from the unit for the first 20 minutes after igniting your unit for the first time, as lava rocks/pumice stones/glass beads could pop out and cause injury.
- Should any rocks pop out, discard them. Always ensure that lava rocks/pumice stones/glass shards/glass beads are completely dry before use. Failure to do so will cause them to crack or pop.
Warranty
1 YEAR FRAME LIMITED WARRANTY WHAT IS COVERED
We warrant the frames to be free of manufacturing defects to the original purchaser for one year.
WHAT IS NOT COVERED
It remains the customer’s responsibility for freight and packaging charges to and from our service center. This warranty does not cover commercial use, hardware, acts of nature, fire, freezing and abusive use. In addition, purchased parts are not covered under this warranty. We reserve the right to make substitutions with similar merchandise, if the model in question is no longer in production.
Contact the Customer Service Team at 1-800-986-3460 or visit HOMEDEPOT.COM/HOMEDECORATORS.
Pre-Assembly
PLANNING ASSEMBLY
Read all instructions before assembly. To avoid damaging this product, assemble it on a soft, non-abrasive surface such as carpet or cardboard.
NOTE: More than one person may be required to assemble this product.
PACKAGE CONTENTS
| Part | Description | Quantity |
| A | Fire Table | 1 |
| B | Burner Lid | 1 |
| C | Glass Beads | 1 |
| D | Round Burner Bowl | 1 |
| E | Burner Ring | 1 |
| F | Pilot Housing | 1 |
| G | Manual Electric Igniter | 1 |
| H | Control Knob | 1 |
| I | Regulator/Hose | 1 |
| J | AAA Battery | 1 |
WARNING: Failure to position the parts in accordance with these diagrams or failure to use only parts specifically approved with this appliance may result in property damage or personal injury.
Assembly
1 Placing the Glass Beads
CAUTION: To ensure proper function, the screen on the pilot housing should be free of glass beads.
Place the glass beads (C) into the round burner bowl (D).

2 Placing the Burner Lid
WARNING: Surfaces on the fire table can remain extremely hot for a period after use. Allow 45 minutes to cool down before touching or moving the fire table.
- Place the burner lid (B) over the round burner bowl (D).
- Make sure to remove the burner lid before lighting.
- Do not place the lid back onto the round burner bowl until it has cooled down.

Operation
1 Installing the LP Gas Tank
CAUTION:
The LP gas Make sure tank must be properly disconnected LP gas tank valve is closed. and removed prior to moving this outdoor fire table.
- To operate, you will need one precision-filled standard grill LP gas tank with external valve threads.
- Loosen LP gas tank retainer bolt by turning counterclockwise.
- Place precision-filled LP gas tank upright into hole in outdoor fire table base so the tank valve is facing the gas line connection.
- Secure tank by turning LP gas tank retainer bolt clockwise until tight.

2 Connecting the LP Gas Tank
- Before connecting, be sure there is no debris caught in the head of the LP gas tank, in the head of the regulator valve or in the head of the burner ports.
- Connect the regulator/hose assembly to tank by turning knob clockwise until it stops.

3 Disconnecting the LP Gas Tank
NOTE: The LP gas tank must be properly disconnected and removed prior to moving this fire table.
- Before disconnecting make sure the LP gas tank valve is “CLOSED”.
- Disconnect regulator/hose assembly from LP gas by turning knob conterclockwise until it is loose.
- Place the protective cap cover on the LP gas tank and store it outdoors in a well-ventilated area out of direct sunlight.

4 Checking for Leaks and Burner Connections
CAUTION: Failure to inspect this connection or follow these instructions could cause a fire or an explosion which can cause death, serious bodily injury or damage to property.
- Before using this outdoor fire table, make sure you have read, understood and are following all information provided in the “Safety Information” section on page 2 to 6.
- Failure to follow those instructions can cause serious injury, damage to property or result in death.
- Make sure the regulator/hose and valve connections are securely fastened to the burner and the tank.
- Visually check the connection between the burner/venturi tube and orifice.
- Make sure the burner/venturi tune fits over the orifice.
5 Tank/Gas Line Connection Leak Test
- Make 2-3 oz. of leak detection solution by mixing one part liquid dishwashing soap with three parts water.
- Make sure the control knob is in the “OFF” position.
- Connect LP gas tank per “CONNECTING LP GAS TANK” section.
- Turn LP gas tank valve to “OPEN”.
- Using a spoon or a squirt bottle, pour several drops of solution over each spot marked “X.”
a. If any bubbles appear, turn LP gas tank valve to “CLOSED”, reconnect and re-test.
b. If you continue to see bubbles after several attempts, turn LP gas tank valve to “CLOSED” and disconnect LP gas tank, per “DISCONNECTING LP GAS TANK”. c. If no bubbles appear after one minute, turn LP gas tank valve to “CLOSED”, wipe away solution and proceed.

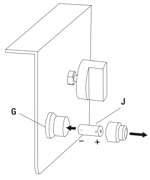
6 Inserting the Battery and Control Knob
CAUTION: Do not put batteries into the fire or trash. Please treat batteries as hazardous waste and recycle properly.
- Insert the AAA battery (J) into the manual electric igniter (G) and twist the button cover on to igniter housing. Do not overtighten.
7 Inserting the Door
Insert the door. Now the fire table is complete and ready to use.
CAUTION: Failure to follow these instructions could cause a fire or an explosion which can cause death, serious bodily injury or damage to property.
WARNING: Never light burner with the cover on the outdoor fire table.
CAUTION: Keep outdoor gas appliance area clear and free from combustible materials, gasoline and other flammable vapors and liquids.
CAUTION: Do NOT obstruct flow of combustion and ventilation air.
CAUTION: Check and clean burner/venturi tubes for insects and insect nests. A clogged tube can lead to a fire.

LIGHTING
- Make sure all labels, packaging and protective films have been removed from the outdoor fire table.
- Remove cover and burner lid (if applicable) before operating fire table. Check for obstructions of airflow to the burner. Spiders, insects and webs can clog the burner/venturi tube. A clogged burner tube can lead to a fire.
- Control knob must be in the “OFF” position.
- To ensure proper function, the screen on the pilot housing should not be covered by glass beads.
- Connect LP gas tank per steps 1 and 2 in the “Operation” section.
- Turn LP gas tank valve to “OPEN”.
- Push and hold the flame ignitor to create sparks within the electrode; and continue to hold.
- Push in the control knob and turn to the “ON” position. Keep holding down the control knob to allow gas to flow for 20 seconds.
- After 20 seconds, release and turn control knob counterclockwise to adjust flame to desired height.
- If ignition does not occur in 20 seconds turn burner control knob to “OFF”, wait five minutes, fan with a newspaper or magazine, and repeat lighting procedure.
- If igniter does not light burner: Wearing heat-resistant gloves, position a long, lit match or long, lit butane lighter near the pilot housing. Push and turn control knob to “ON”. Remove match/lighter once burner is lit.
- After lighting, observe the burner flame and make sure all burner ports are lit and flame height matches illustration on page 17.
CAUTION: If ignition does not occur in 5 seconds, turn control knob to “OFF”, wait 5 minutes, fan with a newspaper or magazine, and repeat lighting procedure.
Turning Off
- Turn LP gas tank valve to “CLOSED”.
- Turn control knob to the “OFF” position.
NOTE: A “poof” sound is normal as the last of the LP gas is burned. - Disconnect LP gas tank per “Disconnecting LP Gas Tank” section.
CAUTION: NEVER place cover on hot outdoor fire table.
Notices
- This outdoor fire table should be thoroughly cleaned and inspected on a regular basis.
- Abrasive cleaners will damage this product.
- NEVER use oven cleaner to clean any part of this outdoor fire table.
Before Each Use
- Ensure the outdoor fire table area is clear and free from any combustible materials, gasoline and other flammable vapors and liquids.
- Do not obstruct the flow of the combustion of LP gas and the ventilation of air. Keep the ventilation opening(s) of the LP gas tank area free and clear of debris.
- Visually check the burner flames to make sure your outdoor fire table is working properly.
- See below for proper cleaning instructions.
- Check all gas connections for leaks.
- Check components for any signs of damage or rust.
- Check for obstructions of airflow to the burner. Spiders, insects and webs can clog the burner/venturi tube.
- A clogged burner/venturi tube can lead to a fire.
- If damage to any component is detected, do NOT operate until repairs are completed.
Care and Maintenance
Cleaning Surfaces
- Wipe surfaces clean with mild dishwashing detergent or baking soda mixed with water.
- For stubborn stains, use a citrus-based cleaner and a nylon scrubbing brush.
- Rinse clean with water. Allow to air dry.
Before Storing
- Turn LP gas tank valve to “CLOSED”. Turn control knob to the “OFF” position.
NOTE: A “poof” sound is normal as the last of the LP gas is burned. - Disconnect LP gas tank per “Disconnecting LP Gas Tank” section.
- Clean all surfaces.
- Lightly coat the burner with cooking oil to prevent excess rusting. NEVER place cover on hot outdoor fire table.
- If storing the outdoor fire table indoors, cover the outdoor fire table and store in a cool, dry location away from children and pets.
- If storing the outdoor fire table outdoors, cover the outdoor fire table to protect from the weather.
CAUTION: Cover your fire table when not in use to protect it from the elements. We recommend that your fire table be stored indoors during the winter months. It will protect it from cracking in extreme cold. If it must be stored outside, it should ALWAYS be covered.
Cleaning and Care
CAUTION: All cleaning and maintenance should be done when outdoor fire table is cool and with the fuel supply disconnected.
CAUTION: Do not clean any outdoor fire table part in a self-cleaning oven. The extreme heat will damage the finish.
CAUTION: Do not enlarge valve orifices or burner ports when cleaning the valves or burners.
Replacement Parts
For replacement parts, call our service center at 1-855-HD-HAMPTON.
Troubleshooting
| The burner will not light using the igniter. | The LP gas tank valve is closed. | Make sure that the regulator is securely attached to the LP gas tank per the “Installing the LP Gas Tank” section. Then turn the LP gas tank valve to “OPEN.” |
| The LP gas tank is low or empty. | Exchange, refill or replace the LP gas tank. | |
| The LP gas leaks. | ❑Turn the LP gas tank valve to “CLOSED”. ❑Watt 5 minutes for the gas to clear. ❑ Follow the steps in the “Checking for Leaks and Burner Connections” section. | |
| The battery needs to be changed. | Replace the “AM” battery (follow the assembly step for inserting the battery). | |
| The electrode and burners are wet. | Wipe the electrode and burners dry with a cloth. | |
| The electrode is cracked or broken — sparks at crack. | Replacement part(s) may be needed. Contact Customer Care at 1-800-986-3460. | |
| A wire is loose or disconnected. | Replacement part(s) may be needed. Contact Customer Care at 1-800-986-3460. | |
| A wire is shorting (sparking) between igniter and electrodes. | Replacement part(s) may be needed. Contact Customer Care at 1-800-986-3460. | |
| The igniter is bad. | Replacement part(s) may be needed. Contact Customer Care at 1-800-986-3460. | |
| The burner will not light with a match. | There is no gas flow, | Check to see if the LP gas tank is empty. If the tank is empty, exchange, refill or replace it. If the tank is not empty, refer to “There is a sudden drop in gas flow, or the flame height is reduced.” below. |
| The LP gas tank is low or empty. | Exchange, refill or replace the LP gas tank. | |
| There is an LP gas leak. | ❑Turn the LP gas tank valve to “CLOSED”. ❑wait 5 minutes for the gas to clear. ❑ Follow the steps in the “Checking for Leaks” section. | |
| The coupling nut and regulator are not fully connected. | Turn the coupling nut about one-half to three-quarters additional turn until there is a solid stop. Tighten by hand only — do NOT use tools. | |
| There is an obstruction of the gas flow. | ❑ Clear the burner/venturi tube. ❑Check for a bent or kinked hose. | |
| There is a disengagement of burner to valve. | Re-engage the burner and valve. | |
| Spider webs or insect nests are in the burner/venturi tube. | Clean the burnerenturi tube. | |
| The burner ports are clogged or blocked. | Clean the burner ports. |
| There is a sudden drop in gas flow. or the flame height is reduced. | The tank is out of gas. | Exchange, refill of replace the LP gas tank. |
| The overfilling prevention device may have been activated. | ❑ Turn control knob to “OFF”. ❑Wait 30 seconds and light the outdoor fire table per the “Lighting° section. ❑ If flames are still too low, reset the overfilling prevention device: ❑ Turn the control knob to “OFF”. ❑ Turn the LP gas tank valve to “CLOSED”. ❑the regulator. ❑Turn the control knob to “ON” is Wait one minute. ❑ Turn the control knob to “OFF”. ❑ Reconnect the regulator and leak check connections, being careful not to fully open the valve. ❑ Light the outdoor fire table per the “Lighting” section. | |
| There is an irregular flame pattern. or the flame does not run the full length of the burner. | There is no gas flow. | Exchange, refill or replace the LP gas tank. |
| The flame is yellow or orange. | The new burner may have residual manufacturing oils. | Bum the outdoor fire table for 15 minutes and reinspect. |
| Spider webs or insect nests are in the bumeriventuri tube. | Clean the burnerNenturi tube. | |
| The valve is poorly aligned to the bumeilventuli tube. | Ensure the burner/venturi tube is property engaged with valve. | |
| The flame goes out. | There are high or gusting winds. | Do not use the outdoor fire table in high winds. |
| The tank is low on LP gas. | Exchange, refill or replace the LP gas tank. | |
| The excess flow valve has been tripped, | Refer to “There is a sudden drop in gas flow, or the flame height is reduced” in this table. | |
| There is a flashback (fire in venturifbumer tube(s)). | The burner anclior burner/ venturi tube is blocked. | Clean the burner and/or burner/venturi tube. |
| The flame seems to lose heat when burning in cold weather — temperature below 50`F (10°C). | Ice has built up on the outside of the LP gas tank because the vaporization process is too slow. | ❑Turn off per the”Tuming OW section. ❑ Replace with a spare LP gas tank. ❑ Reconnect LP gas tank per the “Installing the LP Gas Tank” section. ❑Follow the steps in the -Checking for Leaks” section. ❑Light the outdoor fire table per the “Lighting” section. |
Questions, problems, missing parts?
Before returning to the store, call Hampton Bay Customer Service.
8 a.m. – 7 p.m., EST, Monday – Friday, 9 a.m. – 6 p.m., EST, Saturday
1-800-986-3460 HOMEDEPOT.COM/HOMEDECORATORS
Retain this manual for future use.





















