HOME DECORATORS COLLECTION 2388FP-1 Anaheim 49×25 Inch Gas Fire Pit

Important Safety Instructions
STOP! PLEASE READ THESE INSTRUCTIONS CAREFULLY BEFORE ASSEMBLY.
MAKE SURE YOU HAVE ALL THE PARTS AND HARDWARE AS IDENTIFIED ON THE PARTS LIST. KEEP THESE INSTRUCTIONS FOR FUTURE REFERENCE.
DANGER
FIRE OR EXPLOSION HAZARD If you smell gas:
- Shut off the gas to the appliance.
- Extinguish any open flame.
- If odor continues, leave the area immediately.
- After leaving the area, call your gas supplier or fire department. Failure to follow these instructions could result in fire or explosion, which could cause property damage, personal injury, or death.
- WARNING
Improper installation, adjustment alteration, service, or maintenance can cause injury or property damage. Read the installation, operating, and maintenance instructions thoroughly before installing or servicing this equipment. - Do not store or use gasoline or other flammable vapors and liquids in the vicinity of this or any other appliance. An LP cylinder not connected for use shall not be stored in the vicinity of this or any other appliance.
- For Outdoor Use Only Installation and service must be performed by a qualified installer, service agency, or gas supplier.
INSTALLER: Leave this manual with the appliance. CONSUMER: Retain this manual for future reference.
DANGER
CARBON MONOXIDE HAZARD This appliance can produce carbon monoxide which has no odor. Using it in an enclosed space can kill you. Never use this appliance in an enclosed space such as a camper, tent, car, or home.
WARNING:
USE FACTORY-APPROVED REPLACEMENT PARTS AND ACCESSORIES ONLY. THE USE OF UNAPPROVED PARTS OR ACCESSORIES CAN VOID THE WARRANTY ON THIS PRODUCT AND RESULT IN A HAZARDOUS CONDITION. PLEASE CONTACT US FOR INFORMATION REGARDING REPLACEMENT HOSES, ELECTRODES, IGNITION MODULES, FIRE GLASS, LOGS, ETC.
WARNING: If the information in this manual is not followed exactly, a fire or explosion may result causing property damage, personal injury, or loss of life.
- The installation must conform with local codes or, in the absence of local codes, with the National Fuel Gas Code, ANSI Z223.1/NFPA 54; International Fuel Gas Code; Propane Installation Code, CSA B149.1; or Propane Storage and Handling Code, B149.2, as applicable.
- The appliance must be isolated from the gas supply piping system by closing its equipment shutoff valve during any pressure testing of the gas supply system at a test pressure equal to or less than 1/2 psi (3.5kPa).
- The appliance area must be kept clear and free from combustible materials, gasoline, and other flammable vapors and liquids.
- The maximum inlet gas supply pressure is 250psi. The minimum inlet gas supply pressure is 25psi.
- Do not use this appliance if any part has been under water. Immediately call a qualified service technician to inspect the appliance and to replace any part of the control system and any gas control which has been under water.
- Children and adults should be alerted to the hazards of high surface temperatures and kept at a safe distance to avoid burns or clothing ignition.
- Young children should be carefully supervised when they are anywhere near the appliance.
- Clothing or other flammable material should not be hung from the appliance or placed on or near the appliance.
- Any screen or guard removed for servicing an appliance must be replaced prior to operating the appliance.
- Installation and repair should be done by a qualified service person. The appliance should be inspected before use and at least annually by a professional service person.
- More frequent cleaning may be required as necessary. It is imperative that the control compartments, burners, and circulating air passageways of the appliance be kept clean.
- Do NOT burn solid fuels in this gas fireplace.
- Do NOT ignite the burner before pouring all of the burner media ( Fire glass) into the burner The media must be evenly distributed over the burner.
- During the initial firing of the firepit, please stay away from the firepit for 20 minutes as fire media (Fire glass) may pop and hit someone in the face or eyes.
- Do NOT ignite or use the firepit if the burner media (Fire glass )are wet. Ensure the burner media are completely dry before igniting as intense heat could cause the media to crack and pop.
- Do not use this appliance for cooking.
CAUTION: The propane gas pressure regulator provided with this appliance must be used. This regulator is set for an outlet pressure of 11 inches water column. This outdoor gas appliance is not intended to be installed in or on recreational vehicles and/or boats. Before each use of this gas appliance, open the LP (Liquid Propane) Tank Drawer and inspect the LP Hose. If there is evidence of excessive abrasion or wear, or the hose is cut, it must be replaced prior to the gas appliance being put into operation. Use only the replacement hose assembly specified in this manual. Inspect the burner before each use of the appliance. The burner must be replaced prior to the appliance being put into operation if it is evident that the burner is damaged. Use only the burner listed in these instructions. Keep the fuel supply hose away from any heated surfaces. Very hot while in operation! Never lean over the appliance while it is in use. In order to protect the burner system, when the fire is not in use and on rainy days, the cover should be used. Do not use cover immediately after use, wait until the appliance has cooled down. Do not sit or stand at this table. Retain these assembly instructions for future reference.
ABOUT PROPANE (LP) GAS
A self-contained LP-gas cylinder for use with this appliance must have a capacity of 20 lbs. and must be equipped with a Type 1 connector and an OPD (overfill protection device).
See Figure 1.

The LP-gas supply cylinder to be used must be constructed and marked in accordance with the specification for LP-gas cylinders of the U.S. Department of Transportation (DOT) or the National Standard of Canada, CAN/CSA-B339, Cylinder, Sphere and Tubes for the Transportation of Dangerous Goods.
- The cylinder supply system must be arranged for vapor withdrawal.
- The cylinder used must include a collar to protect the cylinder valve.
- This appliance shall be used only outdoors in a well-ventilated space and shall not be used in a building, garage, or any other enclosed space.
- When this appliance is not in use, the gas must be turned off at the supply cylinder.
- Storage of this appliance indoors is permissible only if the cylinder is disconnected and removed from the appliance.
- The propane head should maintain clean.
- Cylinders must be stored outdoors in a well-ventilated area out of the reach of children. Disconnected cylinders must have threaded valve plugs tightly installed and must not be stored in a building, garage or any other enclosed areas.
- CSA (Canadian Standards Association) certified to ANSI “Outdoor Decorative Gas Appliances”.
WARNING: FUELS USED IN LIQUEFIED PROPANE GAS APPLIANCES, AND THE PRODUCTS OF COMBUSTION OF SUCH FUELS, CAN EXPOSE YOU TO CHEMICALS INCLUDING BENZENE, WHICH IS KNOWN TO THE STATE OF CALIFORNIA TO CAUSE CANCER AND CAUSE BIRTH DEFECTS OR OTHER REPRODUCTIVE HARM. For more information go to: www.P65Warnings.ca.gov.
SPECIFICATIONS
| INPUT | 0,000 Btu/hr | 30,000 Btu/hr Low fire |
| Propane Regulator Pressure | 11 inches water column | |
| Clearances to combustible surfaces | Sides: 24in./61cm | Top: 60 in. / 152 cm |
Pre-assembly
PLANNING ASSEMBLY
NOTE: Read all instructions before assembly. To avoid damaging this product, assemble it on a soft, non-abrasive surface such as carpet or cardboard.
NOTE: More than one person may be required to assemble this product.
TOOLS AND HARDWARE REQUIRED
HARDWARE INCLUDED
NOTE: Hardware not shown to actual size.
| Part | Description | Quantity | Part | Description | Quantity |
| AA | Bolt | 4 | BB | Gasket | 10 |
| CC | Bolt | 2 | DD | Bolt | 4 |
| EE | Bolt | 4 | F | Gasket | 4 |
| GG | Bolt | 2 | HH | Allen key | 1 |
PACKAGE CONTENTS
| Part | Description | Quantity | Part | Description | Quantity |
| A | Back panel | 1 | F | Connecting rod | 1 |
| B | Left panel | 1 | G | Type U | 1 |
| C | Front panel | 1 | H | Tabletop | 1 |
| D | Right panel | 1 | I | Fire glass | ~ |
| E | Circular ring | 1 | J | Lid | 1 |
LP-GAS SUPPLY SYSTEMS
Assembly
- Place parts on a soft, non-abrasive surface. Attach the left panel (B) to the back panel (A) with bolt (AA) & gasket (BB). Do not tighten fully.

- Attach the front panel (C) to the other side of the left panel (B) with bolt (AA) & gasket (BB).

- Attach the circular ring (E) to the table door (D) with bolt (GG) & gasket (BB).

- Carefully turn the frame upside down. Attach the table door (D) to the front panel (C) with a bolt (CC).

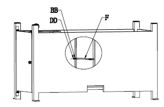
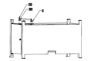
- Use connecting rod (F) to connect the front panel (D) with the back panel (A) together with bolt (DD) & gasket (BB).

- Use type U (G) to connect the front panel (D) with the back panel (A) together with bolt (DD) & gasket (BB).

- Place the tabletop (H) facing down on a non-abrasive surface. Attach the tabletop (H) to the frame with bolt (EE) & gasket (FF).

- With the help of other people, carefully turn the table over to an upright position. Install the Liquid Propane gas cylinder (not included) into the fixing ring in the stable door and fasten it with
- Connect the gas pipe to the Liquid Propane gas cylinder. Hand tightens clockwise only. To disconnect the gas pipe from the Liquid Propane gas cylinder, loosen the connector by turning counterclockwise by hand.
- Open the battery cap on the control panel and install with LR03 AAA batteries (not included).

- Add fire glass (I) to the fire bowl. the fire glass must be flat and not cover up the ignition protection box. To lock the door to the gas tank, press down on the doorknob and turn 90 degrees in the direction of the arrow; to open the door, reverse the direction of the doorknob.

- Last, place the lid(J) on the fire bowl to complete the assembly.

Care and maintenance
- Immediately remove any spot or stain.
- To clean, wash with a mild soap, rinse with water, and let air dry.
- Do not use strong solvents or bleach as they may damage the surface.
- Use an outdoor cover to extend the life of the item.
Before Lighting:
- The firepit should be thoroughly inspected before each use and by a qualified service person at least annually. If relighting a hot fire pit, always wait at least 5 minutes.
- Inspect the hose assembly for evidence of excessive abrasion, cuts, or wear. Suspected areas should be leak tested. If the hose leaks, it must be replaced prior to operation. Only use the replacement hose assembly specified by the manufacturer. The burner must be replaced prior to the appliance being put into operation if it is evident that the burner is damaged. The replacement burner should be specified by the manufacturer.
LIGHTING:
- Remove the cover before lighting.
- Control knob must be in the “OFF” position.
- Connect and open propane cylinder(see manual).
- Push and turn control knob counter clockwise to “LOW”.
- Press the igniter button repeatedly to light burner.
- Press and hold control knob for 45 seconds after flame lights.
- If fire pit doesn’t ignite within a few seconds, pu sh and turnthe control knob clockwise to “OFF”. Fan with newspaper or magazine to ensure there is no propane gas in the fire bowl and inside of fire pit. Wait 5 minutes, and repeat the lighting steps as outlined above.
- Adjust flame to the desired level with the control knob. Lighting operations should comply with the Lighting Instruction section. Improper lighting operations will cause serious injury and explosion.
FLAME CHARACTERISTIC
Normally the burner flame is yellow. If the burner flame is blue and very small, please check the gas cylinder, as it may be low gas pressure or empty. If there is enough gas in the cylinder, please contact customer service to change the burner of the gas fire pit. If flames lift away from the burner or backfire happens, or if the flames produce black smoke, the fire pit should be turned off immediately. The fire pit should not be operated again until the unit is serviced and/or repaired by a qualified service technician.
SHUTDOWN
- Push in and turn control knob clockwise to “OFF” position.
- Turn the LP cylinder gas valve clockwise to the OFF position when the appliance is not in use.
CAUTION: The gas supply must be turned off at the LP-gas supply cylinder when this appliance is not in use.
Leak Check
WARNING
- Perform all leak tests outdoors.
- Extinguish all open flames.
- NEVER leak test when smoking.
- Do not use the fire pit until all connections have been leak-tested and do not leak.
- Make 2-3 oz. of leak check solution (one part liquid dishwashing detergent and three parts water).
- Apply several drops of solution where hose attaches to regulator.
- Apply several drops of solution where regulator connects to cylinder.
- Make sure all fire pit and light valves are OFF.
- Turn cylinder valve ON.
If bubbles appear at any connection, there is a leak.
- Turn cylinder valve OFF.
- If leak is at hose/regulator connection: tighten connection and perform another leak test. If bubbles continue appearing, the hose should be returned to the place of purchase.
- If leak is at regulator/cylinder valve connection: disconnect, reconnect, and perform another leak check. If you continue to see bubbles after several attempts, cylinder valve is defective and should be returned to cylinder’s place of purchase. If NO bubbles appear at any connection, the connections are secure.
NOTE: Whenever gas connections are loosened or removed, you must perform a complete leak test. Complete installation.
FOR YOUR SAFETY
Surfaces of fire pit can remain extremely hot for a period after use. Allow 45 minutes to cool down before touching or moving the fire pit.
LIMITED WARRANTY
This warranty is for the original purchaser and applies to defects in materials and workmanship of your patio furniture, provided your unit is maintained with care and used only for personal, residential purposes. Frames are warranted to be free from defects in material or workmanship for one(1)year. Exclusions: Items used for commercial, contract or other non-residential purposes, display models, items purchased “as is,” or items damaged due to acts of nature, vandalism, misuse or improper assembly are not covered. Discoloration or fading of the finish or fabrics as a result of exposure to the elements, chemicals or spills is not covered. Table top breakage, corrosion or rusting of hardware and damages to frames or welds caused by improper assembly, misuse or natural causes are not covered.
WARNING:
Failure to position the parts in accordance with these diagrams or failure to use only parts specifically approved with this appliance may result in property damage or personal injury.
HOMEDEPOT.COM/HOMEDECORATORS
Please contact 1-800-986-3460 for further assistance.
Questions, problems, missing parts? Before returning to the store,
call Home Decorators Collection Customer Service
8 a.m. – 7 p.m., EST, Monday – Friday, 9 a.m. – 6 p.m., EST, Saturday
1-800-986-3460
HOMEDEPOT.COM/HOMEDECORATORS
Retain this manual for future use.
































