
Item #1007 503 572/1007 497 707 1007 503 527/1007 503 579
Model # 2388FP-1/2388FP-2 2388FP-3/2388FP-4
USE AND CARE GUIDE
ANAHEIM 49 IN. X 25 IN. GAS FIRE PIT

Questions, problems, missing parts? Before returning to the store, call Home Decorators Collection Customer Service
8 a.m. – 7 p.m., EST, Monday Friday, 9 a.m. 6 p.m., EST, Saturday 1-800-986-3460
HOMEDEPOT.COM/HOMEDECORATORS
THANK YOU
We appreciate the trust and confidence you have placed in Home Decorators Collection through the purchase of this fire pit. We strive to continually create quality products designed to enhance your home. Visit us online to see our full line of products available for your home improvement needs. Thank you for choosing Home Decorators Collection!
Safety Information
Stop! Please read these instructions carefully before assembly. Make sure you have all the parts and hardware as identified on the hardware and contents lists.
Keep these instructions for future reference.
DANGER:
FIRE OR EXPLOSION HAZARD
If you smell gas:
- Shut off gas to the appliance.
- Extinguish any open flame.
- If odor continues, leave the area immediately.
- After leaving the area, call your gas supplier or fire department.
- Failure to follow these instructions could result in fire or explosion, which could cause property damage, personal injury, or death.
WARNING: Improper installation, adjustment alteration, service or maintenance can cause injury or property damage. Read the installation, operating and maintenance instructions thoroughly before installing or servicing this equipment.
WARNING: Do not store or use gasoline or other flammable vapors and liquids in the vicinity of this or any other appliance. An LP cylinder not connected for use shall not be stored in the vicinity of this or any other appliance.
WARNING: For Outdoor Use Only,Installation and service must be performed by a qualified installer, service agency, or the gas supplier.
NOTICE: Installer, leave this manual with the appliance.
NOTICE: Consumer, retain this manual for future reference.
DANGER
CARBON MONOXIDE HAZARD
This appliance can produce carbon monoxide which has no odor. Using it in an enclosed space can kill you. Never use this appliance in an en closed space such as a camper, tent, car or home.
WARNING: If the information in this manual is not followed exactly, a fire or explosion may result causing property damage, personal injury, or loss of life.
WARNING: Use factory approved replacement parts and accessories only. Use of unapproved parts or accessories can void the warranty on this product and result in a hazardous condition. Please contact us for information regarding replacement hoses, electrodes, ignition modules, fire glasss, logs, etc.
- The installation must conform with local codes or, in the absence of local codes, with the National Fuel Gas Code,ANSI Z223.1/NFPA 54; International Fuel Gas Code; Propane Installation Code, CSA B149.1; or Propane Storage and Handling Code, B149.2, as applicable.
- The appliance must be isolated from the gas supply piping system by closing its equipment shut off valve during any pressure testing of the gas supply system at test pressure equal to or less than 1/2 psi (3.5 kPa).
- The appliance area must be kept clear and free from combustible materials, gasoline and other flammable vapors and liquids.
- The maximum inlet gas supply pressure is 250 psi. The minimum inlet gas supply pressure is 25 psi.
- Do not use this appliance if any part has been under water. Immediately call a qualified service technician to inspect the appliance and to replace any part of the control system and any gas control which has been under water.
- Children and adults should be alerted to the hazards of high surface temperatures and kept at a safe distance to avoid burns or clothing ignition.
- Young children should be carefully supervised when they are anywhere near the appliance.
- Clothing or other flammable material should not be hung from the appliance, or placed on or near the appliance.
- Any screen or guard removed for servicing the appliance must be replaced prior to operating the appliance.
- Installation and repair should be done by a qualified service person. The appliance should be inspected before use and at least annually by a professional service person. More frequent cleaning may be required as necessary. It is imperative that the control compartments, burners and circulating air passageways of the appliance be kept clean.
- Do NOT burn solid fuels in this gas fire pit.
- Do NOT ignite the burner before pouring all of the burner media (fire glass) into the burner pan. The media must be evenly distributed over the burner.
- During initial firing of fire pit, please stay away from the fire pit for 20 minutes as fire media (fire glass) may pop and hit someone on the face or eyes.
- Do NOT ignite or use the fire pit if the burner media (fire glass) are wet. Ensure the burner media are completely dry before igniting as intense heat could cause the media to crack and pop.
- Do not use this appliance for cooking.
CAUTION: The propane gas pressure regulator provided with this appliance must be used. This regulator is set for an outlet pressure of 11 inches water column.
- This outdoor gas appliance is not intended to be installed in or on recreational vehicles and/or boats.
- Before each use of this gas appliance, open the LP (liquid propane) tank drawer and inspect the LP hose. If there is evidence of excessive abrasion or wear, or the hose is cut, it must be replaced prior to the gas appliance being put into operation. Use only the replacement hose assembly specified in this manual. Inspect the burner before each use of the appliance. The burner must be replaced prior to the appliance being put into operation if it is evident that the burner is damaged. Use only the burner listed in these instructions.
- Keep the fuel supply hose away from any heated surfaces.
- Very hot while in operation!
- Never lean over the appliance while it is in use.
- In order to protect the burner system, when the fire is not in use and on rainy days, the cover should be used.
- Do not use cover immediately after use, wait until the appliance has cooled down.
- Do not sit or stand on this table.
- Retain these assembly instructions for future reference.
ABOUT PROPANE (LP) GAS
A self contained LP gas cylinder for use with this appliance must have a capacity of 20 lb. and must be equipped with a Type 1 connector and an OPD (overfill protection device). See Figure 1.
The LP gas supply cylinder to be used must be constructed and marked in accordance with the specification for LP gas cylinders of the U.S. Department of Transportation (DOT) or the National Standard of Canada, CAN/CSA-B339, Cylinder, Sphere and Tubes for the Transportation of Dangerous Goods.
- The cylinder supply system must be arranged for vapor withdrawal.
- The cylinder used must include a collar to protect the cylinder valve.
- This appliance shall be used only outdoors in a well-ventilated space and shall not be used in a building, garage or any other enclosed space.
- When this appliance is not in use, the gas must be turned off at the supply cylinder.
- Storage of this appliance indoors is permissible only if the cylinder is disconnected and removed from the appliance.
- Cylinders must be stored outdoors in a well-ventilated area out of the reach of children. Disconnected cylinders must have threaded valve plugs tightly installed and must not be stored in a building, garage or any other enclosed areas. CSA (Canadian Standards Association) certified to ANSI Z21.97·CSA 2.41-2017 “Outdoor Decorative Gas Appliances”.

WARNING: Fuels used in liquefied propane gas appliances, and the products of combustion of such fuels, can expose you to chemicals including benzene, which is known to the State of California to cause cancer and cause birth defects or other reproductive harm. For more information go to: www.p65warnings.ca.gov.
Warranty
This warranty is for the original purchaser and applies to defects in materials and workmanship of your fire pit, provided your unit is maintained with care and used only for personal, residential purposes.
Frames are warranted to be free from defects in material or workmanship for two (2) years.
Exclusions: Items used for commercial, contract or other non-residential purposes, display models, items purchased “as is,” or items damaged due to acts of nature, vandalism, misuse or improper assembly are not covered. Discoloration or fading of the finish or fabrics as a result of exposure to the elements, chemicals or spills is not covered. Table top breakage, corrosion or rusting of hardware and damages to frames or welds caused by improper assembly, misuse or natural causes are not covered.
Pre-assembly
SPECIFICATIONS
| INPUT | 50,000 Btu/hr | 30,000 Btu/hr Low fire |
| Propane Regulator Pressure | 11 inches water column | |
| Clearances to combustible surfaces | Sides: 24in./61cm | Top: 60 in. / 152 cm |
PLANNING ASSEMBLY
NOTE: Read all instructions before assembly. To avoid damaging this product, assemble it on a soft, non-abrassive surface such as carpet or cardboard.
NOTE: More than one person may be required to assemble this product.
WARNING: Failure to position the parts in accordance with these diagrams or failure to use only parts specifically approved with this appliance may result in property damage or personal injury.
HARDWARE INCLUDED

NOTE: Hardware not shown to actual size.
| Part | Description | Quantity |
| AA | Bolt | 4 |
| BB | Gasket | 10 |
| CC | Bolt | 2 |
| DD | Bolt | 4 |
| EE | Bolt | 4 |
| FF | Gasket | 4 |
| GG | Bolt | 2 |
| HH | Allen key | 1 |
PACKAGE CONTENTS

| Part | Description | Quantity |
| A | Back panel | 1 |
| B | Left panel | 1 |
| C | Front panel | 1 |
| D | Right panel | 1 |
| E | Circular ring | 1 |
| F | Connecting rod | 1 |
| G | U-type connector | 1 |
| H | Tabletop | 1 |
| I | Fire glass | ~ |
| J | Lid | 1 |
Assembly
- Installing back panel and left panel
• Place parts on a soft, non-abrasive surface.
• Attach the left panel (B) to the back panel (A) with bolts (AA) and gaskets (BB).
• Do not tighten fully.
- Installing right panel
• Attach the front panel (C) to the other side of the left panel (B) with bolts (AA) and gaskets (BB).
- Installing circular ring
• Attach the circular ring (E) to the table door (D) with bolts (GG) and gaskets (BB).
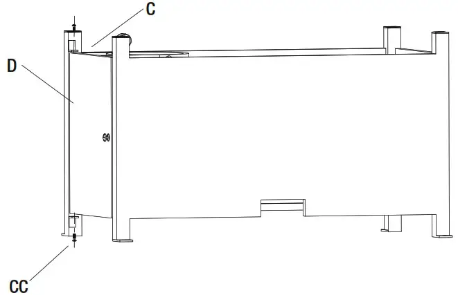
- Installing front panel
• Carefully turn the frame upside down.
• Attach the table door (D) to the front panel (C) with bolts (CC).
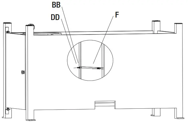
- Installing connecting rod
• Use connecting rod (F) to connect the front panel (D) with the back panel (A) together with bolts (DD) and gaskets (BB).
- Installing U-type connector
• Use U-type connector (G) to connect the front panel (D) with the back panel (A) together with bolts (DD) and gaskets (BB).
- Installing tabletop
• Place the tabletop (H) facing down on a non-abrasive surface.
• Attach the tabletop (H) to the frame with bolts (EE)
- Installing gas tank and battery
• With the help of other people, carefully turn the table over to an upright position.
• Position the liquid propane gas cylinder (not included) in the circular ring (E) on the table door (D) and tighten 90 degrees clockwise.
• Connect the gas pipe to the liquid propane gas cylinder. Hand tighten clockwise only.
• To disconnect the gas pipe from liquid propane gas cylinder, loosen the connector by turning it counterclockwise by hand.
• Open battery cap on control panel and install LR03 AAA batteries (not included).
- Closing the door and adding fire glass
• Add fire glass (I) to the fire bowl.
• The fire glass must be flat and must not cover up ignition protection box.
• To lock the door to the gas tank, press down on the doorknob and turn 90 degrees in the direction of the arrow.
• To open the door, reverse direction of the doorknob.
NOTE: Maximum recommended amount of fire glass (I) for use in the fire bowl is 5~5.5 kg.
- Placing the lid
• Place the lid (J) on the top of the fire bowl to complete the assembly.
Operation
BEFORE LIGHTING
- Fire pit should be thoroughly inspected before each use and by a qualified service person at least annually.
- If relighting a hot fire pit, always wait at least 5 minutes.
- Inspect the hose assembly for evidence of excessive abrasion, cuts, or wear. Suspected areas should be leak tested. If the hose leaks, it must be replaced prior to operation. Only use the replacement hose assembly specified by manufacturer. The burner must be replaced prior to the appliance being put into operation if it is evident that the burner is damaged. The replacement burner should be specified by manufacturer.
LIGHTING
- Remove the cover before lighting.
- Control knob must be in the OFF position.
- Connect and open propane cylinder (see manual).
- Push and turn control knob counterclockwise to LOW.
- Press the igniter button repeatedly to light burner.
- Press and hold control knob for 45 seconds after flame lights.
- If fire pit doesn’t ignite within a few seconds, push and turn the control knob clockwise to OFF, Fan with newspaper or magazine to ensure there is no propane gas in the fire bowl and inside of fire pit, Wait 5 minutes, repeat the lighting steps as outlined above.
- Adjust flame to desired level with the control knob.
- Lighting operations should comply with Lighting Instruction section.
- Improper lighting operations will cause serious injury and explosion.
FLAME CHARACTERISTIC
- Normally the burner flame is yellow.
- If the burner flame is blue and very small, please check the gas cylinder, as it may be low gas pressure or empty. If there is enough gas in the cylinder, please contact customer service to change the burner of the gas fire pit.
- If flames lift away from burner or backfire happens, or if the flames produce black smoke, the fire pit should be turned off immediately. The fire pit should not be operated again until the unit is serviced and/or repaired by a qualified service technician.
![]()
SHUTDOWN
- Push in and turn control knob clockwise to OFF position.
- Turn LP cylinder gas valve clockwise to OFF position when appliance is not in use.
CAUTION: The gas supply must be turned off at the LP gas supply cylinder when this appliance is not in use.
Leak Check
WARNING:
- Perform all leak tests outdoors.
- Extinguish all open flames.
- NEVER leak test when smoking.
- Do not use the fire pit until all connections have been leak tested and confirmed no leakage.

- Make 2-3 oz. of leak check solution (one part liquid dishwashing detergent and three parts water).
- Apply several drops of solution where hose attaches to regulator.
- Apply several drops of solution where regulator connects to cylinder.
- Make sure all fire pit and light valves are OFF.
- Turn cylinder valve ON.
If bubbles appear at any connection, there is a leak.
- Turn cylinder valve OFF.
- If leak is at hose/regulator connection: tighten connection and perform another leak test. If bubbles
continue appearing, the hose should be returned to the place of purchase. - If leak is at regulator/cylinder valve connection: disconnect, reconnect, and perform another leak check. If you continue to see bubbles after several attempts, cylinder valve is defective and should be returned to cylinder’s place of purchase.
- If NO bubbles appear at any connection, the connections are secure.
NOTE: Whenever gas connections are loosened or removed, you must perform a complete leak test.
CAUTION: Surfaces of fire pit can remain extremely hot for a period after use. Allow 45 minutes to cool down before touching or moving the fire pit.
Care and Maintenance
- Immediately remove any spot or stain.
- To clean, wash with a mild soap, rinse with water and let air dry.
- Do not use strong solvents or bleach as they may damage the surface.
- Use an outdoor cover to extend the life of the item.
![]()
HOMEDEPOT.COM/HOMEDECORATORS
Please contact 1-800-986-3460 for further assistance.

Questions, problems, missing parts? Before returning to the store, call Home Decorators Collection Customer Service
8 a.m. 7 p.m., EST, Monday Friday, 9 a.m. 6 p.m., EST, Saturday
1-800-986-3460
HOMEDEPOT.COM/HOMEDECORATORS
Retain this manual for future use.
Master No. 267946





























