52537 48 Inch Envirostone Gas Fire Pit
User Guide
52537 48 Inch Envirostone Gas Fire Pit
THANK YOU
We appreciate the trust and confidence you have placed in Home Decorators Collection through the purchase of this gas fire pit. We strive to continually create quality products designed to enhance your home. Visit us online to see our full line of products available for your home improvement needs. Thank you for choosing Home Decorators Collection!
Safety Information
DANGER: Before you assemble or operate this unit, please carefully read this entire manual. Failure to do so may result in a fire, explosion, injury or death.
DANGER: FIRE OR EXPLOSION HAZARD
If you smell gas:
- Shut off gas to the appliance.
- Extinguish any open flame.
- If odor continues, leave the area immediately.
- After leaving the area, call your gas supplier or fire department.
Failure to follow these instructions could result in fire or explosion, which could cause property damage, personal injury, or death.
WARNING: If the information in this manual is not followed exactly, a fire or explosion may result causing property damage, personal injury, or loss of life.
WARNING: For outdoor use only. Installation and service must be performed by a qualified installer, service agency, or the gas supplier.
DANGER: CARBON MONOXIDE HAZARD
This appliance can produce carbon monoxide which has no odor. Using it in an enclosed space can kill you. Never use this appliance in an enclosed space such as a camper, tent, car or home.
WARNING: Do not store or use gasoline or other flammable vapours and liquids in the vicinity of this or any other appliance. An LP cylinder not connected for use shall not be stored in the vicinity of this or any other appliance.
WARNING: Improper installation, adjustment, alteration, service or maintenance can cause property damage, personal injury or loss of life. Refer to the owner’s information manual provided with this appliance. Installation and service must be performed by a qualified installer, service agency, or the gas supplier.
INSTALLER: Leave this manual with the appliance.
CONSUMER: Retain this manual for future reference.
WARNING: Do not use this fire column for cooking.
WARNING: Do not burn any other materials than are supplied with and intended for use in this fire column.
WARNING: Do not pour water into fire column.
WARNING: The installation of this unit must adhere to local codes or Propane Storage and Handling Code, CSA B149.2
WARNING: Do not use this fire column if any part has been under water.
WARNING: Do not store a spare or disconnected propane cylinder under or near this fire column.
WARNING: After a period of storage, and/or non use, the propane fire column should be checked for gas leaks and burner obstructions before use.
WARNING: Do not operate the propane fire column if there is a gas leak present.
WARNING: Never use a flame to check for gas leaks.
WARNING: Combustible materials should not be within 60 inches of the top of the unit, or within 48 inches around the entire unit.
WARNING: Do not put any other fire column cover or anything flammable on, or beneath the fire column.
WARNING: The propane fire column should never be used by children. Children must be supervised when they are anywhere near the appliance.
WARNING: Pay attention when operating the fire column. It is hot when in use and should never be left unattended. Do not transport it while in operation.
WARNING: Should fire go out while burning, turn the gas valve off. Wait five minutes before attempting to relight, then follow instructions to light the fire column.
WARNING: Solid fuels shall not be burned in this appliance. Never place clothing or other flammable material on or near the fire column.
WARNING: Never lean over the open fire column or place hands or fingers on the upper portion of an operational unit.
WARNING: Keep ventilation openings in cylinder enclosure (fire column body) free and clear of debris.
WARNING: Do not rest feet on the fire column.
WARNING: Do not enlarge valve orifices or burner ports when cleaning the valve or burner.
WARNING: Propane gas is not natural gas. Use of natural gas in this unit is dangerous.
WARNING: The conversion or attempted use of natural gas in a propane unit is dangerous.
WARNING: Do not use this fire column on vehicles or boats. Always operate the appliance on flat ground outdoors.
WARNING: Keep any electrical supply cord and the fuel supply hose away from any heated surfaces.
WARNING: Do not use this fire column unless all parts are in place.
WARNING: Inspect the burner before each use of the appliance. If there is evidence of damage, the burner must be replaced prior to the appliance being put into operation. Use manufacturer-approved or supplied replacement burner only.
WARNING: FOR PROPANE GAS UNITS: The gas pressure regulator provided with the propane fire column must be used.
WARNING: Do not attempt to disconnect the gas regulator or any gas fitting while your fire column is in operation.
WARNING: A dented or rusty propane cylinder may be hazardous and should be checked by your gas supplier prior to use.
WARNING: Do not use a propane cylinder with a damaged valve and any other worn out parts.
WARNING: If you see, smell or hear the hiss of escaping gas from the propane cylinder: 1. Disconnect propane gas cylinder. 2. Do not attempt to correct the problem yourself. 3. Get to your gas supplier and/or the fire department for help.
WARNING: Any guard or other protective device removed for servicing this fire column must be replaced prior to operating this appliance.
WARNING: Maximum gas supply: 250 psi. Min. gas supply: 10 psi.
WARNING: This appliance is designed for use with a 20 lb (320 oz) propane gas cylinder (disposable). The propane cylinder must be constructed and marked in accordance with the specifications for gas cylinders of the U.S. Department of Transportation (DOT) or the National Standards of Canada, CAN/CSA-B339, Cylinders, Spheres and Tubes for Transportation of Dangerous Goods; and Commission, as applicable.
WARNING: Cylinders must be stored outdoors in well-vented areas out of the reach of children.
WARNING: Disconnected cylinders must have valve caps tightly installed and must not be stored in a building or any other enclosed area.
WARNING: Do not light or use gas unit if lava rocks are wet. Ensure lava rocks are completely dry before igniting.
WARNING: Pumice stones/lava rocks/Lava Glass® could hit somebody’s face or eyes during initial start of this unit, so please keep away from the fire column for the first 20 minutes after it has been ignited.
WARNING: During ignition procedure, one should NEVER get his/her face close to and or above the burner in case the flame may suddenly be lit up and cause injury.
WARNING: All installation and repair should be done by a qualified professional. This unit should be inspected annually and cleaned regularly.
WARNING: Children and adults should be alerted to the hazards of high surface temperatures and should stay away to avoid burns or clothing ignition.
WARNING: Young children should be carefully supervised when they are in the area of the appliance.
WARNING: Clothing or other flammable materials should not be hung from the appliance or placed on or near the appliance.
WARNING: Any guard or other protective device removed for servicing the appliance shall be replaced prior to operating the appliance.
WARNING: Installation and repair should be done by a qualified service person.
WARNING: The appliance should be inspected before use and at least annually by a qualified service person.
WARNING: More frequent cleaning may be required as necessary.
WARNING: It is imperative that the control compartment, burners and circulating airways of the appliance are kept clean.
WARNING: The cylinder should be disconnected when the appliance is not in use.
WARNING: Only use the regulator and hose assembly provided with this unit. Replacement parts must be supplied directly by manufacturer.
WARNING: Inspect the burner before use of this unit. If the burner shows any kind of damage, do not operate the appliance. For assistance with repair or replacement of the burner or any other parts, call customer service at 1-800-986-3460.
NOTE: You must follow all steps to properly assemble this heating item. Make sure the gas valve is turned “OFF” before assembling. Do NOT attempt to assemble without proper tools.
WARNING: FOR YOUR SAFETY. Surfaces of fire pit can remain extremely hot for a period after use. Allow 45 minutes to cool down before touching or moving the fire pit.
WARNING: FUELS USED IN LIQUEFIED PROPANE GAS APPLIANCES,AND THE PRODUCTS OF COMBUSTION OF SUCH FUELS, CAN EXPOSE YOU TO CHEMICALS INCLUDING BENZENE, WHICH IS KNOWN TO THE STATE OF CALIFORNIA TO CAUSE CANCER AND CAUSE BIRTH DEFECTS OR OTHER REPRODUCTIVE HARM. FOR MORE INFORMATION GO TO: www.P65warnings.Ca.Gov.
NOTE: You must follow all steps to properly assemble this heating item. Make sure the gas valve is turned ‘OFF’ before assembling. Do NOT attempt to assemble without proper tools.
- Combustible materials should not be within 60 inches of the top of the unit, or within 48 inches around the entire unit.
DANGER: Always place this outdoor fire pit on a hard, level, non-combustible surface such as concrete, rock or stone.

Warranty
1 YEAR LIMITED WARRANTY
WHAT IS COVERED
If within one year from the date of original purchase, this item fails due to a defect in material or workmanship, we will replace or repair at our option, free of charge.
WHAT IS NOT COVERED
This warranty does not cover defects resulting from improper or abnormal use, misuse, accident, or alteration. Failure to follow all instructions in the owner’s manual will also void this warranty. The manufacturer will not be liable for incidental or consequential damages, or common erosion of outdoor products. Some states do not allow the exclusion or limitation of incidental or consequential damages, so the above limitation or exclusion of incidental or consequential damages may not apply to you. This warranty gives you specific legal rights and you may also have other rights which vary from state to state.
Contact the Customer Service Team at 1-800-986-3460 or visit www.HOMEDEPOT.com/HOMEDECORATORS.
Pre-Assembly
PLANNING ASSEMBLY
Carefully remove all pieces from the carton and make sure that you have all parts listed (refer to package contents list). If you are missing parts, please contact 1-800-986-3460 for further assistance.
PACKAGE CONTENTS

| Part | Description | Quantity |
| A | Lid | 1 |
| B | Guard (preassembled) | 1 |
| C | Burner (preassembled) | 1 |
| D | Control Knob (preassembled) | 1 |
| E | Electronic Igniter (preassembled) | 1 |
| F | Body | 1 |
| G | Tank Holder | 1 |
| H | Lava Rocks | 2 bag (6 kg) |
| I | Touch-up pen | 2 |
| J | Battery (AAA) | 1 |
Assembly
- Selecting a location
□ Always place this outdoor fire pit on a hard, level noncombustible surface such as concrete, rock or stone.
□ Please ensure that the minimum clearances are maintained between the fire table and combustible surfaces (see below).
□ Position the fire table so that you have easy access to the control knob.
- Turning off the gas supply
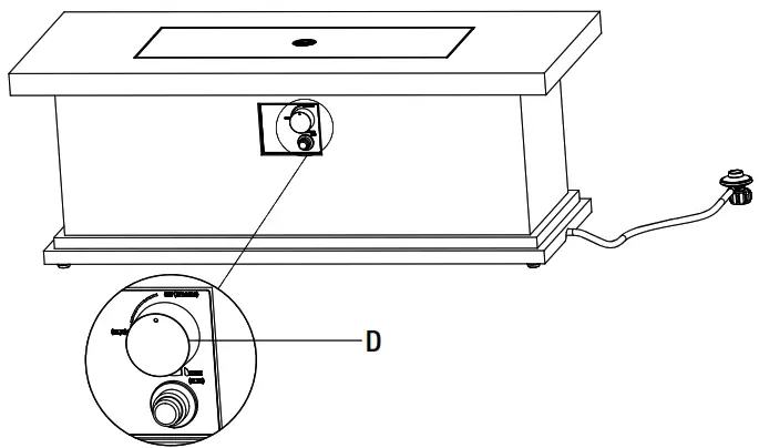
□ Check that the control knob (D) for the gas supply system is turned to the ‘OFF’ position before starting any assembly.
- Loading the battery
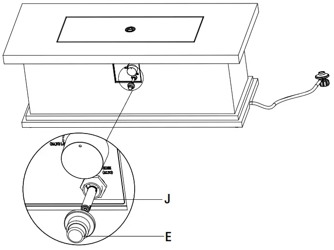
□ Remove the cap on the electronic igniter (E) by unscrewing the cap counterclockwise.
□ Slide battery (J) into the battery slot. Make sure the positive side of the battery faces outwards.
□ Screw the electronic igniter cap (E) over the battery tightly by turning the cap clockwise.
- Loading the propane tank
DANGER: Propane tank must be a minimum of 60 inches away at all times.
□ Put the 20 lb. propane gas tank (not included) into the tank holder (G).
□ Turn the wing screw on the outside of the tank holder (G) clockwise to tighten the tank into the tank holder (G).
- Connecting the regulator
□ Turn the cylinder valve on the tank clockwise to close the propane tank.
□ Attach the pre-assembled regulator from the body (F) to the cylinder valve by turning the regulator coupling nut clockwise.
□ Make sure it is fastened securely and tighten connections by hand only.
WARNING: Please inspect the rubber O-ring in the propane tank valve to ensure it is not worn before attaching regulator. Worn rubber O-ring can cause leaks, explosions and serious injury by propane tank.
- Adding the lava rocks
□ Pour the lava rocks (H) into the fire bowl.
WARNING: To ensure proper function, the guard (B) on the burner (C) should be free of lava rocks at all times.
Keep away from the unit and allow the unit to burn for 20 minutes for the first time use.
Always ensure that lava rocks/pumice stones/Lava Glass® are completely dry before use. Failure to do so will cause them to crack or pop.
WARNING: Do not use the fire pit without inspecting the gas hose. If there are signs of wear or abrasion you must replace the hose (if applicable).
WARNING: Flame should be a yellow/blue color and between 2 – 10 inches in height.
Operation
- Performing a leak test
□ Perform a leak test in a well ventilated area outside.
□ Make sure any open flames or cigarettes are extinguished.
□ Remove the battery (J).
□ Ensure the burner control knob (D) is in the “OFF” position.
□ In a bowl, create a soap solution using 1 part water and 1 part liquid detergent.
□ Apply the soapy water solution to all connections before attempting to light the fire table.
□ A gas leak will be detected by expanding bubbles originating from the point of the leak.
□ If a leak is found at any connection point or if you smell gas, close the tank valve, disconnect the tank and do not use the fire table until repairs can be made.
WARNING: Before performing a leak test, be sure that no sparks can occur and you are in a spacious outdoor area. Connect the propane gas tank to the regulator and turn the valve on the unit to the ‘OFF’ position. Brush a soap and water mixture on all connections. Turn the gas supply on; if bubbles occur on any connection there may be a leak. If you smell gas or a leak is discovered turn the gas valve off, disconnect propane gas tank and do not use the appliance until the leak is repaired. - Lighting the fire pit
WARNING: If the burner does not ignite with the burner control valve open, gas will continue to flow out of the burner and could accidentally ignite, causing injury or property damage.
□ Make sure the control knob (D) is in the ‘OFF’ position.
□ Slowly open the valve on the propane gas tank by turning the knob counterclockwise.
□ Push and hold in the electronic igniter (E).
□ While pressing in the electronic igniter, push in the control knob (D) and turn to the ‘LOW’ position. Hold down the control knob for 15 seconds.
□ If ignition does not occur within a few seconds, release the control knob (D) and turn it to the ‘OFF’ position. Wait for 5 minutes and then repeat the above steps.
□ Once the fire pit is lit, the flame intensity may be controlled by turning the control knob (D) between the ‘LOW’ and ‘HIGH’ positions.
- Extinguishing the fire
□ Turn the control knob (D) clockwise to the ‘LOW’ position. Let the control knob (D) pop up and continue turning the knob to the ‘OFF’ position.
□ Close the cylinder valve on the propane gas tank.
Maintenance
- Before performing any maintenance always disconnect the propane gas tank.
- Store your product indoors during winter months. Avoiding extreme cold temperatures will protect the unit from exposure damage.
- Keep the fire column free and clear from combustible materials.
- Visually inspect the burner for any obstructions and keep the tank enclosure free and clear from debris.
- Use a soft brush to get rid of mild stains, loose dirt and soil after the burner and pumice stones/lava rocks/LavaGlass® are completely cooled down. Wipe down with a soft cloth.
- Harsh weather conditions may cause stubborn stains, discoloration, and possible rust column ting.
- Permanent damage may occur if any powder or solvent comes in contact with painted or plastic components on this fire column.
- Keep the fire column stored away from direct sunlight.
- If storing this unit inside, disconnect the propane gas tank from the gas valve.
- Not using manufacturer approved or supplied parts/accessories may result in a defective condition and void the warranty of this fire column.
- Always place a lid (if applicable) or protective cover on the fire column when not in use.
Care and Cleaning
- Clean any spills immediately to prevent permanent surface staining or damage.
- Blot any liquid spills with a clean, dry cloth to avoid spreading the spill to the rest of the table.
- Clean your Envirostone® surface with a soft, clean cloth or sponge.
- Mix a solution of warm, clean water and mild dish soap to remove any surface dirt or mild spills.
- Rinse all soap solution off of the tabletop and dry it completely to prevent water spots.
- Regularly cleaning the Envirostone® surface will help extend the life of the product.
- Do not use petroleum-based or abrasive cleaning products. Do not use any harsh brushes when cleaning the Envirostone® surface.
- To avoid scratches and damage, do not slide products across the Envirostone® surface.
- Always use protective mats such as coasters or placemats when eating on an Envirostone® surface.
- The Envirostone® surface must be covered at all times when not in use. Cover your product with an outdoor furniture cover when not in use to protect it from the elements. Store your product indoors during winter months. Exposure to extreme cold temperatures could result in cracks on the tabletop.
Troubleshooting
| Problem | Cause | Solution |
| Fire pit won’t light. | □ Igniter pin and burner are wet. | □ Dry off with a soft cloth. |
| □ Igniter battery is incorrectly inserted. | □ Check which direction the battery is inserted. | |
| □ Igniter pin is broken. | □ Contact manufacturer for a replacement part. | |
| □ Electrode wire is loose or disconnected. | □ Reconnect wire to the igniter box located inside the unit behind the igniter box. | |
| □ Electrode wire is shorting between valve and igniter pin. | □ Contact manufacturer for a replacement part. | |
| Burner won’t light while using a match. | □ No gas flow. | □ Check that the gas tank isn’t empty. |
| □ Regulator isn’t connected securely to the tank. | □ Tighten regulator connection to the gas tank. | |
| □ Gas flow is obstructed. | □ Check all hoses for kinks and bends. | |
| □ Burner ports are clogged. | □ Turn all gas flow connections off. Insert an opened paperclip (or similar item) into each of the burner ports to clear them out. | |
| Fire pit emits a lot of black smoke. | □ Flame is obstructed at burner ports. | □ Check that all burner ports are free of any small lava rocks/pumice stones/LavaGlass® pieces. |
| □ Regulator hose is kinked. | □ Straighten hose of all bends or kinks. | |
| Sudden drop in gas flow. | □ No gas flow. | □ Check that the gas tank isn’t empty. |
| □ Excess flow safety valve has been activated. | □ Turn the control knob to the ‘OFF position. Close the tank valve and disconnect propane gas tank. Turn the control knob to ‘HIGH’; wait 1 minute. Turn the control knob back to the ‘OFF’ position. Reconnect propane gas tank. Light the fire unit as indicated in the ‘To Light’ section of this manual. | |
| Flame blows out easily. | □ High or gusting winds. | □ Increase flame to ‘HIGH’. |
| □ No gas flow. | □ Check that the gas tank isn’t empty. | |
| □ Excess flow safety valve has been activated. | □ See ‘sudden drop in gas flow’ above. |
Service Parts

| Part | Description | Spare Part Number |
| A | Lid | 30-07-914-B |
| K | Fire bowl | 30-07-915-B |
| C | Burner | 30-07-917-B |
| L | Ignition pin | 30-07-918-B |
| M | Thermocouple | 30-07-919-B |
| D | Control knob | 30-07-924-B |
| E | Pulse igniter | 30-07-925-B |
| N | Valve | 30-07-926-B |
| O | Regulator | 30-07-927-B |
| P | Foot | 30-07-679-B |
| G | Tank Holder | 30-07-755-B |
| I | Touch-up pen | 30-07-903-B |
| H | Lava Rocks (2 bag) 6KG | 30-07-928-B |
Questions, problems, missing parts?
Before returning to the store, call Home Decorators Collection Customer Service
8 a.m. – 7 p.m., EST, Monday – Friday, 9 a.m.- 6 p.m., EST, Saturday
1-800-986-3460
HOMEDEPOT.COM/HOMEDECORATORS
Conserve este manual para futures consults.



























