VENTECH Barometric Fresh Air Damper User Manual
General Notes
- Revised and/or additional pages may be issued from time to time.
- A complete and current manual consists of pages shown in the following contents section.
Important
- Contact the installing and/or local Bard distributor for all parts requirements. Make sure to have the complete model and serial number available from the unit rating plates.
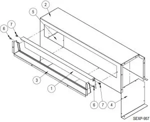
FRESH AIR DAMPER ASSEMBLY

| No. | Part No. | Description | AD-BE2 | FAD-BE3 |
| 1 | 139-041 | Damper Blade | X | |
| 1 | 139-048 | Damper Blade | X | |
| 2 | 139-040 | FAD Wrapper | X | |
| 2 | 139-049 | FAD Wrapper | X | |
| 3 | 138-390 | Isolation Plate | X | |
| 3 | 138-391 | Isolation Plate | X | |
| 4 | 8611-057 | Bushing | 2 | 2 |
| 5 | 8611-059 | Canoe Clip | 2 | 2 |
EXHAUST DAMPER ASSEMBLY

| No. | Part No | Description | FAD-BE2 | FAD-BE3 |
| 1 | 139-402 | Damper Blade | X | |
| 1 | 139-380 | Damper Blade | X | |
| 2 | 139-389 | Wrapper | X | |
| 2 | 139-379 | Wrapper | X | |
| 3 | 113-713 | Air Blade Bracket | X | |
| 3 | 113-706 | Air Blade Bracket | X | |
| 4 | 139Y381 | Left End | X | X |
| 5 | 139X381 | Right End | X | X |
| 6 | 8611-059 | Canoe Clip | 2 | 2 |
| 7 | 8611-057 | Bushing | 2 | 2 |
| NS | 136-664 | Cover Plate | X | |
| NS | 136-751 | Cover Plate | X |















