Alza M-Style Spine Mobile Phone Holder

SPINE mobile phone holder installation manual
- Attach the dampening rubber sticker to the front side of the mobile phone holder body.
The rubber sticker fits exactly into the groove in the front side of the holder body.
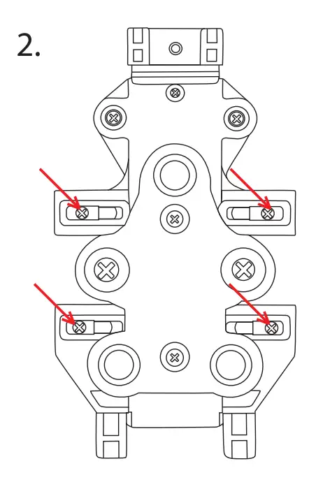
- Loosen the side clamp screws and move the clamps all the way to side of your phone before tightening the screws again.
Use this to set the width of the phone holder to fit size your mobile phone. If your mobile phone has buttons on the side where the clamp could accidentally push the button leave bit of space between the button and the clamp instead. If the position of the clamp prevents you from using the button it can be entirely removed by removing the screw. We do not recommend removing both clamps on one side of the phone holder as this might affect grip on the phone which could fall out.
- Only for SPINE without the shock absorber: Attach the diamond-shaped bracket with ball.
For SPINE with shock absorber instead of attaching the diamond-shaped bracket with ball continue with the shock absorber installation steps bellow. Warning! Once the shock absorber is installed the screws used to set width of the mobile phone holder will become inaccessible without removal of the shock absorber. Make sure to set the width accordingly as described in this manual before installing the shock absorber.
- Attach chosen adapter and mount.
The mount installation is very simple and dependent on chosen type of the mount and adapter. In case of the most popular T ball it is only needed to choose from smaller or larger sleeve depending on handlebar diameter of the motorcycle then choose fitting insert and a fix it to the body of the T ball mount with included nuts. Once attached to handlebars insert both balls into the mounting clamp and tighten it accordingly. If you require further information or assistance search for the chosen mount on our shop www.mstylemoto.com where you’ll find installation diagrams for every type of mount.

Shock absorber installation manual
- Attach bottom plate of the shock absorber as shown in hg. 1:
If attached to body of the holder remove the diamond-shaped bracket with the ball and attach the bottom plate of the shock absorber (7) to the same spot using nylon washers (3) and screws (1) and tighten the screws accordingly.
- Attach the diamond-shaped bracket with ball as shown in hg. 2:
The diamond-shaped bracket with ball can now be attached to the top plate of the shock absorber (6) using the same screws and nuts and tighten the screws accordingly.
- Assemble top and bottom shock absorber plates as shown in hg. 3:
Place both plates together as shown in the picture 3, tips of the silicone pads (4) should extend freely through top plate mounting holes. Grab firmly tip of the silicone pad (4) and pull until the ring of the pad fully passes through the mounting hole. Repeat with all four pads. Once finished both plates should be firmly attached together.

- Ahx the whole assembly with short screws (5)
Optionally small amount of the blue screw glue can be used to prevent the screws from loosening over time.
| Order | name | quantity |
① | Screw | 2 |
② | Nut | 4 |
③ | shim | 2 |
④ | Rubber sleeve | 4 |
⑤ | Screw | 2 |
⑥ | Top cover | 1 |
⑦ | Bottom cover | 1 |
![]() | ||
note A
Once the shock absorber is installed the screws used to set width of the mobile phone holder will become inaccessible without removal of the shock absorber. Make sure to set the width accordingly as described in this manual before installing the shock absorber.





























