Inrico I-10 Body Worn Camera
Unpacking and Device Checking
Please unbox and take out the device and all accessories carefully, and ensure all lists have been gotten before discarding the cardboard box. If any items are lost or damaged in transit, please contact with our distributors.
| Items | Number |
| Body Worn Camera | 1 |
| Lithium Battery | 1 |
| Power Adaptor | 1 |
| USB Charging Cable | 1 |
| Shoulder Clip | 1 |
| Belt Clip | 1 |
| Charger | 1 |
| User Manual | 1 |
Handling Precautions
Do not overcharge the battery
Please stop charging if it can’t be fully charged within the required time. The battery probably overheats, smokes, bursts or suddenly be on fire due to abnormal charging process.
Do not discard batteries in a fire, microwave, or high-pressure container
The battery probably overheats, smokes, bursts, or suddenly be on fire.
Do not expose the damaged battery near any fire
If the battery is broken, leaking or with an abnormal odor, please remove it from flammable areas immediately. The fluid in the battery is flammable, which may cause smoke and fire.
Do not use abnormal battery
If the battery is with odd smelly, discolored, deformed, etc., please stop charging immediately.
Please use authorized power adaptor
To comply with warranty terms and avoid damages, charge the battery using a specified charger for best performance.
Desktop charging
The desktop charger must be away from the flammable places. Please make sure the radio working properly and without any damage while charging, do not put the radio into the charger’s socket if no need of charging.
Battery Care
Fully Charge Battery Before Initial Use
- Do preserve battery life by switching off a device and removing the batteries when it’s not being used, and is not expected to be used for extended periods of time.
- Do practice proper battery storage by keeping batteries in a cool, dry place at normal room temperature.
Properly Store Batteries
- Remove the battery from the device.
- Charge and discharge the battery to 40%-65% if it will not be used for 10 days or more. This can greatly extend the battery life.
- The battery should drop below 65% when it is idle for more than 10 days to prevent it from swelling.
Store the battery in cool and dry environment that’s less than 25°C.
Features of Lithium Battery
- Battery capacity will reduce after multiple charging cycles.
- The battery capacity drops gradually even without being used.
- Longer charging time is required in shady place.
- Charging and storing Lithium battery in warm condition will short its lifespan. Please do not leave them inside the vehicle or near the heater.
If the battery working time has reduced significantly, please replace the battery immediately in avoidance of fluid leakage.
Lithium Battery Charging
- Connect the device with an AC adapter, power on, the LED turns to red.
- The LED shows green of fully charged.
- The LED is off under high operating temperature, poor contact, or battery damage.
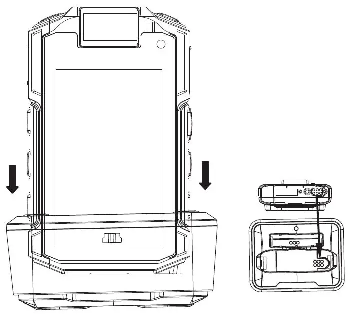
Charging
Desktop Charger
- When using the charger, please place it on a flat surface away from flammable materials.
- Please put it into the desktop charger port as to the instruction diagram, and make sure the device is safe during charging.
- Please do not place it into the desktop charger when not charging.

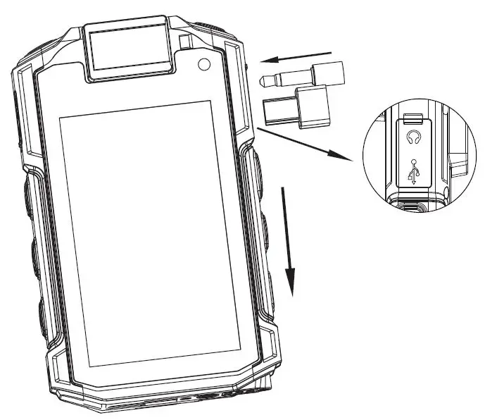
USB Charging
Align the micro USB cable with the device and insert to the power adaptor. The LED indicator will light up during charging.
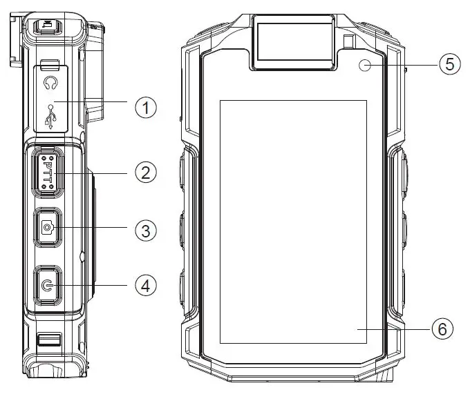
Product Overview


| 1 | Earpiece/ USB Interface | 15 | Infrared Light |
| 2 | PTT | 16 | Rear Camera |
| 3 | Take Photo Button | 17 | Status Indicator |
| 4 | Power Button | 18 | Battery Fixed Buckle |
| 5 | Front Camera | 19 | Video Record Button |
| 6 | Screen | 20 | MIC |
| 7 | Charging Interface | 21 | Light Sensor |
| 8 | Rotary Knob | 22 | Flashlight |
| 9 | Microphone | 23 | Wide-angle Camera |
| 10 | Video Record Button | 24 | Warning Light |
| 11 | Status Indicator | 25 | SIM Card |
| 12 | Speaker | 26 | Volume+ |
| 13 | SOS Button | 27 | Recording/ Volume- |
| 14 | Laser Light | 28 | Light |
Basic Functions
| Button | Name | Description |
![]() | SOS Button | ● Long press to notify the command caeuntotemr aatnicdaullpy. load video to the server ● Short press to mark the video as important. |
![]() | Video Record Button | Pshreosrst pthresvsidtoeostbouptdtounritnogrreeccoorrddvinidge. o, |
![]() | Volume+ Button | Pvorelusms veo.lume+ button to increase the |
![]() | Audio Recording/ Volume- Button | ● Press the recording button to start recording, and long press to stop. ● Short press to reduce the volume. |
![]() |
Light Button | ● Long press to start alarm light flashing, long press again to turn it off. ● Double-click quickly to start the laser lamp, double click again to turn it off. ● Short press to turn on or turn off night shooting. |
![]() | PTT Button | PrRerleesasstehiet tPoTlTisbteuntt.on to call andhe permmairsks:ioTnhifsrofumncthtieoncormeqmuiarneds tcenter. |
![]() | Camera Button | ● Short press to take a picture. ● Long press to turn on flashlight. |
![]()
|
Power Button | ● When the device is power off, long press 2s to start. ● When the device is power on, press to sperolemctpstheudt.down or restart options as ● Long press 8s to restart the system forcibly. |
Accessories Installation
Insert NANO-size SIM card
Insert the SIM card into the SIM card slot on the left of the device.
Attaching/ Removing the Belt Clip
- Align the belt clip with the grooves on the device, insert, rotate 90°clockwise and tighten it.
- Rotate 90°counterclockwise to remove the belt clip.

Attaching/ Removing the Shoulder Clip
- Align the shoulder clip with the grooves on the device, press it downwards until it clicks.
- Touch the plectrum to pull out the shoulder clip.

Attaching/ Removing the Shoulder Clip
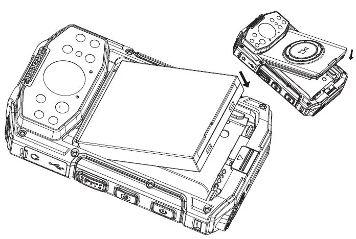
- Touch the cover plectrum and remove the battery cover buckle.
- Align the electrical contact of the battery with the bottom rails.
- Press the battery firmly, make sure the electrical connection touch with the bottom.
- Close the battery cover and lock the battery cover buckle.

Basic functions
Powering Up and Powering Off the Device
- Power On: Long press the power button for 3 seconds and the program will start.
- Power Off: Long press the power button for 3 seconds. If the device is on charging, indicators will be in red and display the current battery level.
User Log-in
After the user log in successfully, user ID will be broadcast.
Initiate a Call
- Press PTT button and start to talk.
- The LED light is solid red during transmitting and receiving.
- The LED light is solid green during idle state.
- The call ends automatically once it lasts more than 60 seconds, which could be set to 1-60 seconds by APP.
Night Vision Mode
Night mode automatically turns on when the camera detects a low-light environment.
Status Indicators
| LED Indicator | Working Status | Remark |
| Blinking Red | Low power less than 15% | Flash 3S/time |
|
Solid Red | The device is transmitting. | |
| The device is calling. | ||
| The device is charging. | ||
| Solid Green | Normal standby | |
| Fully charged |
Operating Instructions
Operation Interface
Preview Interface: Turn on the device and show the preview interface. Press the “return virtual-key” to enter the main interface.
Function Menus:
There are 6 function menus in the main interface, click the corresponding menu to access related functions.
Setting:
GPS, WIFI, Bluetooth, Language, Time and Date, Night Vision Mode, etc.
Multimedia Playback:
View videos, pictures, and recordings.
Network Connecting
WIFI Connecting
Turn on the device, click “Settings ”, touch and hold make sure Wi-Fi is turned on. Select the wireless network and enter the password to connect.
Cellular Network Connecting
Open “Settings”, tap on ‘Cellular Network’, select the one that you need to connect.
Stop Running Non-systematic APP
Select “Settings” → Apps → Confirm the APP required→ FORCE STOP
Basic Troubleshooting
If your device shows the following problem during operation, please check the instruction below. If problems can’t be solved, please contact the local authorized service.
| Problems Solutions | |
|
Unable to Power On | The battery maybe incorrectly installed. – Re-attaching the battery. |
| The battery maybe out of power. – Charge or replace the battery. | |
| The battery may be in poor contact due to dirty or damage. – Clean the electrical contact or replace it. | |
| Terminal Crash | Too much APPS on processing. – Force some programs to quit or restart the terminal. |
| Buttons Not Working | The buttons may not work temporarily, restart the terminal. |
| The buttons is broken, contact the dealer or our company. | |
| White Screen Error | Display screen may not work temporarily, restart the device. |
| The display screen is damaged, contact the dealer or our company. | |
| Echo or Noise During Connecting | The signal may be weak, make sure the terminal is within network coverage. – Restart the radio and it’ll automatically search for better available network. |
| The speaker may be covered, clean the speaker surface. | |
| Unable to Locate | The signal is weak and the radio can’t receive the signal. – Move to open and flat area and try again. |
| Unable to Detect SIM Card | The SIM card may be incorrectly installed. – Remove and re-insert the SIM card. |
| Localized poor coverage due to basement, blocking buildings or destructive interference, and geographical distance from obstacles between your radio and the nearest cell tower. – Please move to somewhere with improved signal. | |
| Poor Reception | Localized network is busy during rush hours. – Please wait for a while before another attempt or try to avoid using in rush hours. |
| The SIM card may be not working due to dirt or damage. – Clean the electrical contact or replace it. | |
| Unable to Charge | The power adapter plug may be damaged or poor contacting. – Pull out and re-plug the adapter. |
| The charging cable connectors may be damaged or poor contact. – Pull out and re-insert the cable. | |
| Less Duration | The duration mostly depends on network service provider settings. |
| Shorter Standby Time | The battery life becomes shorter in high temperature environment. – Replace a new qualified battery. |
| Power consumption increased in areas with weak signal. – Please temporarily turn off the device. | |
|
Can’t Connect to Network | The SIM card cannot work properly or cannot be used. – Make sure the SIM card has a balance instead of arrears. |
| The mobile network not available. – Select SIM card network, and contact the operator to activate the cellular network. | |
| In areas with poor signal, out of network service, or SIM card is not effective. – Remove the SIM cards, and reinsert them properly, or change another one. Move to somewhere with better network signal or go to the window if you are in the building. |
Specification
| OS | Android 8.1 |
|
Frequency | GSM:850/900/1800/1900 |
| WCDMA:850/900/1900/2100/1700 | |
| FDD:B1/B2/B3/B4/B5/B7/B8/B17/B20/B28AB | |
| TDD:B34/B38/B39/B40/B41 | |
| CPU | MT6762 Octa-core 2.0GHz processor |
| Memory | RAM 2GB+ROM 16GB(ROM) |
| Working Voltage | 3.8 |
| Display | 3.1inch, 480×800 |
| Camera | Front Camera: 5.0MP Rear Camera: 13.0MP Wide-angle Camera: 4.0MP |
| Viewing Angle | 117 ° |
| Support | WIFI BT NFC LTE |
| BDS GPS AGPS GLOONASS | |
| Dimension (H*W*D) | 102.7*62.4*26.5mm |
| Weight | ≈ 175g (without belt clip) |
| Working Temperature | -20°C +55°C |
| Storage Temperature | -40°C ~ +70°C |
FCC Statment
An y Changes or modifications not expressly approved by the party responsible for compliance could void the user’s authority to operate the equipment. This device complies with part 15 of the FCC Rules. Operation is subject to the following two conditions: (1) This device may not cause harmful interference, and (2) this device must accept any interference received, including interference that may cause undesired operation.
IMPORTANT NOTE:
Note: This equipment has been tested and found to comply with the limits for a Class B digital device, pursuant to part 15 of the FCC Rules. These limits are designed to provide reasonable protection against harmful interference in a residential installation. This equipment generates, uses and can radiate radio frequency energy and, if not installed and used in accordance with the instructions, may cause harmful interference to radio communications. However, there is no guarantee that interference will not occur in a particular installation. If this equipment does cause harmful interference to radio or television reception, which can be determined by turning the equipment off and on, the user is encouraged to try to correct the interference by one or more of the following measures:
- Reorient or relocate the receiving antenna.
- Increase the separation between the equipment and receiver.
- Connect the equipment into an outlet on a circuit different from that to which the receiver is connected.
- Consult the dealer or an experienced radio/TV technician for help.
FCC Radiation Exposure Statement:
The device has been tested and complies with FCC SAR limits


























