Knightsbridge TORI5F4K Outdoor Linear Batten Lights

Product Information
The product is the TORIxF4K, a lighting fixture manufactured by ML Accessories Ltd. It contains a nonreplaceable LED light source and a nonreplaceable control gear. The product is energy-efficient, classified as energy efficiency class C according to Regulation (EU) No. 2019/2015 and (UK) 2021 No. 1095.
Product Usage Instructions
- Read the installation and maintenance manual carefully and keep it for future reference.
- Ensure safety precautions are followed during installation and maintenance.
- Use these instructions for installing TORI5F4K or TORI6F4K.
- Installation:
- Refer to Fig. 1 for the installation process.
- Insert the product into the designated hole until it appears out of the side hole (see Fig. 2).
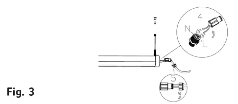
- Follow the instructions in Fig. 3 for further installation steps.
- Safety Precautions:
- Disconnect the product from the circuit before subjecting it to high voltage or insulation resistance testing to prevent irreparable damage.
- Maintenance:
- Clean the external surfaces of the product using a damp cloth and a mild solution of detergent and warm water only. Do not use aggressive cleaning products or solvents that may damage the product.
- The product is non-dimmable.
- Dismantle the product for disposal when it reaches the end of its life. Refer to the website for dismantling instructions.
- Recycle the product properly when it reaches the end of its life. Check with local authorities for available recycling facilities.
- Warranty:
The product comes with a warranty. For warranty details, contact the supplier:
- Supplier (UK): ML Accessories Ltd, Unit E Chiltern Park, Boscombe Road, Dunstable LU5 4LT, website: www.mlaccessories.co.uk
- Authorised Representative (EU): nnuks Holding GmbH, Niederkasseler Lohweg 18, email: [email protected]
Additional Information:
The product is made in China.
GENERAL INSTRUCTIONS
These instructions should be read carefully and retained after installation by the end user for future reference and maintenance.
These instructions should be used to aid installation of the following products: TORI5F4K / TORI6F4K
SAFETY
- This product must be installed in accordance with the latest edition of the IEE Wiring Regulations (BS7671) and current Building Regulations. If in any doubt, consult a qualified electrician
- Please isolate mains prior to installation or maintenance
- Check the total load on the circuit (including when this luminaire is fitted) does not exceed the rating of the circuit cable, fuse, or circuit breaker
- Please note the IP (Ingress Protection) rating of this product when deciding the location for installation
- This product is Class II double insulated
- This product is IP68 rated
** Product is not designed to be submerged in water
INSTALLATION
Note
- If this luminaire is being used in conjunction with an external PIR or sensor, please confirm with the manufacturer of the sensors that they are compatible with LED luminaires.
- Provide power to the required point of installation (refer to BS7671 for correct cabling methods). Suitable IP rated junction boxes should be used where required
- Unscrew the cable retainer from each of the ceiling fixings (see Fig. 1)
- Fix the ceiling fixings to the ceiling using suitable screws and plugs (see Fig. 2)
- Thread the cables through the cable retainers, and screw the cable retainers back into the ceiling fixings (see Fig. 2)

- Push each cable hanging from the ceiling fixings into one of the adjustment connectors until it appears out of the hole in the side (see Fig. 2)
- Attach the suspension cable to the eyelet on the luminaire
- Round cable should be used for the mains supply. The use of flat cable will cause water ingress to the fitting
- Feed the cable through the compression gland on the side of the luminaire
- Connect the luminaire to the mains supply ensuring the correct polarity is observed (see Fig. 3): L – Live (brown) and N – Neutral (blue)

- Tighten the compression gland ensuring a tight seal is made
- Switch on and check for correct operation
WARNING: This product must be disconnected from the circuit if subjected to any high voltage or insulation resistance testing. Irreparable damage will occur if this instruction is not followed.
GENERAL
- This product contains a light source of energy efficiency class C to Regulation (EU) No. 2019/2015 and (UK) 2021 No. 1095.
- This product contains a nonreplaceable LED light source and a nonreplaceable control gear.

Clean the external surfaces with a damp cloth using a mild solution of detergent and warm water only, do not use aggressive cleaning products or solvents that may damage the product.
- This product is non-dimmable.
- This product should be dismantled for disposal when it reaches the end of its life. Please see website for dismantling instructions
- This product should be recycled in the correct manner when it reaches the end of its life. Check local authorities for where facilities exist.
WARRANTY
This product has a warranty of 5 years from the date of purchase. Failure to install this product in accordance with the current edition of the IEE Wiring Regulations (BS7671), improper use, or removal of the batch code will invalidate the warranty. If this product should fail within its warranty period, it should be returned to the place of purchase for a free of charge replacement. ML Accessories does not accept responsibility for any installation costs associated with the replacement product. Your statutory rights are not affected. ML Accessories reserve the right to alter product specification without prior notice.
Supplied By
- (UK) Manufacturer
- ML Accessories Ltd, Unit E Chiltern Park, Boscombe Road, Dunstable LU5 4LT, www.mlaccessories.co.uk
- (EU) Authorised Representative
- nnuks Holding GmbH, Niederkasseler Lohweg 18, 40547 Düsseldorf, Germany, www.nnuks.com
- Email: [email protected]
- Made in China






















