Knightsbridge SPIKE5A 6 Watt LED Integrated Garden Spike Light Installation Guide

GENERAL INSTRUCTIONS
These instructions should be read carefully and retained by the end-user after installation for future reference and maintenance. These instructions should be used to aid the installation of the following product: SPIKE5A
SAFETY
- This product must be installed in accordance with the latest edition of the IEE Wiring Regulations (BS7671) and current Building Regulations. If in any doubt, consult a qualified electrician
- Please isolate mains prior to installation or maintenance
- Check the total load on the circuit (including when this luminaire is fitted) does not exceed the rating of the circuit cable, fuse or circuit breaker
- Please note the IP (Ingress Protection) rating of this luminaire when deciding the location for installation
- This product is Class I and must be earthed · This product is IP65 rated
INSTALLATION
Note – If this product is being used in conjunction with an external PIR or sensor, please confirm with the manufacturer of the sensors that they are compatible with LED luminaires.
- Provide power to the required point of installation (refer to BS7671 for correct cabling methods). Suitable IP rated junction boxes should be used where required
- The power source connections should be local and accessible via a suitable IP rated enclosure
- Choose a position for the luminaire ensuring the ground is suitable to firmly hold the spike and luminaire in position. Check the ground is not liable to flooding and the spike does not infringe with any underground pipes or cables (see Fig. 1)

- The body of the product should not rest directly on the ground
- The preinstalled cable supplied is for above-ground use only. Cables that are to be routed within walls or
below ground must be protected by means of suitable conduit or trucking (see Fig. 2) · ·

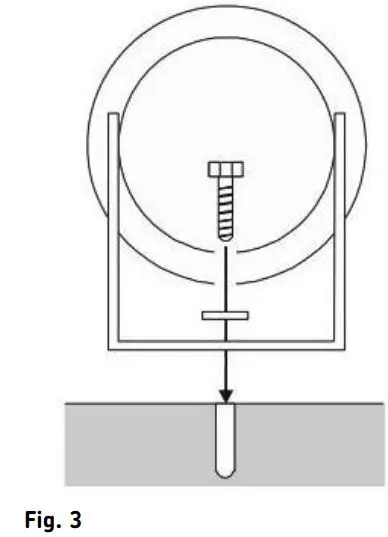
- For wall mounting, using the bracket as a template, mark the location for, and drill the fixing holes ensuring not to infringe with any gas/water pipes or electrical cables (see Fig. 3)

- Connect the luminaire to the mains supply ensuring the correct polarity is observed: L Live (brown), E Earth (green/yellow), N Neutral (blue)
- Switch on and check for correct operation
WARNING
This luminaire must be disconnected from the circuit if subjected to any high voltage or insulation resistance testing. Irreparable damage will occur if this instruction is not followed. This product is not suitable for installation in or near a coastal or marine environment.
GENERAL
The light source of this luminaire is not replaceable; when the light source reaches its end of life the whole luminaire should be replaced. Clean the external surfaces with a damp cloth using a mild solution of detergent and warm water only, do not use aggressive cleaning products or solvents which may damage the product. Do not use any source of high-pressure washers to maintain or clean this product. A light film of acid free oil is recommended after installation and maintained periodically (2-3 times a year) to aid corrosion prevention. This product is non-dimmable. This product should be recycled in the correct manner when it reaches the end of its life. Check local authorities for where facilities exist.
WARRANTY
This product has a warranty of 2 years from the date of purchase. Failure to install this product in accordance with the current edition of the IEE Wiring Regulations (BS7671), improper use, or removal of the batch code will invalidate the warranty. If this product should fail within its warranty period, it should be returned to the place of purchase for a free of charge replacement. ML Accessories does not accept responsibility for any installation costs associated with the replacement product. Your statutory rights are not affected. ML Accessories reserve the right to alter product specification without prior notice.

![]()
Accessories Limited LU5 4LT
www.mlaccessories.co.uk



















