SECO-LARM E-941DA-1K2Q Double-Door Electromagnetic Locks Instruction Manual
| Model | Holding Force† | Material |
| E-941DA-600Q | 600-lb. (272kg) x2 | Anodized aluminum |
| E-941DA-1K2Q | 1200-lb. (545kg) x2 | Anodized aluminum |
| E-941DA-600PQ* | 600-lb. (272kg) x2 | Anodized aluminum |
| E-941DA-1K2P* | 1200-lb. (545kg) x2 | Anodized aluminum |
With status LED and bond sensor
Holding force has not been verified by UL
- MOV surge protection
- Adjustable mounting bracket
- Complete mounting hardware for typical installations
- “L” bracket and “Z” brackets available for easy mounting
- Detachable faceplate
- 12/24VDC selectable
NOTES
- UL294 Indoor use
- The power for the E-941DA series is to be provided by a Listed (UL294 or UL603) Class 2 power supply.
- The E-941DA series is intended to be used as an access control system accessory, which is installed in accordance with the manufacturer’s installation and operation instructions, ANSI/NFPA 70 and the local authority having jurisdiction.
- The minimum permissible wire size to be used shall not be less than 22AWG
Parts List
- 1x Mounting plate
- 2x Armature plate
- 4x Short self-tapping screws
- 2x Door spacer
- 1x Electromagnet
- 2x Armature screw
- 8x Long self-tapping screws
- 2x Sexnut bolt
- 4x Steel washers
- 2x Rubber washer
- 4x Hex-head mounting screws
- 4x Guide pins
- 4x Tamper caps
- 1x Allen wrench
Specifications
| Holding Force | 600-lb x2 | 1,200-lb. x2 | |
| Operating voltage | 12/24 VDC | ||
| Current draw | 12VDC | 500mA@12VDC per door (1A total) | |
| 24VDC | 250mA@24VDC per door (500mA total) | ||
| Bond sensor relay | 3A@12VDC | ||
| Dimensions | Magnet | 1911/16“x11/16“x15/8” (500x26x40 mm) | 21″x15/8“x25/8” (536x42x67 mm) |
| Armature | 71/4“x1/2“x11/2” (185x12x38 mm) | 71/4“x5/8“x23/8” (185x16x61 mm) | |
| Operating temperature | 32°~120° F (0°~49° C) | ||
| Weight | 9-lbs. (4kg) | 21-lbs. (10kg) | |
| Destructive attack | Level I | ||
| Line security | Level I | ||
| Standby power | Level I | ||
| Endurance | Level IV | ||
Overview

Installation Applications
- When mounting the electromagnets, it may be necessary to use a “Z”-bracket, 1 or 2 “L”-brackets, and/or plate spacers, depending on the location and the type of doors and frame.
- Use the diagram below to help decide whether or not an optional bracket will be necessary for installation.

Installation Notes
- Read this installation manual thoroughly. A clear understanding of the product and this manual will make installation much easier.
- The electromagnetic locks are designed for indoor use ONLY.
- The most suitable mounting location for the electromagnetic locks may require the use of additional SECO-LARM accessories such as Z-brackets, L-brackets,= and/or spacer plates.
- Do not run power wires and signal wires in the same conduit as this may cause interference.
- Do not install a diode in parallel with the electromagnetic locks as this may cause a delay when releasing the door as well as cause residual magnetism.
- The best location to install the electromagnetic locks is on the inside of the doors that are being secured with the wiring concealed in the frame to prevent tampering with the unit.
- The minimum permissible wire size to be used shall not be less than 22AWG
Installation
- Fold the mounting template along the dotted line to form a 90-degree angle.

- Close the doors. Find a mounting location on the center of the door frame, directly above where both doors meet when closed.

- Place the template against the door and frame. Mark where the holes are to be drilled.

- Drill four holes in the frame and six holes in the door as shown on the template.

- Use a hammer to lightly tap the guide pins into the guide pin holes on the armature plates.

- Depending on the type of door being protected, drill holes according to the diagrams below:
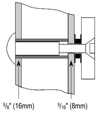
Hollow Metal Door
Drill two 5/16″ (8mm) dia. holes through the armature-plate side of the doors for the armature screws. Then drill two 5/8″ (16mm) dia. holes for sexnut screws on the opposite side of the doors.
Reinforced Door
1/4″ (6.8mm) for M8x1.25 thread Drill two 1/4″ (6.8mm) dia. and 1″ (25mm) deep hole, tap for M8x1.25 thread on each door.
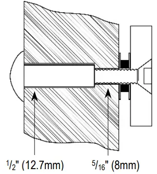
Solid Core
Drill two 5/16″ (8mm) dia. holes on the doors for the armature screws, and drill two 1/2″ (12.7mm) dia. and 1″ (25mm) deep hole for the sexnut screws. - Put a rubber washer between the two metal washers and place them over the armature screw between the armature plates and the doors. This allows the plates to pivot around the screw to compensate for door misalignment.

- Tighten the armature screws enough so that the armature plates can withstand a break-in attempt, but loose enough so that the armature plates can pivot slightly. Make sure the antispin guide pins are in the two guide pin holes.

TIP: Use a thread-locking compound on the armature screws to ensure a long lasting installation. - Screw the four short self-tapping screws through the mounting plate’s slotted holes, but do not overtighten them. Keeping them loose will allow for adjustment of the plate left or right so that the mounting plate and the armature plates form a 90-degree angle. See the diagram below.

- Once the position of the mounting plate is correct, use the eight long self-tapping screws to permanently mount the mounting plate.

- Drill the cable access holes. Run the power leads through the cable access holes in the mounting plate and through the holes in the door frame.

- Remove the cover from the front of the electromagnets. Run the power leads through the large cable access holes.

- Push the electromagnet against the mounting plate so the ends are flush with each other. Use the Allen wrench to screw the hex-head mounting screws through the bottom of the electromagnets into the mounting plate.

- Cut the wires so they are long enough to connect with the terminal block. Set the voltage using the selection jumpers based on your input voltage.

CAUTION: The two electromagnets each have their own voltage selection jumpers. - Connect the power wires according to the wiring diagram on page 7. Test the unit. Then replace the front cover and install the hex-head tamper caps (x4).

NOTE: THIS SHOULD BE THE VERY LAST STEP, AS ONCE THE TAMPER CAPS ARE IN PLACE THEY ARE= VERY DIFFICULT TO REMOVE.
Maximum Distance from Power Source to Electromagnetic Lock
For a complete chart, please visit www.seco-larm.com
12VDC Minimum Wire Gauge
| Wire Length | 25ft. | 50ft. | 75ft. | 100ft. | 150ft. | 200ft. | 250ft. | 300ft. | 400ft. | 500ft. | 1000ft. |
| Wire Gauge@500mA | 20 | 18 | 18 | 18 | 16 | 14 | 14 | 12 | 10 | — | — |
24VDC Minimum Wire Gauge
| Wire Length | 25ft. | 50ft. | 75ft. | 100ft. | 150ft. | 200ft. | 250ft. | 300ft. | 400ft. | 500ft. | 1000ft. |
| Wire Gauge@250mA | 22 | 22 | 22 | 20 | 18 | 18 | 16 | 16 | 14 | 14 | 14 |
Wiring Diagram
NOTES
Connect switching devices like push-to-exit switches between the power source and the positive terminal of the lock. Connecting them to the negative terminal may cause a delay in unlocking.
A fail-safe lock unlocks when power is lost so that, in case of an emergency such as a fire in the building, the fail-safe lock will automatically unlock allowing personnel to escape quickly.
NOTE: All field wiring must be within the protected area.
Troubleshooting
Doors lock, but can easily be forced open
- Make sure the electromagnet and armature plates are properly aligned.
- Make sure the contact surfaces of the electromagnet and armature plates are clean and free from rust.
- Check the power leads with a meter, and make sure 12VDC or 24VDC is present.
- Make sure the rubber washer is installed and free from damage.
Delay in door releasing
- The electromagnet is fitted with a metal oxide varistor to prevent interference, so do not install a second diode.
- Ensure that the control device is connected between the power source and the positive terminal of the lock
IMPORTANT WARNING: Incorrect mounting which leads to exposure to rain or moisture inside the enclosure could cause a dangerous electric shock, damage the device, and void the warranty. Users and installers are responsible for ensuring that this product is properly installed and sealed.
IMPORTANT: Users and installers of this product are responsible for ensuring that the installation and configuration of this product complies with all national, state, and local laws and codes. SECO-LARM will not be held responsible for the use of this product in violation of any current laws or codes.
California Proposition 65 Warning: These products may contain chemicals which are known to the State of California to cause cancer and birth defects or other reproductive harm. For more information, go to www.P65Warnings.ca.gov.
WARRANTY This SECO-LARM product is warranted against defects in material and workmanship while used in normal service for a period of one (1) year from the date of sale to the original consumer customer. SECO-LARM’s obligation is limited to the repair or replacement of any defective part if the unit is returned, transportation prepaid, to SECO-LARM.
This Warranty is void if damage is caused by or attributed to acts of God, physical or electrical misuse or abuse, neglect, repair, or alteration, improper or abnormal usage, or faulty installation, or if for any other reason SECO-LARM determines that such equipment is not operating properly as a result of causes other than defects in material and workmanship.
The sole obligation of SECO-LARM, and the purchaser’s exclusive remedy, shall be limited to replacement or repair only, at SECO-LARM’s option. In no event shall SECO-LARM be liable for any special, collateral, incidental, or consequential personal or property damages of any kind to the purchaser or anyone else.
NOTICE: The SECO-LARM policy is one of continual development and improvement. For that reason, SECO-LARM reserves the right to change specifications without notice. SECO-LARM is also not responsible for misprints. All trademarks are the property of SECO-LARM U.S.A., Inc. or their respective owners. Copyright © 2021 SECO-LARM U.S.A., Inc. All rights reserved.
16842 Millikan Avenue, Irvine, CA 92606
Website: www.seco-larm.com
Phone: (949) 261-2999 | (800) 662-0800
E-mail: [email protected]
![]()





































