THE HOME DEPOT 3 Light White and Gold Metal Matte Painting Cage Decorative Chandelier

Product Information
The item number for this product is LPP-20722-3. Unfortunately, we cannot provide any further information about the product without knowing what it is. Please refer to the label or packaging for more details.
Product Usage Instructions
As this is an assembly instruction, please follow the steps below to assemble the product
- Open the package and lay out all the parts.
- Refer to the instruction manual and identify each part.
- Follow the step-by-step instructions to assemble the product.
- Once assembled, make sure all screws and bolts are tightened securely.
- Test the product to ensure it is stable and safe to use.
If you have any questions or concerns during the assembly process, please do not hesitate to contact our customer service team for assistance.
ASSEMBLY INSTRUCTIONS
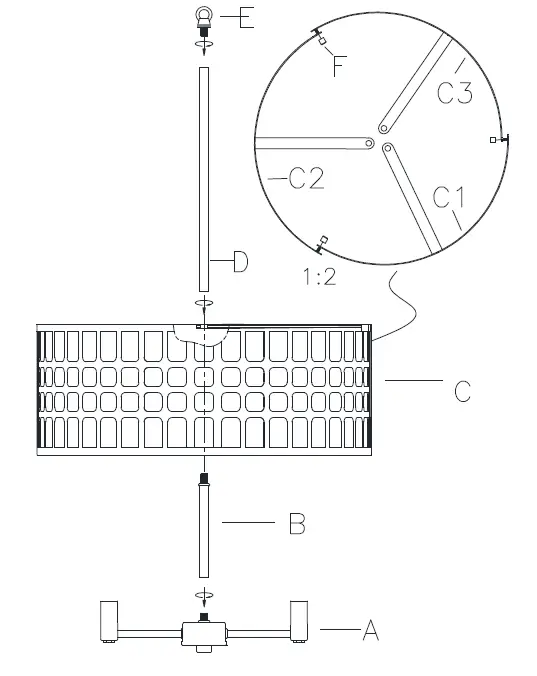
B → A → C (C1,C2,C3) → F → D → E
Use 60Wx3 Max type B10/T8 BULB (Bulb not included)
- Carefully unpack and identify all parts referring to the illustration for parts identification.
- Turn the power to the installation point OFF.
- Align one end of the hole of the frame (C1) with one end of screw at frame (C2), securing with small finial (F). Repeat the process for the remaining frame (C2), (C3) as shown in the diagram.
- Unravel the supply power and ground wires and pass them through the center holes of short stem (B), shade (C), long stem (D) and loop (E).
- Thread the short stem (B) onto the protruding nipple of the socket assembly (A).
- Carefully place shade (C) onto the nipple of the short stem (B), securing it with a long stem (D). Hand tightens until snug.
- Install the loop (E) to the long stem (D).
- Referring to the installation instruction with the product for the wiring and installation.
- Install proper bulbs (not provided) to the sockets referring to the marking and/or labels on the fixture for maximum wattage.
- Restore the power to the installation point ON.
- Assembly is complete. Retain this sheet for future reference.
MOUNTING AND WIRING INSTRUCTIONS
- Fasten the mounting strap to the junction box with machine screws found in junction box. The mounting strap must be used to provided proper grounding of fixture.
- Turn nipple into a threaded hole in the mounting strap. Turn hex nut onto nipple. Remove knurled nut from hang er loop. Turn hanger loop onto nipple.Place canopy up against ceiling and adjust nipple to leave about 3/8″ pro truding through canopy. Remove canopy and tightly lock nipple in place by turning hex nut up against the mounting strap.
- Assemble one end of the chain to the fixture loop by opening chain link and closing it around loop. NOTE Never twist chain link to open. Chain link must be opened in a “C” shape.
- Weave the two conductor cords and bare ground wire through the chain about every third link. Slide knurled nut down chain. Slide canopy down chain.
- Adjust chain length and wire lead length at this time for desired hanging height of fixture. Leave at least 12″ of leads beyond end of chain.
- Open the last chain link then lift the chain and fixture up to ceiling and hook open link through hanger loop. Close chain link.
- Insert wire leads through the hole in the hanger loop and nipple into junction box. Pull leads down out of junction box for easier wiring. Connect the IDENTIFIED lead (white, tinned or ribbed – if both conductors are the same color, feel for the ribbed edge that runs the entire length of ine side) to the WHITE house wire. Connect the UNIDENTIFIED lead to the BLACK house wire. Turn the green ground screw into the hole in the mounting strap and wrap the bare ground wire around screw one full turn and tighten screw. Connect remaining end of bare wire to the house ground wire (bare). If the junction box itself is metal and is already grounded, attachment to the green screw only is sufficient. Always use wire connectors that are UL approved for the size and number of wires to be connected. Caution Never connect the bare ground wire to the black-white house wires.
- or hite Place all house wires. and connectors back into the junction box making sure there are no loose wire connectors or bare leads. Slide canopy up to ceiling and hold in place by turning knurled nut onto hanger loop.
- (For fixtures with glass shade only) Your glass shade is held in place either by thumbscrews or by a spin-on ring on to socket holder screwed
- Lamp and onto fixture a tighten with threaded proper thumbscrews socket. size or Place bulbs spin in glass ring onto accordance shade(s) socket. withinto the wattage label found on the fixture.

THE HOME DEPOT 3 Light White and Gold Metal Matte Painting Cage Decorative Chandelier


















